GM Service Manual Online
For 1990-2009 cars only

Removal Procedure

  1. Relief the fuel pressure. Refer to Fuel Pressure Relief .
  2. Drain the fuel tank. Refer to Fuel Tank Draining .
  3. Remove the rear seat cushion.

  4. Object Number: 1579043  Size: SH
  5. Remove the four screws and the service hole cover (1).
  6. Disconnect the fuel sender assembly electrical connector.

  7. Object Number: 1579044  Size: SH
  8. Raise and suitably support the vehicle. Refer to Lifting and Jacking the Vehicle in General Information.
  9. Remove the two bolts (1), two nuts and the resonator intermediate pipe assembly (2) from the three way catalytic converter (TWC) (3).
  10. Remove the two bolts (2) and the resonator intermediate pipe assembly from the muffler assembly.

  11. Object Number: 1579046  Size: SH
  12. Remove the three bolts (4) and the exhaust heat shield (1) from the underbody.
  13. Remove the two bolts and the parking brake cable from the underbody.
  14. Remove the one bolt, one clamp and the fuel filler hose from the fuel tank (1)
  15. Remove the one bolt, one clamp and the fuel breather hose from the fuel tank.
  16. Remove the one nut and the fuel feed hose from the fuel feed pipe.

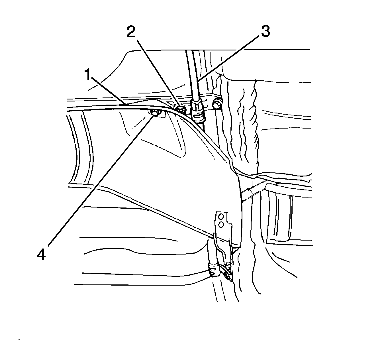
  17. Object Number: 1579048  Size: SH
  18. Remove the one clamp and the fuel return hose from the fuel return pipe at the fuel tank.
  19. Remove the one clamp and the fuel vapor hose from the fuel vapor pipe at the fuel tank.
  20. Remove the four bolts and the fuel tank from the vehicle.

Dissemble Procedure

  1. Remove the eight bolts and the fuel sender assembly from the fuel tank.
  2. Remove the three bolts, the fuel vapor hose/pipe and the fuel tank vent valve from the fuel tank.
  3. Remove the five bolts, fuel filler neck and the gasket from the fuel tank.

Assemble Procedure

  1. Install a new gasket on he fuel filler neck.
  2. Install the fuel filler neck to the fuel tank; secure with five bolts.
  3. Tighten
    Tighten the fuel filler neck bolts to 3.4 N·m (30 lb in).

  4. Install the fuel vapor hose and fuel tank vent valve to the fuel tank; secure with three bolts.
  5. Tighten
    Tighten the fuel vapor pipe-to-fuel tank bolts 4 N·m (35 lb in).

  6. Install the fuel sender assembly to the fuel tank; secure with eight bolts.
  7. Tighten
    Tighten the fuel sender assembly bolts 4 N·m (35 lb in).

Installation Procedure


    Object Number: 1579048  Size: SH
  1. Install the fuel tank (1) to the underbody; secure with four bolts.
  2. Tighten
    Tighten the fuel tank mounting bolts to 39 N·m (29 lb ft).

  3. Install the fuel vapor hose (4) to the fuel vapor pipe; secure with one clamp.
  4. Install the fuel return hose (2) to the fuel return pipe; secure with one clamp.
  5. Install the fuel feed pipe (3) to the fuel feed pipe; secure with one nut.
  6. Tighten
    Tighten the fuel feed pipe connection nuts to 30 N·m (22 lb ft).


    Object Number: 1579046  Size: SH
  7. Install the fuel breather hose to the fuel tank; secure with one bolt and one clamp.
  8. Tighten
    Tighten the fuel breather hose bolt to 20 N·m (15 lb ft).

  9. Install the fuel filler hose to the fuel filler tank; secure with one bolt and one clamp.
  10. Tighten
    Tighten the fuel filler hose bolt to 20 N·m (15 lb ft).

  11. Install the parking brake cables (3) to underbody; secure with two bolts.
  12. Tighten
    Tighten the parking brake cable bolts to 30 N·m (22 lb ft).

  13. Install the exhaust heat shield (1) to underbody; secure with three bolts (4).
  14. Tighten
    Tighten the exhaust heat shield mounting bolts to 5.4 N·m (48 lb in).


    Object Number: 1579045  Size: SH
  15. Install the resonator intermediate pipe assembly (1) to muffler assembly; secure with two bolts (2).
  16. Tighten
    Tighten the resonator intermediate pipe assembly-to-TWC 19 N·m (14 lb ft).


    Object Number: 1579044  Size: SH
  17. Install the resonator intermediate pipe (2) assembly-to-TWC (3); secure with two bolts and two nuts.
  18. Tighten
    Tighten the resonator intermediate pipe assembly-to-TWC nuts and bolts to 43 N·m (32 lb ft).

  19. Lower the vehicle.

  20. Object Number: 1579043  Size: SH
  21. Connect the fuel sender assembly electrical connector.
  22. Install the floor service hole cover (1); secure with four screws.
  23. Install the rear seat cushion to the vehicle.