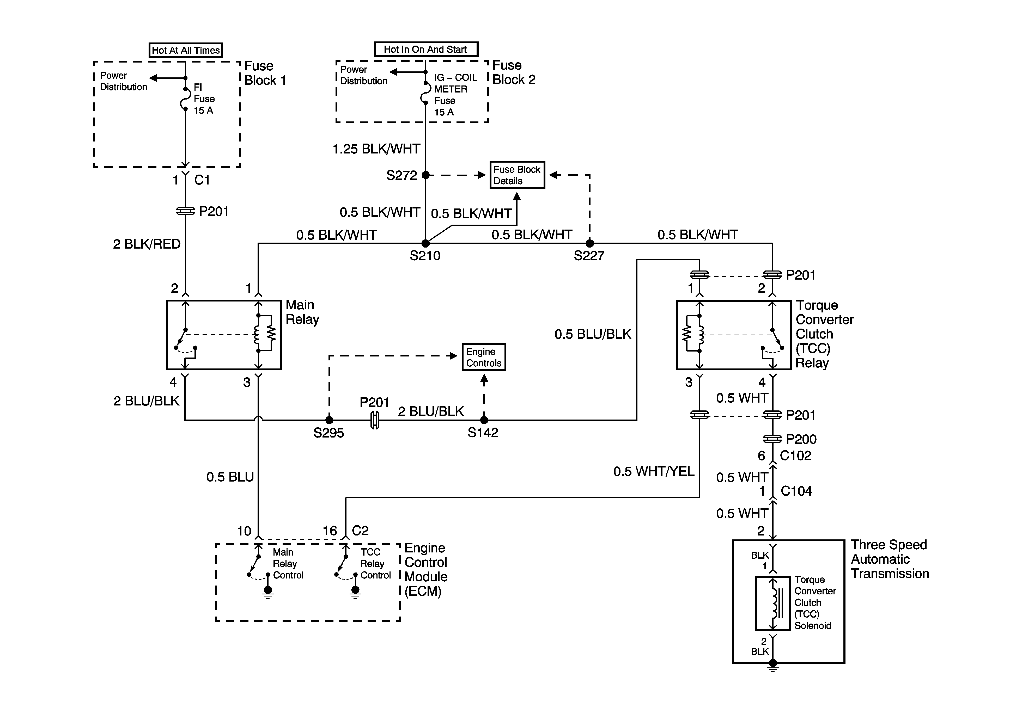
GM Service Manual Online
For 1990-2009 cars only
Makes
🢒
Geo
🢒
1996
🢒
Tracker - 2WD
🢒
Transmission/Transaxle
🢒
Automatic Transmission - 3L30
🢒 Automatic Transmission Controls Schematics
PCM, TCC Solenoid, TCC Relay, Fuse Block 1 and Fuse Block 2