Caution: Unless directed otherwise, the ignition and start switch must be in the OFF or LOCK position, and all electrical loads must be OFF before servicing any electrical component. Disconnect the negative battery cable to prevent an electrical spark should a tool or equipment come in contact with an exposed electrical terminal. Failure to follow these precautions may result in personal injury and/or damage to the vehicle or its components.
| • | The two screws |
| • | The two plastic retaining clips |
| • | The console box |
| 3.1. | The six screws |
| 3.2. | The steering column upper cover |
| 3.3. | The steering column lower cover |
Notice: Use the correct fastener in the correct location. Replacement fasteners must be the correct part number for that application. Fasteners requiring replacement or fasteners requiring the use of thread locking compound or sealant are identified in the service procedure. Do not use paints, lubricants, or corrosion inhibitors on fasteners or fastener joint surfaces unless specified. These coatings affect fastener torque and joint clamping force and may damage the fastener. Use the correct tightening sequence and specifications when installing fasteners in order to avoid damage to parts and systems.
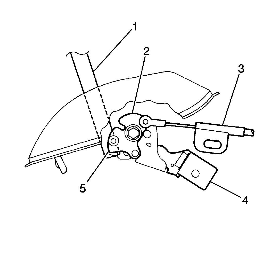
Important: After tightening the interlock cable nut, make sure that the ignition switch can be turned from ACC to LOCK and the key can be removed from the ignition with the manual selector lever shifted to the PARK position. Verify also that with the manual selector lever in any position other than PARK, the ignition switch CANNOT be turned from ACC to LOCK.
Tighten
Tighten the interlock cable nut to 13 N·m
(115 lb ft).