GM Service Manual Online
For 1990-2009 cars only

Tools Required

    • J 8433 Two Jaw Puller
    • J 41816-2 Crankshaft End Protector
    • J 41558 Crankshaft Sprocket Remover
    • J 41665 Crankshaft Balancer and Sprocket Installer

Removal Procedure


    Object Number: 63263  Size: SH
  1. Remove the oil pump. Refer to Oil Pump, Screen, and Crankshaft Oil Deflector Replacement .
  2. Rotate the crankshaft until the timing marks on the crankshaft and the camshaft sprockets are aligned.
  3. Notice: Do not turn the crankshaft assembly after the timing chain has been removed in order to prevent damage to the piston assemblies or the valves.

  4. Remove the camshaft sprocket bolts.
  5. Remove the camshaft sprocket and timing chain.

  6. Object Number: 63189  Size: SH
  7. Use the J 8433 , the J 41816-2 and the J 41558 in order to remove the crankshaft sprocket.

  8. Object Number: 156150  Size: SH
  9. Remove the crankshaft sprocket.

  10. Object Number: 156149  Size: SH
  11. Remove the crankshaft sprocket key, if required.
  12. Clean and inspect the timing chain and sprockets. Refer to Camshaft Timing Chain and Sprocket Cleaning and Inspection .

Installation Procedure


    Object Number: 156149  Size: SH
  1. Install the key into the crankshaft keyway, if previously removed.

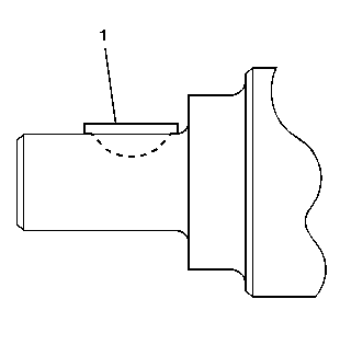
  2. Object Number: 490871  Size: SH
  3. Tap the key (1) into the keyway until both ends of the key bottom onto the crankshaft.

  4. Object Number: 156150  Size: SH
  5. Install the crankshaft sprocket onto the front of the crankshaft. Align the crankshaft key with the crankshaft sprocket keyway.

  6. Object Number: 63199  Size: SH
  7. Use the J 41665 in order to install the crankshaft sprocket.
  8. Install the sprocket onto the crankshaft until fully seated against the crankshaft flange.

  9. Rotate the crankshaft sprocket until the alignment mark is in the 12 o'clock position.

  10. Object Number: 63263  Size: SH

    Important: 

       • Properly locate the camshaft sprocket locating pin with the camshaft sprocket alignment hole.
       • The sprocket teeth and timing chain must mesh.
       • The camshaft and the crankshaft sprocket alignment marks MUST be aligned properly.
            Locate the camshaft sprocket alignment mark in the 6 o'clock position.

  11. Install the camshaft sprocket and timing chain.

  12. Object Number: 156158  Size: SH
  13. If necessary, rotate the camshaft or crankshaft sprockets in order to align the timing marks.
  14. Notice: Use the correct fastener in the correct location. Replacement fasteners must be the correct part number for that application. Fasteners requiring replacement or fasteners requiring the use of thread locking compound or sealant are identified in the service procedure. Do not use paints, lubricants, or corrosion inhibitors on fasteners or fastener joint surfaces unless specified. These coatings affect fastener torque and joint clamping force and may damage the fastener. Use the correct tightening sequence and specifications when installing fasteners in order to avoid damage to parts and systems.

  15. Install the camshaft sprocket bolts.
  16. Tighten
    Tighten the camshaft sprocket bolts to 35 N·m (26 lb ft).

  17. Install the oil pump. Refer to Oil Pump, Screen, and Crankshaft Oil Deflector Replacement .