GM Service Manual Online
For 1990-2009 cars only
Figure 1:

Clearance Lamp-LR


Object Number: 825915  Size: MF
(1)Clearance Lamp-LR
(2)Clearance Lamp Connector-LR
(3)Body Harness
Figure 2:

Courtesy Lamp-Left Front Door


Object Number: 827509  Size: MF
(1)Left Front Door
(2)Courtesy Lamp-Left Front Door
(3)Courtesy Lamp-Left Front Door Connector
Figure 3:

Courtesy/Reading Lamps-Front/Center/Rear


Object Number: 827035  Size: MF
(1)Courtesy/Reading Lamp-Center
(2)Courtesy/Reading Lamp-Right Front
(3)Courtesy/Reading Lamp-Left Front
(4)Overhead Console
(5)Courtesy/Reading Lamp-Rear
Figure 4:

Courtesy Lamp-Left Rear Door


Object Number: 827741  Size: MF
(1)Door-Left Rear
(2)Courtesy Lamp-Left Rear Door Connector
(3)Courtesy Lamp-Left Rear Door
Figure 5:

Courtesy Lamp-Right B Pillar


Object Number: 825591  Size: MF
(1)Courtesy Lamp-Right B Pillar
(2)B Pillar Trim Panel
(3)Body Harness
Figure 6:

Daytime Running Lamp (DRL)-Left


Object Number: 826376  Size: MF
(1)Front Bumper
(2)Forward Lamp Harness
(3)DRL-Left
Figure 7:

Footwell Courtesy Lamp-Left


Object Number: 819776  Size: LF
(1)BCM-C1
(2)BCM-C2
(3)BCM-C4
(4)BCM-C3
(5)BCM-C5
(6)Body Control Module (BCM)
(7)Footwell Courtesy Lamp-Left
(8)Data Link Connector (DLC)
(9)Fuse Block-I/P-C1
(10)Fuse Block-I/P Center Block
(11)Splice Pack SP205
Figure 8:

Footwell Courtesy Lamp-Right


Object Number: 820125  Size: MF
(1)Junction Block-IP-C1
(2)IP Harness
(3)Footwell Courtesy Lamp Socket-Right
(4)Footwell Courtesy Lamp Bulb-Right
Figure 9:

Headlamp-High Beam/Low Beam-Left and Park/Turn Signal Lamp-Left


Object Number: 826183  Size: MF
(1)Headlamp-High Beam/Low Beam-Left
(2)Forward Lamp Harness
(3)Park/Turn Signal Lamp-Left
Figure 10:

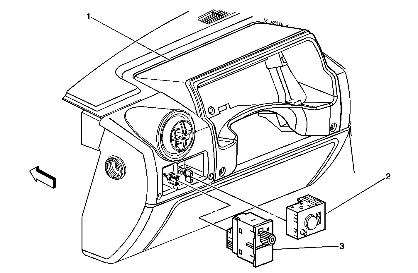
Headlamp and Panel Dimmer Switch


Object Number: 819766  Size: MF
(1)Instrument Panel
(2)Headlamp and Panel Dimmer Switch
(3)Rear Wiper/Washer Switch
Figure 11:

Junction Block-Rear


Object Number: 828298  Size: MF
(1)Junction Block-Rear
(2)Junction Block-Rear - C1-(Chassis Harness)
(3)Junction Block-Rear-C2-(Left Tail Lamp Assembly)
(4)Chassis Harness
(5)Junction Block-Rear - C3-(Right Tail Lamp assembly)
Figure 12:

I/P Compartment Lamp


Object Number: 820096  Size: MF
(1)I/P Compartment Lamp Connector
(2)I/P Compartment Lamp
Figure 13:

Liftgate Ajar Switch-Left/Right


Object Number: 827705  Size: LF
(1)Center High Mounted Stop Lamp (CHMSL) Connector
(2)Rear Window Defogger Grid Connector
(3)Rear Window Defogger Grid Connector
(4)Splice S900
(5)Rear Window Wiper Module - w/Motor
(6)Door Lock Actuator-Liftgate
(7)Liftgate Ajar Switch-Left
(8)Liftgate Ajar Switch-Right
(9)Splice S902
(10)Splice S901
Figure 14:

Marker Lamp-LF


Object Number: 826379  Size: MF
(1)Marker Lamp Connector-LF
(2)Marker Lamp-LF
Figure 15:

Marker Lamp-RR


Object Number: 825863  Size: MF
(1)RH Body Inner Panel
(2)Marker Lamp-RR
(3)Forward Lamp Harness
(4)Marker Lamp Connector-RR
Figure 16:

Off Road Lamps - Roof


Object Number: 1201199  Size: LF
(1)Off Road Lamps - Switch
(2)Overhead Console w/Front Courtesy/Reading Lamps (CF5)
(3)Off Road Lamps - Roof
(4)Relay Block - I/P
(5)Relay Block - I/P C7 (Off Road Lamp Harness)
(6)Off Road Lamps Relays
(7)Instrument Panel Rail
Figure 17:

Roof Lamps-Center Front and Clearance Lamp-LF


Object Number: 827173  Size: LF
(1)Clearance Lamp-LF
(2)Roof Marker Lamp Harness
(3)Clearance Lamp Connector-LF
(4)Cell Phone/GPS Antenna
(5)Roof Lamp-Center Front
(6)Roof Lamp-Center Front
(7)Splice S345
(8)Roof Lamp-Center Front
(9)Splice S303
Figure 18:

Roof Lamps-Center Rear,Center High Mounted Stop Lamp (CHMSL) and License Lamps


Object Number: 827679  Size: LF
(1)Liftgate Harness
(2)C420
(3)CHMSL
(4)Roof Lamps-Center Rear
(5)License Lamp
(6)License Lamp
Figure 19:

Stop Lamp Switch


Object Number: 829262  Size: MF
(1)Brake Pedal Assembly
(2)Stop Lamp Switch
Figure 20:

Tail Lamp Assembly-LH


Object Number: 874340  Size: MF
(1)Junction Block-Rear
(2)Junction Block-Rear-C2
(3)Junction Block-Rear-C3
(4)Tail Lamp Harness-LH
(5)Tail Lamp Assembly
Figure 21:

Turn Signal/Multifunction Switch


Object Number: 851228  Size: MF
(1)Horn Switch
(2)Steering Wheel Controls
(3)Turn Signal/MultiFunction Switch
Figure 22:

Underhood Lamp (If Equipped)


Object Number: 826382  Size: MF
(1)Underhood Lamp
(2)Underhood Lamp Connector
(3)Forward Lamp Harness
Figure 23:

Vanity Mirror Lamps


Object Number: 826774  Size: MF
(1)Inside Rearview Mirror Connector
(2)Vanity Mirror Lamp Connector-Left
(3)Vanity Mirror Lamp Connector-Right