GM Service Manual Online
For 1990-2009 cars only

Tools Required

    • J 25034-C Power Steering Pump Pulley Remover
    • J 25033-C Power Steering Pump Pulley Installer

Removal Procedure

  1. Remove the upper fan shroud. Refer to Fan Shroud Replacement in Engine Cooling.
  2. Remove the drive belt. Refer to Drive Belt Replacement - Accessory in Engine Mechanical.

  3. Object Number: 649303  Size: SH
  4. Remove the power steering pump pulley using the J 25034-C .

Installation Procedure


    Object Number: 643361  Size: SH
  1. Place the power steering pump pulley on the end of the power steering pump shaft.
  2. Install the power steering pump pulley using J 25033-C .

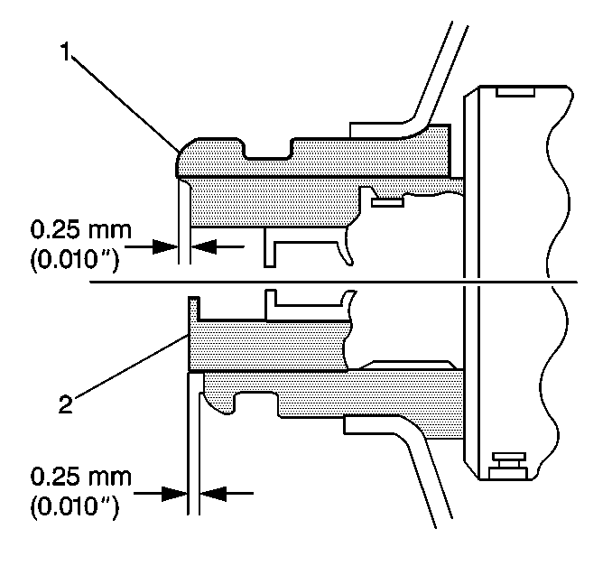
  3. Object Number: 245012  Size: SH
  4. Ensure that the power steering pump pulley is flush against the power steering pump shaft, with an allowable variance of 0.25 mm (0.010 in).
  5. Install the drive belt. Refer to Drive Belt Replacement - Accessory in Engine Mechanical.
  6. Install the upper fan shroud. Refer to Fan Shroud Replacement in Engine Cooling.