GM Service Manual Online
For 1990-2009 cars only

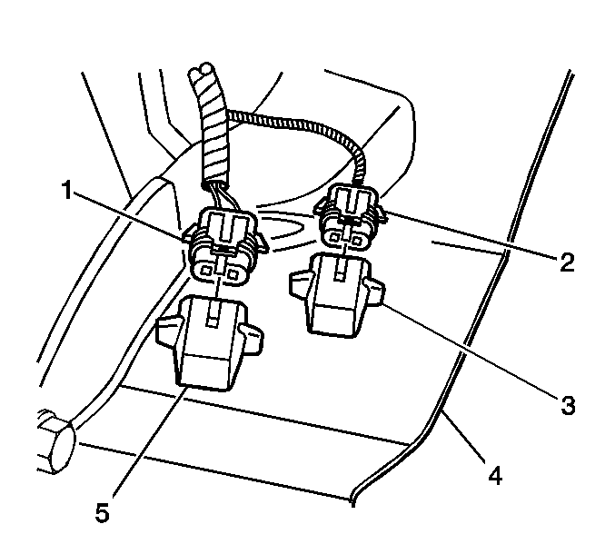
Removal Procedure


    Object Number: 828241  Size: SH
  1. Disconnect the electrical connector (1) from the ambient air temperature sensor (5).
  2. Remove the ambient air temperature sensor (5) from the vehicle (4).

Installation Procedure


    Object Number: 828241  Size: SH
  1. Install the ambient air temperature sensor (5) to the vehicle (4).
  2. Connect the electrical connector (1) to the ambient air temperature sensor (5).