GM Service Manual Online
For 1990-2009 cars only
Table 1: Door Latch Assemby-Driver
Table 2: Door Latch Assembly-Front Passenger
Table 3: Door Latch Assembly-LR
Table 4: Door Latch Assembly-RR
Table 5: Door Lock Actuator-Liftgate
Table 6: Door Lock Switch-Rear
Table 7: Driver Door Module (DDM)-C1
Table 8: Driver Door Module (DDM)-C2
Table 9: Driver Door Module (DDM)-C3
Table 10: Driver Door Module (DDM)-C4
Table 11: Driver Door Module (DDM)-C5
Table 12: Front Passenger Door Module (FPDM)-C1
Table 13: Front Passenger Door Module (FPDM)-C2
Table 14: Front Passenger Door Module (FPDM)-C3
Table 15: Front Passenger Door Module (FPDM)-C4
Table 16: Front Passenger Door Module (FPDM)-C5
Table 17: Liftgate Ajar Switch-Left
Table 18: Liftgate Ajar Switch-Right
Table 19: Outside Rear View Mirror-Driver (Driver Door Module (DDM)-C3)
Table 20: Outside Rear View Mirror-Driver (Driver Door Module (DDM)-C4)
Table 21: Outside Rear View Mirror-Passenger (Front Passenger Door Module (FPDM)-C3)
Table 22: Outside Rear View Mirror-Passenger (Front Passenger Door Module (FPDM)-C4)
Table 23: Window Motor-Driver
Table 24: Window Motor-Front Passenger
Table 25: Window Motor-LR
Table 26: Window Motor-RR
Table 27: Window Switch-LR
Table 28: Window Switch-RR

Door Latch Assemby-Driver


Object Number: 845631  Size: CH

Connector Part Information

    • 10768367
    • 10-Way F SLD AMP (BLK)

Pin

Wire Color

Circuit No.

Function

1

--

--

Not Used

2

TAN

294

Door Lock Actuator Unlock Control

3

GRY

295

Door Lock Actuator Lock Control

4-5

--

--

Not Used

6

GRY/BLK

745

Left Front Door Ajar Switch Signal

7

--

--

Not Used

8

BRN

1183

Left Front Door Switch Low Reference

9

LT GRN

262

Driver Door Key Switch Signal

10

--

--

Not Used

Door Latch Assembly-Front Passenger


Object Number: 845631  Size: CH

Connector Part Information

    • 10768367
    • 10-Way F AMP SLD (BLK)

Pin

Wire Color

Circuit No.

Function

1

BLK/WHT

746

Right Front Door Ajar Switch Signal

2

--

--

Not Used

3

DK GRN

1178

Right Front Door Switch Low Reference

4

LT GRN

265

Passenger Door Key Switch Signal

5-6

--

--

Not Used

7

TAN

294

Door Lock Actuator Unlock Control

8

GRY

295

Door Lock Actuator Lock Control

9-10

--

--

Not Used

Door Latch Assembly-LR


Object Number: 845632  Size: CH

Connector Part Information

    • 10768369
    • 6-Way F SLD AMP (BLK)

Pin

Wire Color

Circuit No.

Function

1

--

--

Not Used

2

TAN

294

Door Lock Actuator Unlock Control

3

GRY

295

Door Lock Actuator Lock Control

4

LT BLU/BLK

747

Left Rear Door Ajar Switch Signal

5

--

--

Not Used

6

BLK

1150

Ground

Door Latch Assembly-RR


Object Number: 845632  Size: CH

Connector Part Information

    • 10768369
    • 6-Way F SLD AMP (BLK)

Pin

Wire Color

Circuit No.

Function

1

LT GRN/BLK

748

Right Rear Door Ajar Switch Signal

2

--

--

Not Used

3

BLK

1250

Ground

4

--

--

Not Used

5

TAN

294

Door Lock Actuator Unlock Control

6

GRY

295

Door Lock Actuator Lock Control

Door Lock Actuator-Liftgate


Object Number: 684799  Size: CH

Connector Part Information

    • 12077900
    • 2-Way F Metri-Pack 280 Series Sealed (BLK)

Pin

Wire Color

Circuit No.

Function

A

TAN

294

Door Lock Actuator Unlock Control

B

GRY

295

Door Lock Actuator Lock Control

Door Lock Switch-Rear


Object Number: 62469  Size: CH

Connector Part Information

    • 12064998
    • 8-Way F Metri-Pack 280 Series (BLK)

Pin

Wire Color

Circuit No.

Function

A

--

--

Not Used

B

BLK

2351

Ground

C

--

--

Not Used

D

LT BLU

195

Rear Door Lock Switch Signal

E-G

--

--

Not Used

H

WHT

194

Rear Door Unlock Switch Signal

Driver Door Module (DDM)-C1


Object Number: 845628  Size: CH

Connector Part Information

    • 15393410
    • 4-Way F AMP 2.8mm Sealed (BLK)

Pin

Wire Color

Circuit No.

Function

1

BRN

165

Power Window Motor Left Front Down Control

2

ORN

1240

Battery Positive Voltage

3

DK BLU

164

Power Window Motor Left Front Up Control

4

BLK

1050

Ground

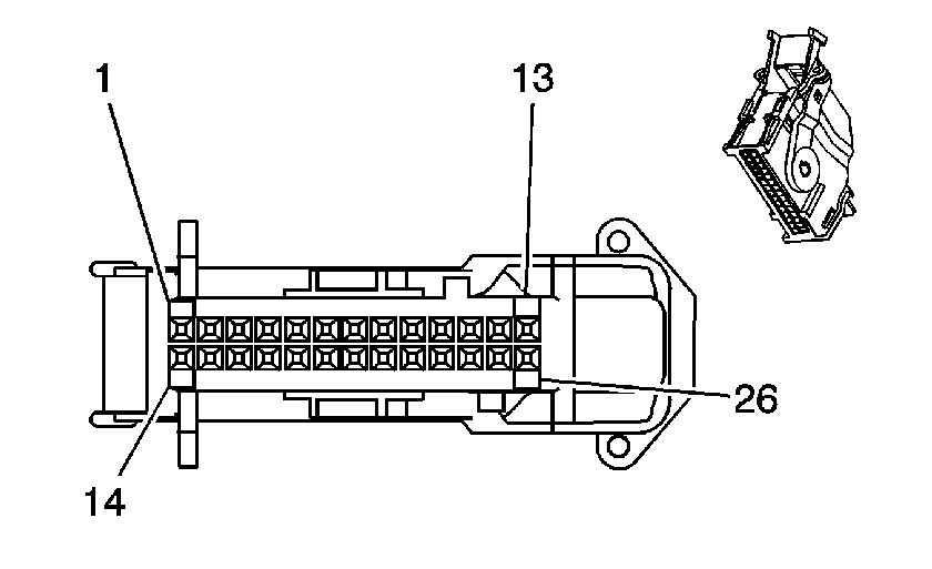
Driver Door Module (DDM)-C2


Object Number: 966311  Size: CH

Connector Part Information

    • 15398841
    • 26-Way F AMP Lever Assist (BLK)

Pin

Wire Color

Circuit No.

Function

1-2

--

--

Not Used

3

BRN

1183

Left Front Door Switch Low Reference

4

DK BLU

660

Left Front Door Courtesy Lamp Control

5-9

--

--

Not Used

10

GRY

1690

Automatic Day/Night Mirror Signal

11

--

--

Not Used

12

PNK

1691

Automatic Day/Night Mirror Low Reference

13

DK BLU/WHT

149

Courtesy Lamp-Left Front Door Supply Voltage

14

ORN

4140

Battery Positive Voltage

15

LT GRN

262

Driver Door Key Switch Signal

16-17

--

--

Not Used

18

GRY/BLK

745

Left Front Door Ajar Switch Signal

19

--

--

Not Used

20

TAN

294

Door Lock Actuator Unlock Control

21

GRY

295

Door Lock Actuator Lock Control

22

BRN

1046

DDM Class 2 Serial Data

23-26

--

--

Not Used

Driver Door Module (DDM)-C3


Object Number: 850873  Size: CH

Connector Part Information

    • 6383393-7
    • 10-Way F 0.64mm Unsealed AMP (BLU)

Pin

Wire Color

Circuit No.

Function

1-2

--

--

Not Used

3

BLK

--

Driver Mirror Heating Element Low Reference

4

PPL

--

Mirror Sensor Low Reference

5-6

--

--

Not Used

7

GRY

--

Automatic Day/Night Mirror Signal

8

PNK

--

Automatic Day/Night Mirror Low Reference

9-10

--

--

Not Used

Driver Door Module (DDM)-C4


Object Number: 850870  Size: CH

Connector Part Information

    • 6383393-5
    • 10-Way F 0.64mm Unsealed AMP (BLK)

Pin

Wire Color

Circuit No.

Function

1

YEL

--

Driver Folding Mirror Motor Extend Control

2

ORN

--

Mirror Heating Element Supply Voltage

3

RED

--

Driver Mirror Horizontal Position Sensor Signal

4

DK GRN

--

5 Volt Reference

5

DK BLU

--

Driver Mirror Vertical Position Sensor Signal

6

LT BLU

--

Driver Folding Mirror Motor Retract Control

7

YEL

--

Driver Mirror Right/Down Motors Common

8

LT BLU

--

Driver Mirror Motor Right Control

9

LT GRN

--

Driver Mirror Motor Down Control

10

--

--

Not Used

Driver Door Module (DDM)-C5


Object Number: 849815  Size: CH

Connector Part Information

    • 6383393-4
    • 12-Way F AMP 0.64mm Unsealed (GRN)

Pin

Wire Color

Circuit No.

Function

1

WHT/BLK

--

Medium Heat Indicator Control

2

YEL

--

Low Heat Indicator Control

3

GRY

--

Back Only Select

4

LT BLU

--

Memory/Heated Seat Switch Illumination

5

PNK

--

Memory 2 Switch Signal

6

--

--

Not Used

7

DK GRN

--

High Heat Indicator Control

8

BLK

--

Back Only Indicator

9

DK BLU

--

Back and Cushion Select

10

RED

--

Memory 1 Switch Signal

11

BRN

--

Memory/Heated Switch Supply Voltage

12

--

--

Not Used

Front Passenger Door Module (FPDM)-C1


Object Number: 845628  Size: CH

Connector Part Information

    • 15393410
    • 4-Way F 2.8mm Sealed AMP (BLK)

Pin

Wire Color

Circuit No.

Function

1

BRN

667

Power Window Motor Right Front Down Control

2

ORN

1340

Battery Positive Voltage

3

BLK

1050

Ground

4

DK BLU

666

Power Window Motor Right Front Up Control

Front Passenger Door Module (FPDM)-C2


Object Number: 966311  Size: CH

Connector Part Information

    • 15398841
    • 26-Way F AMP Lever Assist (BLK)

Pin

Wire Color

Circuit No.

Function

1-4

--

--

Not Used

5

BLK/WHT

746

Right Front Door Ajar Switch Signal

6-7

--

--

Not Used

8

WHT

156

Courtesy Lamp-Right Front Door Supply Voltage

9

--

--

Not Used

10

GRY

295

Door Lock Actuator Lock Control

11

TAN

294

Door Lock Actuator Unlock Control

12-13

--

--

Not Used

14

ORN

4240

Battery Positive Voltage

15-18

--

--

Not Used

19

LT BLU

661

Right Front Door Courtesy Lamp Control

20

DK GRN

1178

Right Front Door Switch Low Reference

21

--

--

Not Used

22

TAN

1047

PDM Class 2 Serial Data

23

--

--

Not Used

24

LT GRN

265

Passenger Door Key Switch Signal

25-26

--

--

Not Used

Front Passenger Door Module (FPDM)-C3


Object Number: 850873  Size: CH

Connector Part Information

    • 6383393-7
    • 10-Way F 0.64mm Unsealed AMP (BLU)

Pin

Wire Color

Circuit No.

Function

1

RED/WHT

--

Passenger Mirror Motor Right Control

2

WHT

--

Passenger Mirror Right/Down Motors Common

3

YEL

--

Passenger Folding Mirror Motor Extend Control

4

LT BLU

--

Passenger Folding Mirror Motor Retract Control

5

--

--

Not Used

6

PPL/WHT

--

Passenger Mirror Motor Down Control

7

ORN

--

Mirror Heating Element Supply Voltage

8

BLK

--

Mirror Heating Element Low Reference

9-10

--

--

Not Used

Front Passenger Door Module (FPDM)-C4


Object Number: 850870  Size: CH

Connector Part Information

    • 6383393-5
    • 10-Way F 0.64mm Unsealed AMP (BLK)

Pin

Wire Color

Circuit No.

Function

1

DK GRN

--

5 Volt Reference

2

RED

--

Passenger Mirror Vertical Position Sensor Signal

3

PPL

--

Low Reference

4

DK BLU

--

Passenger Mirror Horizontal Position Sensor Signal

5-10

--

--

Not Used

Front Passenger Door Module (FPDM)-C5


Object Number: 849815  Size: CH

Connector Part Information

    • 6383393-4
    • 12-Way F AMP 0.64mm Unsealed (GRN)

Pin

Wire Color

Circuit No.

Function

1

YEL

--

Low Heat Indicator Control

2

DK GRN

--

High Heat Indicator Control

3

DK BLU

--

Back and Cushion Select

4

GRY

--

Back Only Select

5

--

--

Not Used

6

BRN

--

Memory/Heated Seat Switch Supply Voltage

7

BLK

--

Back Only Indicator Control

8

WHT/BLK

--

Medium Heat Indicator Control

9-11

--

--

Not Used

12

LT BLU

--

Heated Seat Switch Illumination

Liftgate Ajar Switch-Left


Object Number: 537107  Size: CH

Connector Part Information

    • 12052644
    • 2-Way F Metri-Pack 150 Series Sealed (GRY)

Pin

Wire Color

Circuit No.

Function

A

BLK

1450

Ground

B

PNK/BLK

1303

Liftgate Ajar Switch Signal

Liftgate Ajar Switch-Right


Object Number: 537107  Size: CH

Connector Part Information

    • 12052644
    • 2-Way F Metri-Pack 150 Series Sealed (GRY)

Pin

Wire Color

Circuit No.

Function

A

BLK

1450

Ground

B

PNK/BLK

1303

Liftgate Ajar Switch Signal

Outside Rear View Mirror-Driver (Driver Door Module (DDM)-C3)


Object Number: 850873  Size: CH

Connector Part Information

    • 6383393-7
    • 10-Way F 0.64mm Unsealed AMP (BLU)

Pin

Wire Color

Circuit No.

Function

1-2

--

--

Not Used

3

BLK

--

Driver Mirror Heating Element Low Reference

4

PPL

--

Mirror Sensor Low Reference

5-6

--

--

Not Used

7

GRY

--

Automatic Day/Night Mirror Signal

8

PNK

--

Automatic Day/Night Mirror Low Reference

9-10

--

--

Not Used

Outside Rear View Mirror-Driver (Driver Door Module (DDM)-C4)


Object Number: 850870  Size: CH

Connector Part Information

    • 6383393-5
    • 10-Way F 0.64mm Unsealed AMP (BLK)

Pin

Wire Color

Circuit No.

Function

1

YEL

--

Driver Folding Mirror Motor Extend Control

2

ORN

--

Mirror Heating Element Supply Voltage

3

RED

--

Driver Mirror Horizontal Position Sensor Signal

4

DK GRN

--

5 Volt Reference

5

DK BLU

--

Driver Mirror Vertical Position Sensor Signal

6

LT BLU

--

Driver Folding Mirror Motor Retract Control

7

YEL

--

Driver Mirror Right/Down Motors Common

8

LT BLU

--

Driver Mirror Motor Right Control

9

LT GRN

--

Driver Mirror Motor Down Control

10

--

--

Not Used

Outside Rear View Mirror-Passenger (Front Passenger Door Module (FPDM)-C3)


Object Number: 850873  Size: CH

Connector Part Information

    • 6383393-7
    • 10-Way F 0.64mm Unsealed AMP (BLU)

Pin

Wire Color

Circuit No.

Function

1

RED/WHT

--

Passenger Mirror Motor Right Control

2

WHT

--

Passenger Mirror Right/Down Motors Common

3

YEL

--

Passenger Folding Mirror Motor Extend Control

4

LT BLU

--

Passenger Folding Mirror Motor Retract Control

5

--

--

Not Used

6

PPL/WHT

--

Passenger Mirror Motor Down Control

7

ORN

--

Mirror Heating Element Supply Voltage

8

BLK

--

Mirror Heating Element Low Reference

9-10

--

--

Not Used

Outside Rear View Mirror-Passenger (Front Passenger Door Module (FPDM)-C4)


Object Number: 850870  Size: CH

Connector Part Information

    • 6383393-5
    • 10-Way F 0.64mm Unsealed AMP (BLK)

Pin

Wire Color

Circuit No.

Function

1

DK GRN

--

5 Volt Reference

2

RED

--

Passenger Mirror Vertical Position Sensor Signal

3

PPL

--

Low Reference

4

DK BLU

--

Passenger Mirror Horizontal Position Sensor Signal

5-10

--

--

Not Used

Window Motor-Driver


Object Number: 684837  Size: CH

Connector Part Information

    • 12129487
    • 2-Way F Metri-Pack 280 Series Flexlock Sealed (MD GRY)

Pin

Wire Color

Circuit No.

Function

A

DK BLU

164

Power Window Motor Left Front Up Control

B

BRN

165

Power Window Motor Left Front Down Control

Window Motor-Front Passenger


Object Number: 684837  Size: CH

Connector Part Information

    • 12129487
    • 2-Way F Metri-Pack 280 Series Flexlock Sealed (MD GRY)

Pin

Wire Color

Circuit No.

Function

A

DK BLU

666

Power Window Motor Right Front Up Control

B

BRN

667

Power Window Motor Right Front Down Control

Window Motor-LR


Object Number: 684837  Size: CH

Connector Part Information

    • 12129487
    • 2-Way F Metri-Pack 280 Series Flexlock Sealed (MD GRY)

Pin

Wire Color

Circuit No.

Function

A

BRN

669

Power Window Motor Left Rear Down Control

B

DK BLU

668

Power Window Motor Left Rear Up Control

Window Motor-RR


Object Number: 684837  Size: CH

Connector Part Information

    • 12129487
    • 2-Way F Metri-Pack 280 Series Flexlock Sealed (MD GRY)

Pin

Wire Color

Circuit No.

Function

A

BRN

671

Power Window Motor Right Rear Down Control

B

DK BLU

670

Power Window Motor Right Rear Up Control

Window Switch-LR


Object Number: 333036  Size: CH

Connector Part Information

    • 12191825
    • 8-Way F Metri-Pack 280 Series (BRN)

Pin

Wire Color

Circuit No.

Function

A

ORN

1240

Battery Positive Voltage

B

YEL

1187

Power Window Switch Relay Left Rear Down Control

C

WHT

1185

Power Window Switch Relay Left Rear Up Control

D

LT BLU

2265

Power Window Lockout Left Rear Signal

E

BLK

1150

Ground

F

DK BLU

668

Power Window Motor Left Rear Up Control

G

BRN

669

Power Window Motor Left Rear Down Control

H

BRN/WHT

230

Instrument Panel Lamps Dimming Control

Window Switch-RR


Object Number: 333036  Size: CH

Connector Part Information

    • 12191825
    • 8-Way F Metri-Pack 280 Series (BRN)

Pin

Wire Color

Circuit No.

Function

A

ORN

1340

Battery Positive Voltage

B

DK GRN

1188

Power Window Switch Relay Right Rear Down Control

C

GRY/BLK

1186

Power Window Switch Relay Right Rear Up Control

D

LT GRN

2266

Power Window Lockout Right Rear Signal

E

BLK

1250

Ground

F

DK BLU

670

Power Window Motor Right Rear Up Control

G

BRN

671

Power Window Motor Right Rear Down Control

H

BRN/WHT

230

Instrument Panel Lamps Dimming Control