GM Service Manual Online
For 1990-2009 cars only

Removal Procedure


    Object Number: 857570  Size: SH
  1. Remove the end caps to the cross bars on the roof rack.

  2. Object Number: 857583  Size: SH
  3. Remove the straps through the eyes of the brackets.
  4. Loosen the attaching hardware and remove cargo box from top of vehicle.
  5. Slide the assembly from T-slot of roof rack cross bar.
  6. Remove using the knobs from end of T-bolts.

  7. Object Number: 857576  Size: SH
  8. Remove the T-bolts from underneath the heard cargo carrier.

  9. Object Number: 857592  Size: SH
  10. Install the end caps on cross bars of the roof rack.

Installation Procedure


Object Number: 1247570  Size: SH

Important: It is necessary to use the following alignment marks when aligning the front cross bar. Marks are located on the top surface of the passenger side roof rail, and should be aligned with the arrow (1) on the crossbar. All roof rack kits include a stop clip, which should be placed on the roof rail in the appropriate stop location. Failure to align to these marks could result in component interference and excessive wind noise.


Object Number: 1247569  Size: SH

On vehicles not equipped with sunroofs, align the front cross bar with the On-Star stop (1), located approximately 7.5 inches behind the front outer marking light.


Object Number: 1247573  Size: SH

On vehicles equipped with sunroofs, align the arrow on the cross bar with the sunroof stop (1), located approximately 20 inches rearward on the OnStar stop.


    Object Number: 857555  Size: SH
  1. Ensure that the carrier is parallel to the direction of travel by initially setting the cross bars at a width of 80 cm (31.5 in).

  2. Object Number: 857570  Size: SH
  3. Remove the end caps on cross bars of the roof rack on one side of the vehicle.

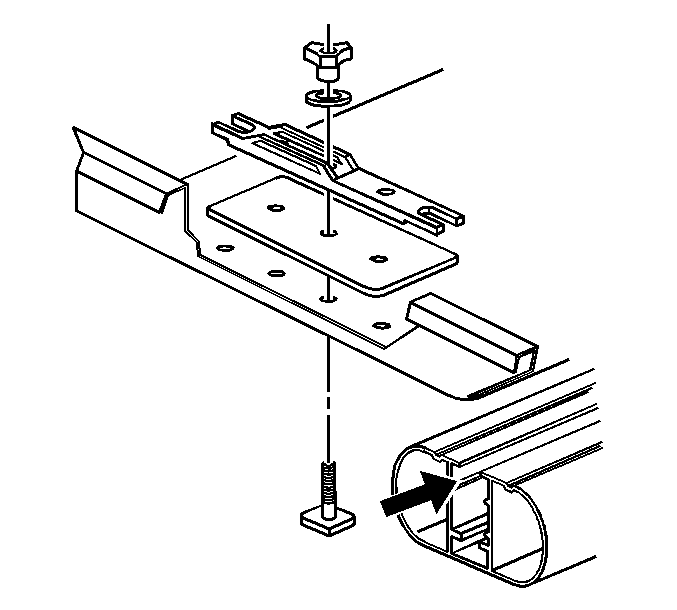
  4. Object Number: 857576  Size: SH
  5. Insert the T-bolts in the following order:
  6. 3.1. From underneath the hard cargo carrier
    3.2. Through a hole at the bottom of the carrier
    3.3. Through the plate's center hole
    3.4. Through the internal ski down
    3.5. Through the locking washer
  7. Loosely attach using knob to end of T-bolts.
  8. Slide the assembly into the T-slot of roof rack cross bar.
  9. Align cargo box to vehicle and tighten the roof rack cross bars and attaching hardware.

  10. Object Number: 857583  Size: SH
  11. Insert the straps through the eyes of the brackets.

  12. Object Number: 857592  Size: SH
  13. Replace the end caps to the cross bars on roof rack.