GM Service Manual Online
For 1990-2009 cars only

Removal Procedure


    Object Number: 868116  Size: SH
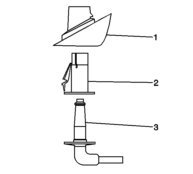
  1. Insert a small flat-bladed tool into the access hole (1) to disengage the primary retainer.

  2. Object Number: 868119  Size: SH
  3. Using firm upward pressure, push the sunshade elbow (3) up and rotate it to unlock the secondary retainer (2) from the body.
  4. When the secondary retainer (2) is disengaged from the body, the elbow (3) and retainer (2) will be recessed into the bezel (1) approximately 12.5 mm (1/8 in).


    Object Number: 1172628  Size: SH
  5. Pull down to remove the sunshade (4) and bezel (3) as a complete assembly.
  6. Disconnect the electrical connection for the vanity mirror.

Installation Procedure


    Object Number: 868119  Size: SH
  1. Connect the electrical connector for the vanity mirror.
  2. Pull outward on the bezel (1) and rotate until the elbow (3) and bezel are flush with each other.

  3. Object Number: 1172628  Size: SH
  4. Align the sunshade bezel (3) to the opening in the headliner (1) and the locking ring (2).

  5. Object Number: 868121  Size: SH
  6. Push the sunshade (2) up until it locks into the locking ring (1) and body.
  7. An audible click will be heard.