GM Service Manual Online
For 1990-2009 cars only

Rear License Plate Pocket Replacement SUV

Removal Procedure

  1. Open the liftgate.
  2. Remove the liftgate trim panel. Refer to Liftgate Trim Panel Replacement .

  3. Object Number: 832874  Size: SH
  4. Remove the latch cable handle connection by releasing the retainer (1) and removing the cable end from the handle arm.

  5. Object Number: 880649  Size: SH
  6. Disconnect the 2 license plate pocket electrical connectors (3).

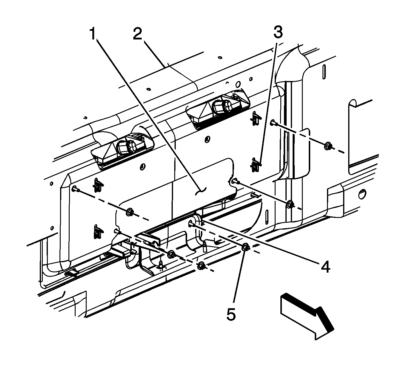
  7. Object Number: 1453816  Size: SH
  8. Remove the 6 nuts (5) retaining the plate pocket to the liftgate.
  9. Release the 4 clips (3) retaining the license plate pocket to the liftgate (2).

  10. Object Number: 1453815  Size: SH
  11. Remove the license plate pocket (2) from the liftgate (3).

Installation Procedure


    Object Number: 1453815  Size: SH
  1. Place the license plate pocket (2) in position on the liftgate (3), ensuring all of the retaining clips are fully seated.
  2. Notice: Refer to Fastener Notice in the Preface section.


    Object Number: 1453816  Size: SH
  3. Install the 6 nuts (5) retaining the license plate pocket to the liftgate.
  4. Tighten
    Tighten the nuts to 4.5 N·m (40 lb in).

  5. Connect the 2 license plate electrical connectors.

  6. Object Number: 832874  Size: SH
  7. Attach the latch control cable handle connection by installing the cable end into the handle arm (2) and securing the retainer (1).
  8. Install the liftgate trim panel. Refer to Liftgate Trim Panel Replacement .