GM Service Manual Online
For 1990-2009 cars only

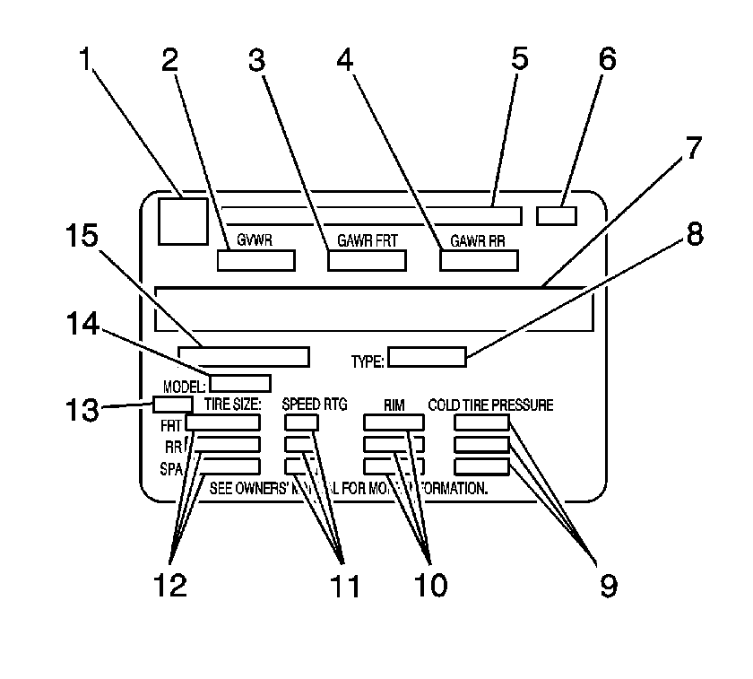
Vehicle Certification Label w/o RPO Z49

Vehicle Certification Label -- Complete


Object Number: 906548  Size: SH
(1)GM Logo
(2)Gross Vehicle Weight Rating
(3)Gross Axle Weight Rating - Front
(4)Gross Axle Weight Rating - Rear
(5)Name Of Manufacturer
(6)Final Manufacturer's Date
(7)Manufacturer's Statement
(8)Model Designation
(9)Tire Pressure
(10)Rim Size
(11)Speed Rating - When Required
(12)Tire Size
(13)GVW Rating Code
(14)Engineering Model
(15)Vehicle Identification Number

The vehicle certification label displays the following assessments:

    • The Gross Vehicle Weight Rating (GVWR)
    • The Gross Axle Weight Rating (GAWR) -- Front and Rear
    • The vehicle's payload rating
    • The original equipment tire sizes and the recommended tire pressures

Gross vehicle weight (GVW) is the weight of the vehicle and everything it carries. Include the following items when figuring the GVW:

    • The base vehicle weight (factory weight)
    • The weight of all vehicle accessories, like the winches or the plows
    • The weight of the driver and the passengers
    • The weight of the cargo

The gross vehicle weight must not exceed the Gross Vehicle Weight Rating.

The front gross axle weight rating (GAWR FRT) is the weight exerted on the front axle. The rear gross axle weight rating (GAW RR) is the weight exerted on the rear axle. The front and rear gross axle weights must not exceed the front and rear gross axle weight ratings.

The payload rating defines the vehicle's maximum allowable cargo load. The cargo load includes the driver and the passengers. The payload rating is based on the vehicle's factory installed equipment. Deduct from the payload rating the weight of accessories added to the vehicle after the final date of manufacture .

The vehicle may have a Gross Combination Weight Rating (GCWR). The Gross Combination Weight Rating refers to the total maximum weight of the loaded tow vehicle (including driver and passengers) and a loaded trailer.

The vehicle's tires must be the proper size and properly inflated for the load the vehicle is carrying.

Vehicle Certification Label w/RPO Z49

Vehicle Certification Label -- Complete


Object Number: 518229  Size: SH
(1)Logo
(2)Gross Vehicle Weight Rating
(3)Gross Axle Weight Rating - Front
(4)Gross Axle Weight Rating - Rear
(5)Name of Manufacturer
(6)Final Manufacturer's Date
(7)RFI Statement - Canada Only
(8)DUAL - When Equipped
(9)Front Axle Reserve - When Equipped
(10)Total Capacity - When Required
(11)Tire Pressure
(12)Rim Size
(13)Speed Rating - When Required
(14)Tire Size
(15)GVW Rating Code
(16)Engineering Model
(17)Vehicle Identification Number
(18)Payload
(19)Model Designation

The vehicle certification label is located on the driver's side door and displays the following assessments:

    • The Gross Vehicle Weight Rating (GVWR)
    • The Gross Axle Weight Rating (GAWR) -- Front and Rear
    • The vehicle's payload rating
    • The original equipment tire sizes and the recommended tire pressures

Gross vehicle weight (GVW) is the weight of the vehicle and everything it carries. Include the following items when figuring the GVW:

    • The base vehicle weight - factory weight
    • The weight of all vehicle accessories, like the winches or the plows
    • The weight of the driver and the passengers
    • The weight of the cargo

The gross vehicle weight must not exceed the Gross Vehicle Weight Rating.

The front gross axle weight rating (GAWR FRT) is the weight exerted on the front axle. The rear gross axle weight rating (GAW RR) is the weight exerted on the rear axle. The front and rear gross axle weights must not exceed the front and rear gross axle weight ratings.

The payload rating defines the vehicle's maximum allowable cargo load. The cargo load includes the driver and the passengers. The payload rating is based on the vehicle's factory installed equipment. Deduct from the payload rating the weight of accessories added to the vehicle after the final date of manufacture .

The vehicle may have a Gross Combination Weight Rating (GCWR). The Gross Combination Weight Rating refers to the total maximum weight of the loaded tow vehicle (including driver and passengers) and a loaded trailer.

The vehicle's tires must be the proper size and properly inflated for the load the vehicle is carrying.