GM Service Manual Online
For 1990-2009 cars only

If a tire goes flat, avoid further tire and wheel damage by driving slowly to a level place. Turn on your hazard warning flashers.

Caution: Changing a tire can be dangerous. The vehicle can slip off the jack and roll over or fall on you or other people. You and they could be badly injured or even killed. Find a level place to change your tire. To help prevent the vehicle from moving:

  1. Set the parking brake firmly.
  2. Put the shift lever in PARK (P).
  3. Turn off the engine and do not restart while the vehicle is raised.
  4. Do not allow passengers to remain in the vehicle.
  5. Put the wheel blocks at the front and rear of the tire farthest away from the one being changed. That would be the tire on the other side, at the opposite end of the vehicle.


Object Number: 809231  Size: B3

The following steps will tell you how to use the jack and change a tire.

Removing the Spare Tire and Tools

The equipment you'll need is behind and to the side of the driver's side second row seat. To remove the equipment, do the following:

  1. Fold the driver's side second row seat down. See 60/40 Split Bench Seat .

  2. Object Number: 864545  Size: A3

    Turn the wingnut (A), which holds the jack, counterclockwise to release the jack.

  3. Turn the wingnut (B), which holds the jack tool kit, counterclockwise to release it.

Open the tool bag and you will find the following tools which you will use to remove the spare tire and flat tire:


Object Number: 864544  Size: B4
  1. Jack Handle Extension (Used for Rear Flats Only)

  2. Jack Handle

  3. Wheel Wrench

  4. Ratchet

  5. Spanner Wrench

  6. Locking Pin (If Equipped) Not used for tire changing procedure. See "Power Winch Platform" under If Your Vehicle is Stuck in Sand, Mud, Ice, or Snow .

The spare tire and wheel blocks are stored in the rear cargo area. Remove the tire cover to get to them.


Object Number: 864521  Size: B3
  1. Spare or Flat Tire

  2. Receiver Extension (If Equipped) Not used for tire changing procedure. See "Receiver Extension" under If Your Vehicle is Stuck in Sand, Mud, Ice, or Snow .

  3. Tire Retainer Plate

  4. Nut

  5. Wheel Blocks

Follow the instructions to remove the wheel blocks and spare tire:

  1. Remove the wheel blocks from the tire retainer plate by turning the wingnut counterclockwise.

  2. Object Number: 864549  Size: B3
  3. Place the flat end of the wheel wrench through the hole in the spanner wrench.

  4. Object Number: 864522  Size: A3

    Place the end of the spanner wrench on the nut and then turn the wheel wrench counterclockwise to loosen the nut holding the tire to the carrier.

  5. Pull off the tire retainer plate and set it aside. Remove the spare tire from the wheel carrier.
  6. Put the spare tire near the flat tire.

Use the art and text following to finish changing a flat tire.


Object Number: 864523  Size: B3

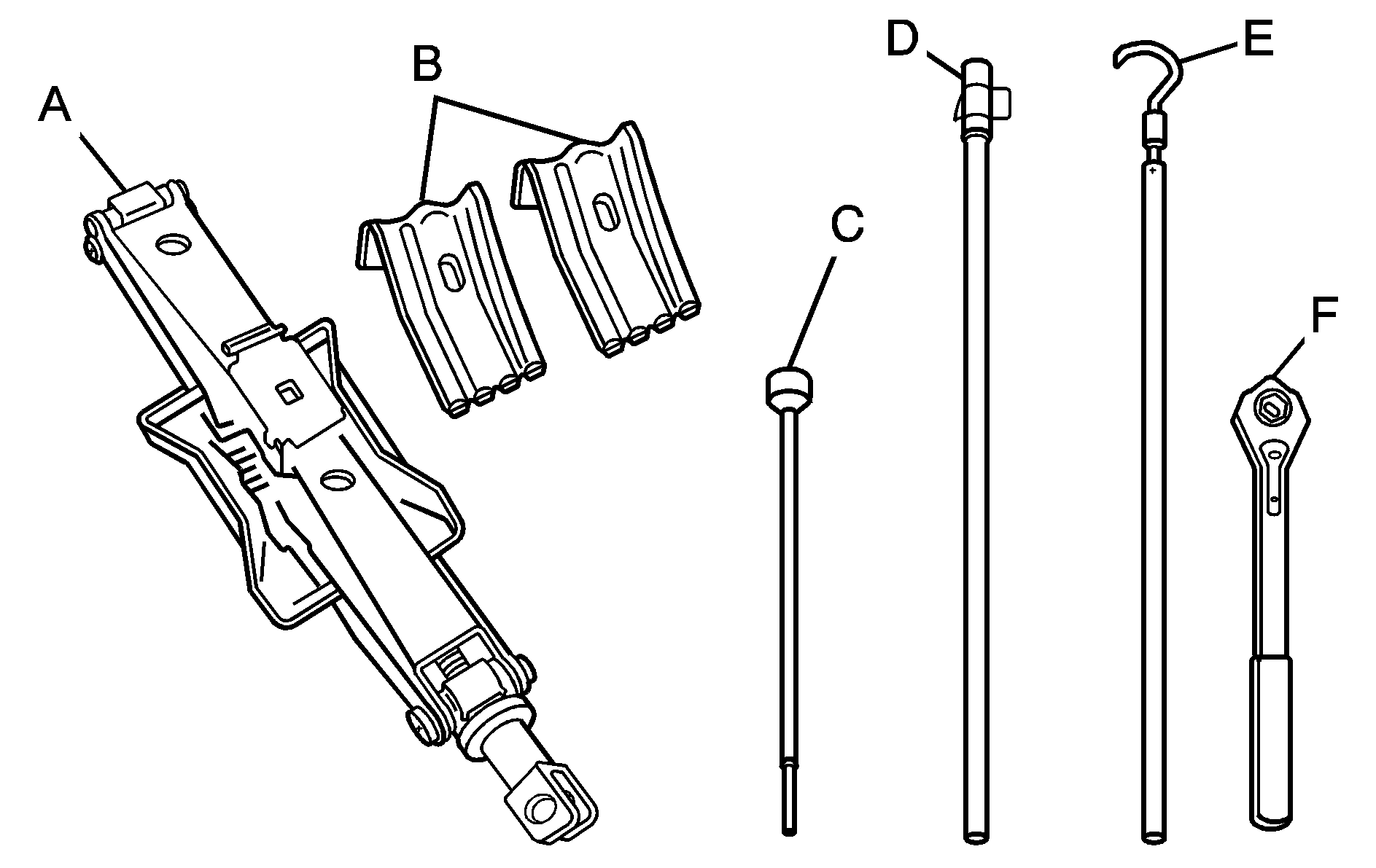
The tools you'll be using include the jack (A), the wheel blocks (B), the wheel wrench (C), jack handle extension (D), the jack handle (E) and the ratchet (F).

Before proceeding, be sure to set the wheel blocks (B) on the appropriate tire as shown previously.

Removing the Flat Tire and Installing the Spare Tire


    Object Number: 864524  Size: A3

    To remove the center cap, place the flat end of the wheel wrench in the slot on the wheel and gently pry the center cap out.


    Object Number: 864534  Size: B3
  1. Slide the ratchet onto the wheel wrench with the DOWN mark facing you.
  2. Turn the ratchet counterclockwise to loosen the wheel nuts. Don't remove them yet.
  3. You will now need to jack the vehicle up using the instructions following.

  4. Assemble the jack and tools as follows:
  5. Front Flat Tire: Attach the jack handle (E) with the hook end connected to the u-hook/clevis on the jack (A). Slide the ratchet (F) onto the jack handle (E) with the UP mark facing you.


    Object Number: 864541  Size: B2
  6. Rear Flat Tire: Attach the jack handle extension (D) to the jack handle (E) and then press the clip (arrow) so it engages. Then attach the jack handle (E) with the hook end connected to the u-hook/clevis on the jack (A). Slide the ratchet (F) onto the jack handle extension (D) with the UP mark facing you.
  7. Turn the ratchet (F) clockwise to raise the jack head to the lifting point.
  8. Front Position


    Object Number: 864535  Size: A3

    Front Flat Tire: Position the jack under the vehicle on the frame behind the flat tire where the frame sections overlap. See the graphic following for an approximate measurement of the jack location on the frame.

    X= 28.5 inches (72.0 cm)


    Object Number: 864555  Size: B3

    Rear Position


    Object Number: 864542  Size: A3

    Rear Flat Tire: Place the jack under the curved rear axle pad. Make sure the jack head is positioned so that the rear axle pad is resting securely on the jack head.

    Caution: Getting under a vehicle when it is jacked up is dangerous. If the vehicle slips off the jack you could be badly injured or killed. Never get under a vehicle when it is supported only by a jack.

    Caution: Raising your vehicle with the jack improperly positioned can damage the vehicle and even make the vehicle fall. To help avoid personal injury and vehicle damage, be sure to fit the jack lift head into the proper location before raising the vehicle.

  9. Turn the ratchet clockwise to raise the vehicle. Raise the vehicle far enough off the ground so there is enough room for the spare tire to clear the ground.

  10. Object Number: 864527  Size: A3

    Remove all the wheel nuts and take off the flat tire.


    Object Number: 811105  Size: A2

    Remove any rust or dirt from the wheel bolts, mounting surfaces and spare wheel.

    Caution: Rust or dirt on a wheel or other parts to which it is fastened, can make the wheel nuts become loose and eventually the wheel could come off and cause a crash. Always remove all rust and dirt from wheels and other parts.

    Caution: Never use oil or grease on bolts or nuts because the nuts might come loose. The vehicle's wheel could fall off, causing a crash.


    Object Number: 864528  Size: A3

    After mounting the spare, put the wheel nuts back on with the rounded end of the nuts toward the wheel.

  11. Tighten each wheel nut by hand. Then use the ratchet/wheel wrench to tighten the nuts, with the UP mark facing you, clockwise until the wheel is held against the hub. You will not be tightening the nuts fully yet.
  12. Front Position


    Object Number: 864538  Size: A3

    Rear Position


    Object Number: 864553  Size: A3
  13. Lower the vehicle by turning the ratchet counterclockwise, with the DOWN mark facing you. Lower the jack completely.

  14. Object Number: 864517  Size: A2

    Tighten the nuts firmly in a crisscross sequence as shown by turning the ratchet clockwise, with the UP mark facing you.

    Caution: Incorrect or improperly tightened wheel nuts can cause the wheel to come loose and even come off. This could lead to a crash. If you have to replace them, be sure to get new original equipment wheel nuts. Stop somewhere as soon as you can and have the nuts tightened with a torque wrench to the proper torque specification. See Capacities and Specifications for wheel nut torque specification.

    Notice: Improperly tightened wheel nuts can lead to brake pulsation and rotor damage. To avoid expensive brake repairs, evenly tighten the wheel nuts in the proper sequence and to the proper torque specification. See Capacities and Specifications for the wheel nut torque specification.

  15. When you install the wheel and tire, you must also reinstall the center cap. Place the cap on the wheel and tap it into place until it sits flush with the wheel.

Storing a Flat or Spare Tire and Tools

Use the art and text following to help you store the flat or spare tire and tools back in their proper spot when you are done.

Store the flat or spare tire back inside the vehicle on the spare tire mount.


Object Number: 864521  Size: B3
  1. Spare or Flat Tire

  2. Receiver Extension (If Equipped)

  3. Tire Retainer Plate

  4. Nut

  5. Wheel Blocks

  1. Slide the flat or spare tire (A) onto the tire carrier.
  2. Slide the tire retainer plate (C) into the wheel opening. Be sure that the stud attached to the tire carrier passes through the hole in the tire retainer plate.
  3. Tighten the nut (D) by hand until the tire retainer plate (C) is snug against the wheel.

  4. Object Number: 864522  Size: A3

    Then use the ratchet and spanner to tighten the nut firmly. Try to move the tire back and forth slightly to be sure it is secure.

  5. Reattach the wheel blocks (E) to the tire retainer plate (C) and tighten the wing nut.
  6. Reinstall the tire cover onto the spare or flat tire.

Follow these instructions to store the jack and tools:

  1. Lower the jack completely.
  2. Place the jack in the mounting bracket.

  3. Object Number: 864545  Size: A3

    Tighten the wingnut (A) until the jack is securely fastened.

  4. Place the tools in the bag.
  5. Slide the securing clip over the bag and secure the bag to the floor by tightening the wingnut (B) to the stud coming out of the floor.
  6. In order to reduce the potential of the jack squeaking or rattling, you will need to preload the jack so it fits tightly in the mounting bracket. To do this, turn the u-hook/clevis at the top of the jack clockwise until the jack is held tight in the mounting bracket.