GM Service Manual Online
For 1990-2009 cars only

Removal Procedure

  1. Open the spare tire carrier to a full outward position.

  2. Object Number: 1412524  Size: SH
  3. Remove the endgate trim bezel.
  4. Open the endgate.

  5. Object Number: 1412523  Size: SH
  6. Release the endgate lock rod clip (1) from the handle.
  7. Release the left side cable from the upper bolt.

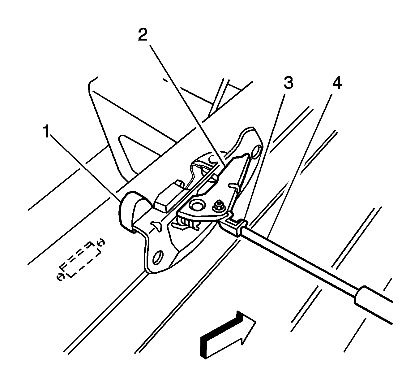
  8. Object Number: 1428254  Size: SH
  9. Remove the bolts from the latch mechanism. Note the cable bolt is shoulder for the cable.
  10. Carefully pull the latch outward and release the lock rod clip (3) from the lock rod (4).
  11. Remove the latch from the endgate.

Installation Procedure

  1. Position the latch to the endgate.

  2. Object Number: 1428254  Size: SH
  3. Connect the lock rod (4) to the latch and secure the lock rod clip (3).
  4. Notice: Refer to Fastener Notice in the Preface section.

  5. Push the latch inward and install the bolts. Note the cable bolt is shouldered.
  6. Tighten
    Tighten the latch bolts to 25 N·m (18 lb ft).


    Object Number: 1412523  Size: SH
  7. Lift the endgate and secure the lock rod to the endgate handle.
  8. Secure the retainer clips (1).
  9. Secure the endgate cable to the endgate body bolt.
  10. Verify the operation.
  11. Close the endgate.

  12. Object Number: 1412524  Size: SH
  13. Secure the handle bezel.
  14. Latch and secure the spare tire carrier.