GM Service Manual Online
For 1990-2009 cars only

Removal Procedure

  1. Remove the door trim panel. Refer to Front Side Door Trim Panel Replacement or Rear Side Door Trim Panel Replacement.
  2. Place the door trim panel, back-side up, on a clean prepared non-abrasive surface.

  3. Object Number: 1429709  Size: SH
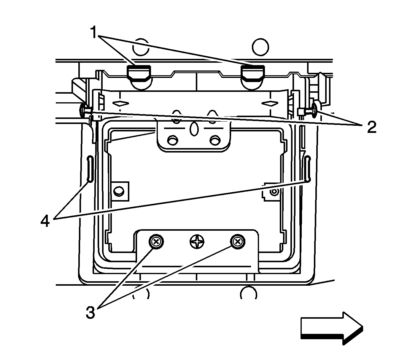
  4. Locate the 2 lower heat-stakes holding the pull handle bezel assembly to the door panel (3).
  5. Important: If the heat-stake is beaded, grin off the bead. Do not remove any door trim material.

  6. Using a 8 mm (5/16 in) drill bit, drill through the round heat-staked studs (3).
  7. Drill into the heat-staked stud just enough to cause the stud material to separate from the door panel.

  8. Using a Dremel tool or equivalent, remove any heat-stake material that may be left in the door panel holes or on the door panel.
  9. Grind off the heat-stake material (4).
  10. Remove the screws (2).
  11. Using pliers, straighten the pull handle bezel tabs (1). Grind any remaining material if necessary.
  12. Remove the pull handle bezel assembly from the door panel.

Installation Procedure


    Object Number: 1429709  Size: SH
  1. Position the replacement pull handle bezel assembly to the door trim panel.
  2. Place the door trim panel, back-side up, on a clean prepared non-abrasive surface.
  3. Notice: Refer to Fastener Notice in the Preface section.

  4. Install the 2 screws (2).
  5. Tighten
    Tighten the screws to 2.8 N·m (25 lb in).

  6. Use clamps to temporarily secure handle bezel to door trim panel.
  7. Using a Weller model 8200 soldering gun, or equivalent, equipped with a flat tip, heat and bend the tabs (1) securing the handle bezel to the door panel.
  8. Heat the tabs (4) securing the handle bezel to the door panel.
  9. Important: A desirable round heat-stake weld should have an approximate diameter of 13 mm (1/2 in) and height 2 mm (3/32 in).

  10. Use a soldering gun equipped with a flat tip. Using a circular motion, apply firm steady pressure to spread the heat-stake (3) material into the door trim panel to achieve a proper weld.
  11. Allow for heat-stakes to cool and remove clamps.
  12. Verify that the pull handle bezel is securely heat-staked to the door trim panel.
  13. Install the door trim panel. Refer to Front Side Door Trim Panel Replacement or Rear Side Door Trim Panel Replacement.