GM Service Manual Online
For 1990-2009 cars only

Tools Required

CH-47830 Holding Fixture

Removal Procedure


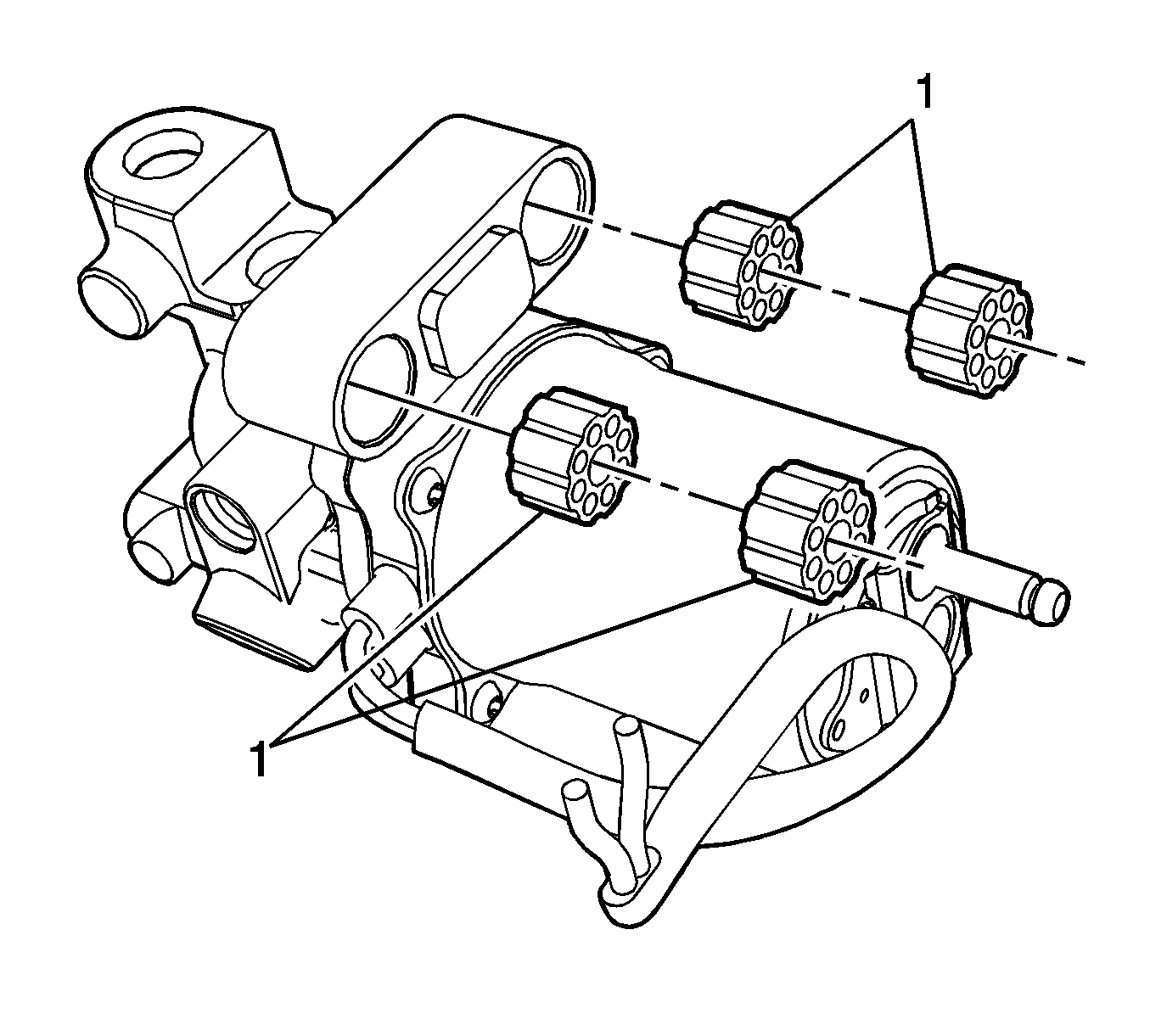
    Object Number: 1977780  Size: SH
  1. Remove the brake master cylinder and power brake booster assembly. Refer to Brake Master Cylinder with Power Brake Booster and Chassis Control Module Replacement .
  2. Install the CH-47830  (1)  to the master cylinder assembly.
  3. Position the CH-47830 with the master cylinder assembly in a vise.
  4. Remove the hydraulic brake booster accumulator. Refer to Power Brake Booster Pump Fluid Accumulator Replacement .
  5. Remove the power brake booster inlet hose. Refer to Power Brake Booster Inlet Hose Replacement .
  6. Remove the power brake booster outlet front pipe. Refer to Power Brake Booster Outlet Front Pipe Replacement .
  7. Important: Note the location of the black negative wire and the red positive wire. The black negative wire is toward the front of the vehicle. The red positive wire is toward the rear of the vehicle.


    Object Number: 1977961  Size: SH
  8. Remove the black negative wire terminal plug (1) and the screw.
  9. Remove the red positive wire terminal plug (2) and the screw.
  10. Disconnect the pump motor wire harness from the brake pressure modulator valve (BPMV) module.

  11. Object Number: 1977965  Size: SH
  12. Remove the power brake booster pump bracket bolts (1).

  13. Object Number: 1977966  Size: SH
  14. Remove the power brake booster pump (1).

  15. Object Number: 1977968  Size: SH
  16. Remove the power brake booster pump damper retaining ring (1) by breaking and discarding the retaining ring.
  17. Remove the power brake booster pump damper (2) and the bracket (3).

  18. Object Number: 1977969  Size: SH
  19. Remove the power brake booster pump motor dampers (1).

Installation Procedure


    Object Number: 1977969  Size: SH
  1. Install the power brake booster pump motor dampers (1).

  2. Object Number: 1977968  Size: SH
  3. Install the power brake booster pump damper (2) and the bracket (3) to the pump motor.
  4. Install a new power brake booster pump damper retaining ring (1).

  5. Object Number: 1977966  Size: SH
  6. Install the power brake booster pump (1).
  7. Notice: Refer to Fastener Notice in the Preface section.


    Object Number: 1977965  Size: SH
  8. Install the power brake booster pump bracket bolts (1).
  9. Tighten
    Tighten the bolts to 8 N·m (71 lb in).

    Important: Note the location of the black negative wire and the red positive wire. The black negative wire is toward the front of the vehicle. The red positive wire is toward the rear of the vehicle.


    Object Number: 1977961  Size: SH
  10. Connect the pump motor wire harness to the BPMV module.
  11. Install the black negative wire terminal screw and the plug (1).
  12. Tighten
    Tighten the screw to 3 N·m (27 lb in).

  13. Install the red positive wire terminal screw and the plug (2).
  14. Tighten
    Tighten the screw to 3 N·m (27 lb in).


    Object Number: 1977780  Size: SH
  15. Install the power brake booster outlet front pipe. Refer to Power Brake Booster Outlet Front Pipe Replacement .
  16. Install the power brake booster inlet hose. Refer to Power Brake Booster Inlet Hose Replacement .
  17. Install the hydraulic brake booster accumulator. Refer to Power Brake Booster Pump Fluid Accumulator Replacement .
  18. Remove the CH-47830  (1)  from the master cylinder assembly.
  19. Install the brake master cylinder and power brake booster assembly. Refer to Brake Master Cylinder with Power Brake Booster and Chassis Control Module Replacement .