GM Service Manual Online
For 1990-2009 cars only
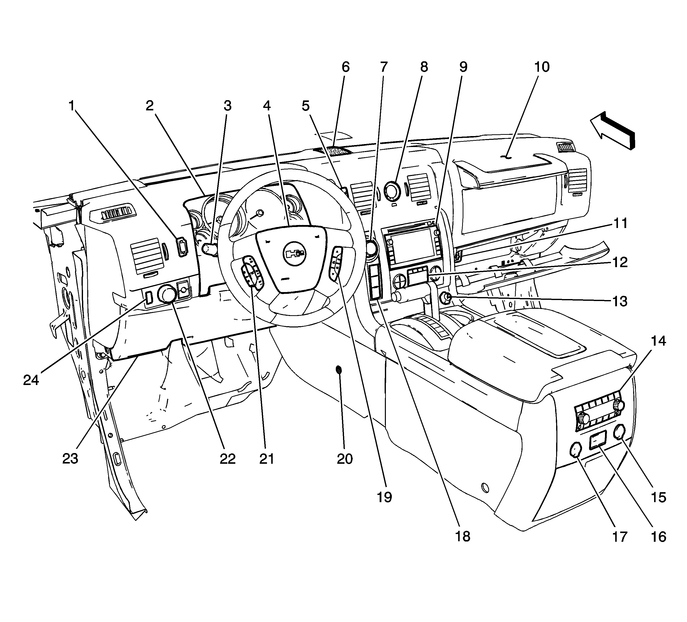
Figure 1:

Instrument Panel and Console Overview


Object Number: 1975923  Size: LF
(1)Window Wiper/Washer Switch - Rear (SUV) or Window Switch - Midgate(SUT)
(2)Instrument Panel Cluster (IPC)
(3)Turn Signal/Multifunction Switch
(4)Inflatable Restraint Steering Wheel Module
(5)Driver Information Center (DIC) Switch
(6)Ambient Light/Sunload Sensor Assembly
(7)Transfer Case Shift Control Switch
(8)Clock
(9)Radio
(10)Inflatable Restraint I/P Module
(11)Inflatable Restraint I/P Module Disable Switch
(12)HVAC Control Module
(13)Accessory Power Outlet-Front
(14)Rear Seat Audio (RSA) Control
(15)Accessory Power Outlet-Center Console 1
(16)Audio/Video Adapter (U42)
(17)Accessory Power Outlet-Center Console 2
(18)Multifunction Switch-I/P
(19)Steering Wheel Control Switch Assembly-Right
(20)Noise Compensation Microphone (UVB)
(21)Steering Wheel Control Switch Assembly - Left
(22)Headlamp and Panel Dimmer Switch
(23)Data Link Connector (DLC)
(24)Window Switch-Global
Figure 2:

Lower Left of the I/P


Object Number: 819764  Size: MF
(1)Accelerator Pedal Position (APP) Sensor
(2)Accelerator Pedal Position (APP) Sensor Connector
Figure 3:

Below the Left of the I/P Components


Object Number: 1860661  Size: LF
(1)Park Brake Release
(2)Park Brake Switch
(3)Dash Panel
(4)Park Brake Lever
Figure 4:

Stop Lamp Switch


Object Number: 349997  Size: MF
(1)Vacuum Booster
(2)Brake Pedal
(3)Stop Lamp Switch
(4)Accelerator Pedal
(5)Stop Lamp Switch Retainer
(6)Dash Panel
Figure 5:

Instrument Panel Harness Components


Object Number: 1975931  Size: LF
(1)Digital Radio Receiver (U2K)
(2)Junction Block - Right I/P
(3)Speaker - Center
(4)Vehicle Communication Interface Module (VCIM) (UE1)
(5)Remote Control Door Lock Receiver (RCDLR)
(6)Transfer Case Shift Control Module
(7)Fuse Block - I/P
(8)Body Control Module (BCM)
(9)Junction Block - Left I/P
Figure 6:

HVAC Module


Object Number: 1975935  Size: LF
(1)Recirculation Actuator
(2)Air Temperature Sensor - Upper Right
(3)Air Temperature Sensor - Upper Left
(4)Air Temperature Sensor - Lower Left
(5)Mode Actuator
(6)Blower Motor
(7)Blower Motor Control Module
(8)Air Temperature Actuator - Left
(9)Air Temperature Sensor - Lower Right
(10)Air Temperature Actuator - Right
Figure 7:

Steering Column Components


Object Number: 1975940  Size: LF
(1)Inflatable Restraint Steering Wheel Module Coil
(2)Steering Angle Sensor
(3)Ignition Lock Cylinder Control Solenoid
(4)Ignition Key Cylinder
(5)Theft Deterrent Module (TDM)
(6)Ignition Switch
Figure 8:

Floor Console Components


Object Number: 1975950  Size: LF
(1)Center Console Compartment Lamp Switch
(2)Accessory Power Outlet-Center Console Compartment
(3)Automatic Transmission Shift Lever Position Indicators 1 and 2
(4)X334
(5)Center Console Compartment Lamp
(6)Automatic Transmission Shift Lock Control Solenoid