GM Service Manual Online
For 1990-2009 cars only

Object Number: 1950032  Size: MF

Callout

Component Name

Preliminary Procedure

  1. Remove the front seat. Refer to Front Seat Replacement - Bucket .
  2. Remove the front seat adjuster outer finish cover. Refer to Front Seat Cushion Outer Trim Panel Replacement .
  3. Remove the front seat adjuster inner finish cover. Refer to Front Seat Cushion Inner Trim Panel Replacement .

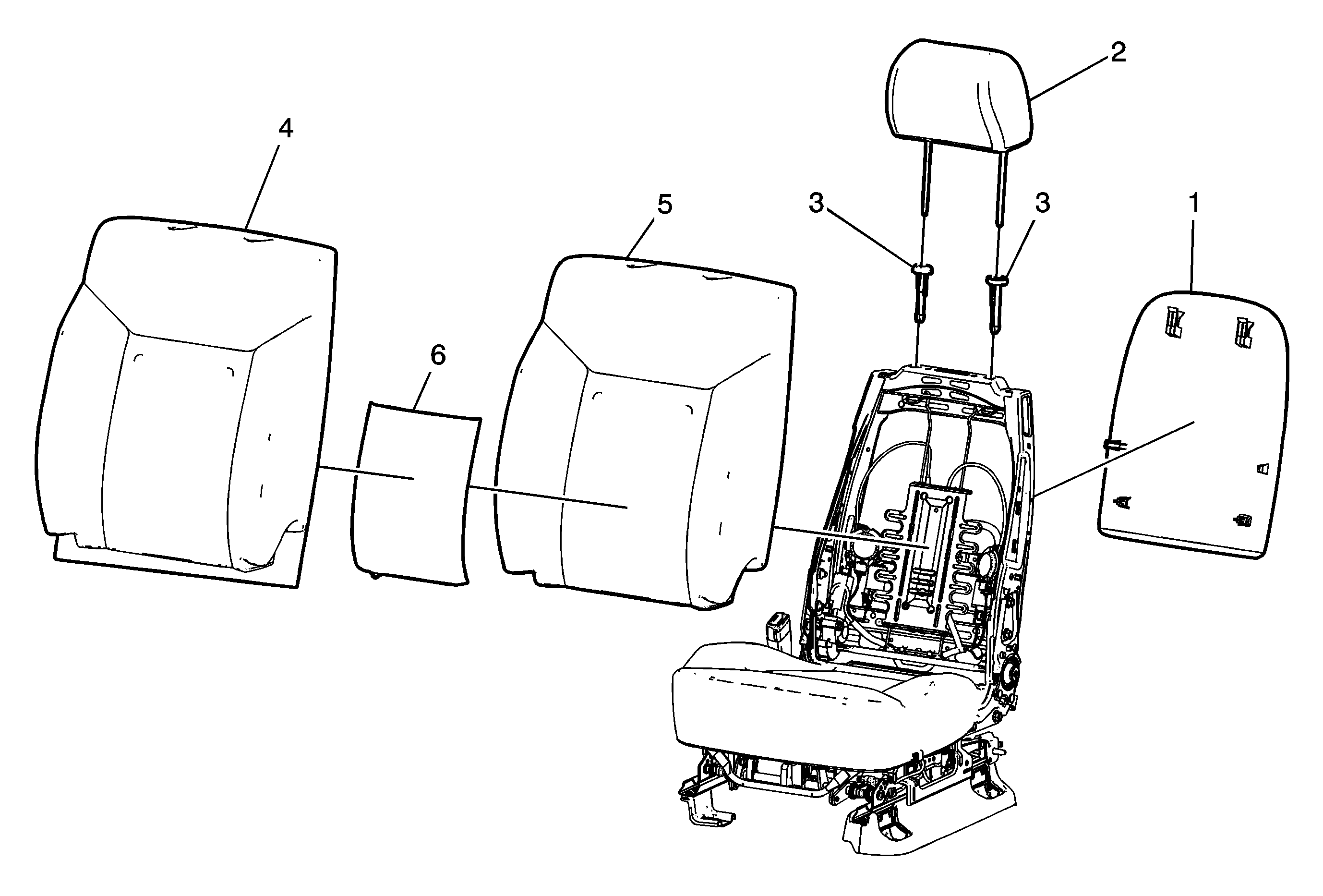
1

Front Seat Back Cushion Finish Panel

Refer to Driver Seat and Passenger Seat Back Cushion Finish Panel Replacement .

2

Front Seat Head Restraint Assembly

Procedure

  1. Depress the button on the head restraint guide to raise the head restraint to the full up position.
  2. Insert a small diameter tool into the hole on the inboard side of the other head restraint guide and pull upward to remove.

3

Front Seat Head Restraint Guide (Qty: 2)

Procedure

  1. Squeeze the bottom of the guide together and push up to remove from the seat back.
  2. Note the location and orientation of each guide for installation purposes.

4

Seat Back Cushion Cover

Procedure

  1. Disengage the j-channel retainers from the seat back cushion frame.
  2. Disconnect the electrical connectors that attach to the seat back cushion, if equipped.
  3. Remove the seat back cushion cover and pad from the seat cushion frame as an assembly.
  4. Pull the cover away from the pad to disengage the retainers

5

Seat Back Cushion Pad

6

Front Seat Back Cushion Heater

Tip
The heater is retained to the pad with adhesive, carefully peel the heater from the seat back cushion to remove.