GM Service Manual Online
For 1990-2009 cars only
Figure 1:

Forward Lamp Harness Components


Object Number: 1550709  Size: LF
(1)S185
(2)S109
(3)S112
(4)S120
(5)Horn
(6)C117 Forward Lamp Harness to Headlamp Jumper Harness
(7)S134
(8)C115 Forward Lamp Harness to Body Harness
(9)C116 Forward Lamp Harness to Headlamp Jumper Harness
Figure 2:

Engine Harness - Left


Object Number: 1550413  Size: LF
(1)Valve Cover
(2)Powertrain Control Module (PCM) C3
(3)Powertrain Control Module (PCM) C2
(4)C101 Engine Harness to Fuel Injector Harness
(5)G102
(6)G103
(7)C125 Engine Harness to Body Harness
(8)Fuse Block-Underhood C3
(9)Fuse Block-Underhood C4
Figure 3:

Engine Harness - Right


Object Number: 1550415  Size: LF
(1)C101 Engine Harness to Fuel Injector Harness
(2)C125 Engine Harness to Body Harness
(3)Fuse Block-Underhood C3
(4)Fuse Block-Underhood C4
(5)Mass Air Flow (MAF)/Intake Air Temperature (IAT) Sensor Connector
(6)Engine Oil Pressure (EOP) Switch Connector
(7)Powertrain Control Module (PCM) C2
(8)Powertrain Control Module (PCM) C3
Figure 4:

Engine Harness - Rear (M30)


Object Number: 1550416  Size: LF
(1)Transmission Case
(2)C175 Engine Harness to Transmission Internal Harness
(3)Heated Oxygen Sensor (HO2S) 2
(4)Transfer Case Encoder Motor Connector
(5)Vehicle Speed Sensor (VSS) Connector
(6)Park / Neutral Position (PNP) Switch
Figure 5:

Steering Column Harness Components


Object Number: 1550693  Size: LF
(1)Inflatable Restraint Steering Wheel Module Coil
(2)Inflatable Restraint Steering Wheel Module Connectors
(3)Ignition Switch
(4)Ignition Lock Cylinder Control Actuator (M30)
(5)Steering Wheel Position Sensor (JL4)
(6)C201 Steering Column Harness to I/P Harness
(7)C275 Steering Column Harness to I/P Harness
(8)Ignition Switch
(9)Turn Signal/Multifunction Switch
Figure 6:

I/P Harness Components


Object Number: 1550702  Size: LF
(1)C203 I/P Harness to HVAC Module Harness
(2)C205 I/P Harness to HVAC Module Harness
(3)Body Control Module (BCM) Connector
(4)C204 I/P Harness to Body Harness
(5)Trailer Blunt-Cut Harness Wires
(6)Data Link Connector (DLC)
(7)C208 I/P Harness to Body Harness
(8)C200 I/P Harness to Body Harness
(9)C207 I/P Harness to Body Harness
(10)C201 I/P Harness to Steering Column Harness
Figure 7:

I/P Harness Splice Locations


Object Number: 1554753  Size: LF
(1)S214
(2)S251
(3)S205
(4)S234 (UE1 and U2K)
(5)S206
Figure 8:

HVAC Module Harness


Object Number: 1550403  Size: LF
(1)HVAC Box
(2)S250
(3)C203 Blower Motor Resistor Harness to I/P Harness
(4)S220
(5)C205 HVAC Harness to I/P Harness
(6)S240
(7)S260
(8)S230
Figure 9:

Body Harness - Front


Object Number: 1550408  Size: LF
(1)Powertrain Control Module (PCM) C1
(2)S110
(3)S141
(4)G105
(5)S143
(6)C125 Body Harness to Engine Harness
(7)C115 Body Harness to Forward Lamp Harness
(8)Fuse Block - Underhood C2
(9)Fuse Block - Underhood C1
(10)C130 Body Harness to Battery Cable Harness (UE1)
(11)C150 Body Harness to Chassis Harness
(12)C155 Body Harness to Chassis Harness
(13)Wheel Well-RF
(14)G106
Figure 10:

Body Harness - LF Passenger


Object Number: 1550410  Size: LF
(1)C370 Body Harness to Left Rear Door Harness
(2)S300
(3)G300
(4)S309
(5)S245
(6)C207 Body Harness to I/P Harness (UQA)
(7)C500 Body Harness to Driver Door Harness
(8)C200 Body Harness to I/P Harness
(9)C335 Body Harness to Sunroof Switch Jumper Harness (CF5 or UE1)
(10)C330 Body Harness to Sunroof Motor Harness (CF5)
(11)S210
(12)S224
(13)S264
(14)Inside Rearview Mirror Connector
(15)S294
(16)S295
(17)S215
(18)S213
(19)S209
(20)S344
(21)C307 Body Harness to Driver Seat Harness (YC3)
Figure 11:

Body Harness - RF Passenger


Object Number: 1550411  Size: LF
(1)S344
(2)S244
(3)C350 Body Harness to Dome Lamp Harness
(4)S247
(5)C600 Body Harness to Driver Door Harness
(6)S292
(7)C204 Body Harness to I/P Harness
(8)S305
(9)G320
(10)S323
(11)S320
(12)C380 Body Harness to Right Rear Door Harness
(13)S347
(14)S315
(15)G310
(16)S310
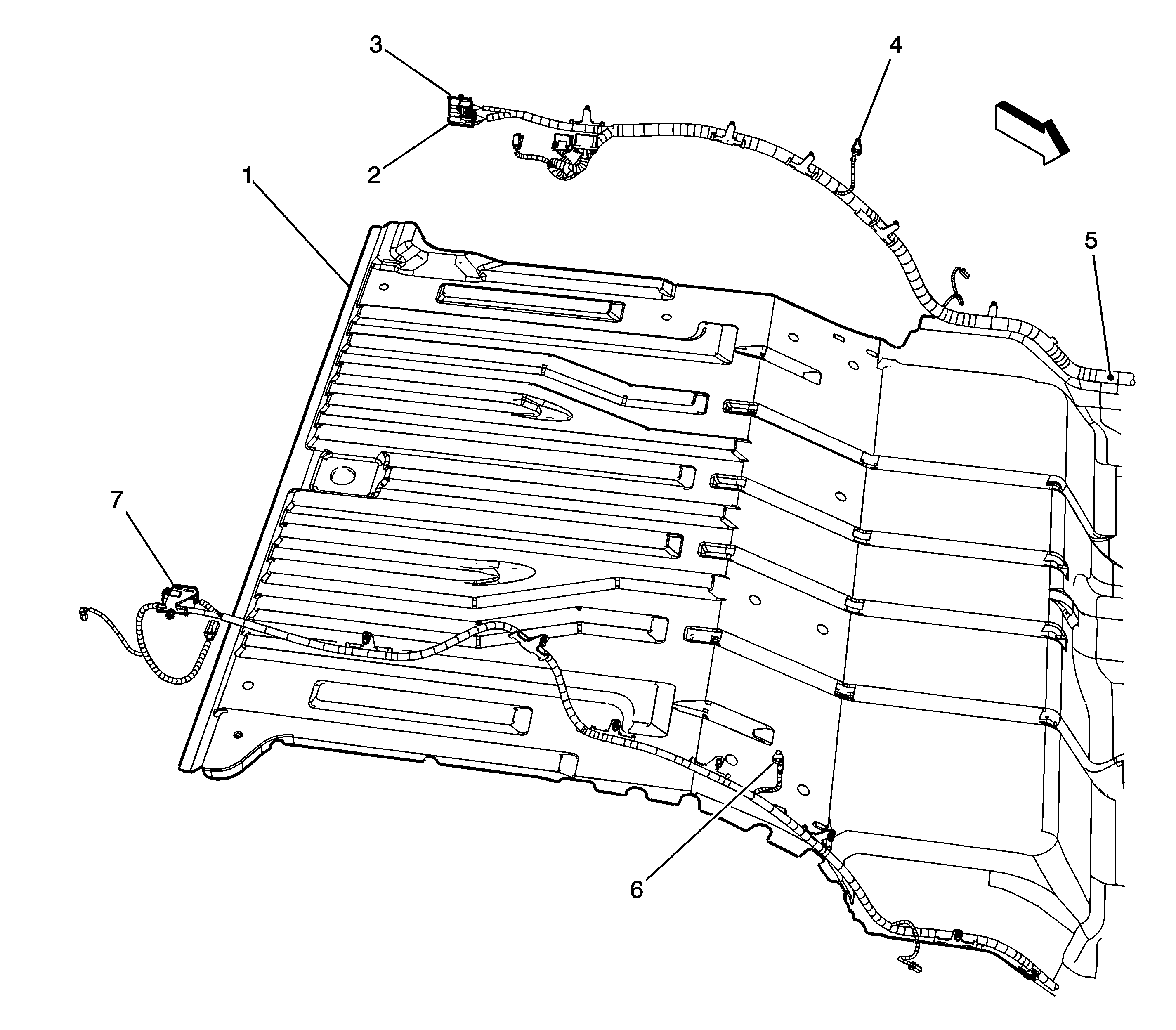
Figure 12:

Body Harness - Rear


Object Number: 1550412  Size: LF
(1)Floor Pan
(2)C450 Body Harness to Endgate Harness
(3)C430 Body Harness to Left Tail Lamp Harness
(4)G345 and G350
(5)S314
(6)G340
(7)C410 Body Harness to Right Tail Lamp Harness
Figure 13:

Driver Seat Components


Object Number: 1575915  Size: LF
(1)Heater Element Seat Back - Driver (KA1)
(2)Lumbar Pump Motor - Driver (AG1)
(3)Heater Element Seat Cushion - Driver (KA1)
(4)S306 (AG1)
(5)S312 (AG1)
(6)Seat Circuit Breaker (AG1)
(7)C307 (AG1)
(8)C308
(9)Heated Seat Module - Driver (KA1)
(10)Inflatable Restraint Seat Position Sensor (SPS) - Left
(11)Seat Motors - Driver (AG1)
(12)Seat Adjuster Switch - Driver (AG1)
(13)Lumbar Adjuster/Heater Switch - Driver (AG1)
(14)Seat Belt Buckle - Driver
Figure 14:

Passenger Seat Components


Object Number: 1821862  Size: LF
(1)Inflatable Restraint Passenger Presence System (PPS) Module
(2)Heater Element Seat Cushion - Passenger (KA1)
(3)Seat Belt Buckle - Passenger C1
(4)Seat Belt Buckle - Passenger C2
(5)C320
(6)C315
(7)C318 (AG2)
(8)S341 (AG2)
(9)S316 (AG2)
(10)Inflatable Restraint Passenger Presence System (PPS)
(11)Inflatable Restraint Seat Position Sensor (SPS) - Right
(12)Lumbar Pump Motor - Passenger (AG2)
(13)Heater Element Seat Back - Passenger (KA1)
(14)Heated Seat Module - Passenger (KA1)
(15)Seat Motors - Passenger (AG2)
(16)Seat Belt Buckle - Passenger
(17)Lumbar Adjuster/Heater Switch - Passenger (AG2)
(18)Seat Adjuster Switch - Passenger (AG2)
Figure 15:

Dome Lamp and Onstar Jumper Harness


Object Number: 1550392  Size: LF
(1)Headliner (w/o CF5)
(2)Cellular Microphone
(3)C335 Onstar Jumper Harness to Body Harness
(4)C350 Dome Lamp Jumper Harness to Body Harness
(5)S330
(6)S340 (YC3)
(7)S350
Figure 16:

Driver Door Harness


Object Number: 1550390  Size: LF
(1)Door Frame
(2)C510 LF Door Harness to Rearview Mirror Harness
(3)S529
(4)S514
(5)S590
(6)C500 Driver Door Harness to Body Harness
Figure 17:

Passenger Door Harness


Object Number: 1550389  Size: LF
(1)Door Frame
(2)C600 RF Door Harness to Body Harness
(3)Door Lock Actuator-Passenger Connector
(4)Inflatable Restraint Side Impact Sensor (SIS)-Right Connector
(5)C610 Passenger Door Harness to Rearview Mirror Harness
(6)Door Lock and Window Switch - Passenger Connector
Figure 18:

Left Rear Door Harness


Object Number: 1550387  Size: LF
(1)Door Frame
(2)C370 Left Rear Door Harness to Body Harness
(3)Door Lock Actuator Connector
(4)Speaker - LR Door
Figure 19:

Entertainment Components


Object Number: 1550566  Size: LF
(1)Cellular, Navigation and Digital Radio Antenna
(2)Digital Radio Receiver
(3)Radio Antenna
(4)Speaker - RF Tweeter
(5)C220 - Base Radio Coax
(6)C221 - Digital Radio Coax
(7)C222 - Vehicle Communication Interface Module (VCIM) Coax
(8)Speaker-RF Door
(9)Speaker-RR Door
(10)Vehicle Communication Interface Module (VCIM)
(11)Speaker-LR Door
(12)Speaker-Subwoofer
(13)Audio Amplifier
(14)Speaker-RF Door
(15)Radio
(16)Speaker - LF Tweeter
Figure 20:

Chassis Harness


Object Number: 1550398  Size: LF
(1)C420 w/o UY7
(2)C420 w/UY7
(3)G420
(4)S359
(5)C155 Chassis Harness to Body Harness
(6)C150 Chassis Harness to Body Harness
Figure 21:

Endgate Harness Components


Object Number: 1550692  Size: LF
(1)Rear Window Wiper Motor
(2)Center High Mounted Stop Lamp (CHMSL)
(3)Rear Window Defogger Grid Connectors
(4)Rear Window Wiper Motor
(5)S900
(6)C901 Endgate Harness to CHMSL Jumper Harness
(7)C450 Endgate Harness to Body Harness
(8)Swinggate Lock Actuator-Right