GM Service Manual Online
For 1990-2009 cars only
Connector 1: Powertrain Control Module (PCM) C1
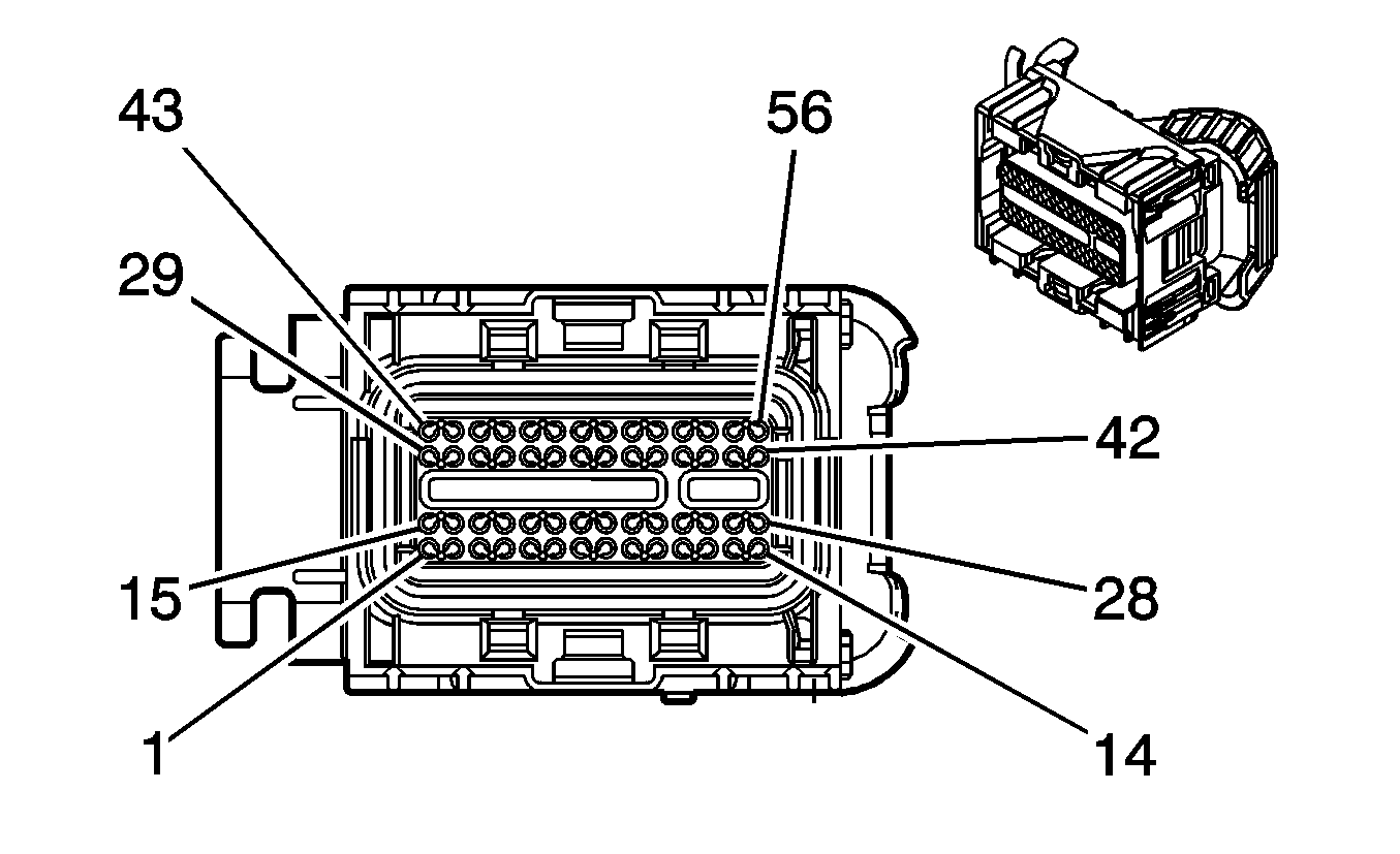
Connector 2: Powertrain Control Module (PCM) C2
Connector 3: Powertrain Control Module (PCM) C3 (M30)
Connector 4: Powertrain Control Module (PCM) C3 (MA5)

Powertrain Control Module (PCM) C1


Object Number: 1567532  Size: CH

Connector Part Information

  • OEM: 15487350
  • Service: 88953346
  • Description: 34-Way F Micro 64 Series Sealed (BU)

Terminal Part Information

  • Terminal/Tray: 15359541/4
  • Core/Insulation Crimp: M/M
  • Release Tool/Test Probe: 15381651-2/J-35616-64A (L-BU)

Powertrain Control Module (PCM) C1

Pin

Wire Color

Circuit No.

Function

1-2

--

--

Not Available

3

GY/BK

1694

4WD Low Signal

4-5

--

--

Not Available

6

D-GN/WH

459

A/C Compressor Clutch Relay Control

7

BN

1271

Low Reference

8

PU

1272

Low Reference

9-11

--

--

Not Available

12

PU

1589

Fuel Level Sensor Signal

13

PK

739

Ignition 1 Voltage

14

--

--

Not Available

15

PU

1807

Class 2 Serial Data

16

PU

1807

Class 2 Serial Data

17

GY

2700

5-Volt Reference

18

BN

4

Accessory Voltage

19

PK

639

Ignition 1 Voltage

20

OG

440

Battery Positive Voltage

21

D-GN/WH

817

Vehicle Speed Signal

22

WH

1310

EVAP Canister Vent Solenoid Control

23

BN/WH

6254

ISS Signal

24

D-GN

890

Fuel Tank Pressure Sensor Signal

25

--

--

Not Available

26

RD/BK

380

A/C Refrigerant Pressure Sensor Signal

27

D-BU

1161

APP Sensor 1 Signal

28

--

--

Not Available

29

BK

2759

Low Reference

30

WH/BK

1164

5-Volt Reference

31

--

--

Not Available

32

L-BU

20

Stop Lamp Supply Voltage

33

--

--

Not Available

34

BN

436

Air Pump Relay Control

35-36

--

--

Not Available

37

D-GN/WH

465

Fuel Pump Relay Control

38

WH/BK

448

Powertrain Diagnostic Enable

39

--

--

Not Available

40

BN/WH

419

MIL Control

41

L-BU

1162

APP Sensor 2 Signal

42

--

--

Not Available

43

TN

1274

5-Volt Reference

44

GY

1884

Cruise Control Switch Signal

45

--

--

Not Available

46

PU

420

TCC Brake Switch/Cruise Control Release Signal

47

GY

2709

5-Volt Reference

48

YE/BK

625

Starter Enable Relay Control

49-52

--

--

Not Available

53

BN/WH

379

CPP Switch Signal

54

D-GN

1433

PNP/Clutch Start Switch Signal

55

--

--

Not Available

56

BK

2751

Low Reference

Powertrain Control Module (PCM) C2


Object Number: 1567222  Size: CH

Connector Part Information

  • OEM: 13513936
  • Service: 88953274
  • Description: 47-Way F GT 280/Micro-Pack 64 Series, Sealed (BK)

Terminal Part Information

  • Pins: 1-69
  • Terminal/Tray: 15359541/4
  • Core/Insulation Crimp: M/M
  • Release Tool/Test Probe: 15381651-2/J-35616-64A (L-BU)
  • Pins: 73
  • Terminal/Tray: 15304720/19
  • Core/Insulation Crimp: 4/5
  • Release Tool/Test Probe: 15381651-2/J-35616-4A (PU)

Powertrain Control Module (PCM) C2

Pin

Wire Color

Circuit No.

Function

1

PU

5428

Generator Regulator Control

2

D-GN

485

TP Sensor 1 Signal

3-4

--

--

Not Available

5

BN/WH

6789

5-Volt Reference (K18)

6

GY

2701

5-Volt Reference

7

PU

486

TP Sensor 2 Signal

8

GY

2704

5-Volt Reference

9

L-BU/BK

1688

5-Volt Reference

10-12

--

--

Not Available

13

PU

2329

Camshaft Position Signal

14

PK/BK

632

Low Reference

15

L-BU

2344

Low Reference

16

--

--

Not Available

17

YE

573

CKP Sensor 1 Signal

18

PU

574

Low Reference

19

BK

2199

Low Reference

20

OG/BK

469

Low Reference

21

--

--

Not Available

22

RD

631

12-Volt Reference

23

RD

1673

12-Volt Reference

24-25

--

--

Not Available

26

BK

630

Camshaft Position Signal

27

--

--

Not Available

28

PU

421

AIR Solenoid Relay Control (K18)

29

--

--

Not Available

30

D-BU/WH

6785

Low Reference

31

--

--

Not Available

32

TN/WH

1653

HO2S Low Signal Bank 1 Sensor 1

33

BK

1744

Fuel Injector 1 Control

34

--

--

Not Available

35

YE

410

ECT Sensor Signal

36

BK/WH

1704

Low Reference

37

L-GN

432

MAP Sensor Signal

38

--

--

Not Available

39

BK

2752

Low Reference

40

PU

2121

IC 1 Control

41

YE

492

MAF Sensor Signal

42

D-GN

2125

IC 5 Control

43

--

--

Not Available

44

RD/WH

2122

IC 2 Control

45

GY

23

Generator Field Duty Cycle Signal

46

--

--

Not Available

47

GY

2198

CMP Actuator Solenoid High Control

48

D-GN

1655

HO2S High Signal Bank 1 Sensor 1

49-50

--

--

Not Available

51

TN

472

IAT Sensor Signal

52

BK

2761

Low Reference

53

PK/BK

1746

Fuel Injector 3 Control

54

L-BU/BK

844

Fuel Injector 4 Control

55

BK/WH

845

Fuel Injector 5 Control

56

L-GN/BK

1745

Fuel Injector 2 Control

57

--

--

Not Available

58

D-GN

676

HO2S Heater High Control Bank 1 Sensor 1

59

L-BU

2123

IC 3 Control

60

D-GN/WH

2124

IC 4 Control

61-63

--

--

Not Available

64

BK

2760

Low Reference

65

BN

582

TAC Motor Control - 2

66

YE

581

TAC Motor Control - 1

67

--

--

Not Available

68

D-BU

496

KS Signal

69

GY

1716

KS Signal

70-72

--

--

Not Available

73

BK/WH

451

Ground

Powertrain Control Module (PCM) C3 (M30)


Object Number: 1567143  Size: CH

Connector Part Information

  • OEM: 13513942
  • Service: 88953347
  • Description: 28-Way F Micro 64 Series Sealed (GY)

Terminal Part Information

  • Terminal/Tray: 15359541/4
  • Core/Insulation Crimp: M/M
  • Release Tool/Test Probe: 15381651-2/J-35616-64A (L-BU)

Powertrain Control Module (PCM) C3 (M30)

Pin

Wire Color

Circuit No.

Function

1

PK

1224

Transmission Fluid Pressure Switch Signal A

2

GY

773

Transmission Range Switch Signal C

3

--

--

Not Available

4

TN/WH

1669

HO2S Low Signal Bank 1 Sensor 2

5

--

--

Not Available

6

RD/BK

1228

PC Solenoid Valve High Control (Sol. A)

7

YE/BK

1227

TFT Sensor Signal

8-14

--

--

Not Available

15

TN/BK

231

Oil Pressure Switch Signal

16

--

--

Not Available

17

BK

2762

Low Reference

18

--

--

Not Available

19

PU/WH

1668

HO2S High Signal Bank 1 Sensor 2

20

BK/WH

771

Transmission Range Switch Signal A

21

WH

687

3-2 Shift Solenoid Valve Control

22-24

--

--

Not Available

25

TN/BK

422

TCC Solenoid Valve Control

26-29

--

--

Not Available

30

RD

1226

Transmission Fluid Pressure Switch Signal C

31

YE

6787

Air Injection Reaction Control Valve #1 Control (K18)

32

--

--

Not Available

33

L-GN

1222

1-2 Shift Solenoid Valve Control

34

TN/BK

464

Delivered Torque Signal

35

YE/BK

1223

2-3 Shift Solenoid Valve Control

36

PU

114

Low Reference

37

D-GN/WH

428

EVAP Canister Purge Solenoid Control

38

--

--

Not Available

39

BN

418

TCC PWM Solenoid Valve Control

40-42

--

--

Not Available

43

D-BU

1225

Transmission Fluid Pressure Switch Signal B

44

PU

401

Signal Low - Front

45

YE

400

Signal High - Front

46

BK/WH

1423

HO2S Heater Low Control Bank 1 Sensor 2

47

OG/BK

463

Requested Torque Signal

48

L-BU/WH

1229

PC Solenoid Valve Low Control (Sol.A)

49

D-BU

6253

Low Reference

50

YE

772

Transmission Range Switch Signal B

51

--

--

Not Available

52

WH

776

Transmission Range Switch Signal P

53-56

--

--

Not Available

Powertrain Control Module (PCM) C3 (MA5)


Object Number: 1567137  Size: CH

Connector Part Information

  • OEM: 15492010
  • Service: See Catalog
  • Description: 11-Way F Micro 64 Series Sealed (GY)

Terminal Part Information

  • Terminal/Tray: 15359541/4
  • Core/Insulation Crimp: M/M
  • Release Tool/Test Probe: 15381651-2/J-35616-64A (L-BU)

Powertrain Control Module (PCM) C3 (MA5)

Pin

Wire Color

Circuit No.

Function

1-3

--

--

Not Available

4

TN/WH

1669

HO2S Low Signal Bank 1 Sensor 2

5-14

--

--

Not Available

15

TN/BK

231

Oil Pressure Switch Signal

16-18

--

--

Not Available

19

PU/WH

1668

HO2S High Signal Bank 1 Sensor 2

20-30

--

--

Not Available

31

YE

6787

Air Injection Reaction Control Valve #1 Control (K18)

32-33

--

--

Not Available

34

TN/BK

464

Delivered Torque Signal

35

--

--

Not Available

36

PU

114

Low Reference

37

D-GN/WH

428

EVAP Canister Purge Solenoid Control

38-43

--

--

Not Available

44

PU

401

Signal Low - Front

45

YE

400

Signal High - Front

46

BK/WH

1423

HO2S Heater Low Control Bank 1 Sensor 2

47

OG/BK

463

Requested Torque Signal

48-56

--

--

Not Available