GM Service Manual Online
For 1990-2009 cars only

Object Number: 1595068  Size: SF

Callout

Component Name

Caution: Refer to Safety Glasses Caution in the Preface section.

Caution: Refer to Brake Fluid Irritant Caution in the Preface section.

Notice: Refer to Brake Fluid Effects on Paint and Electrical Components Notice in the Preface section.

Fastener Tightening Specifications: Refer to Fastener Tightening Specifications .

Preliminary Procedure

Remove the power brake booster accumulator. Refer to Power Brake Booster Pump Fluid Accumulator Replacement .

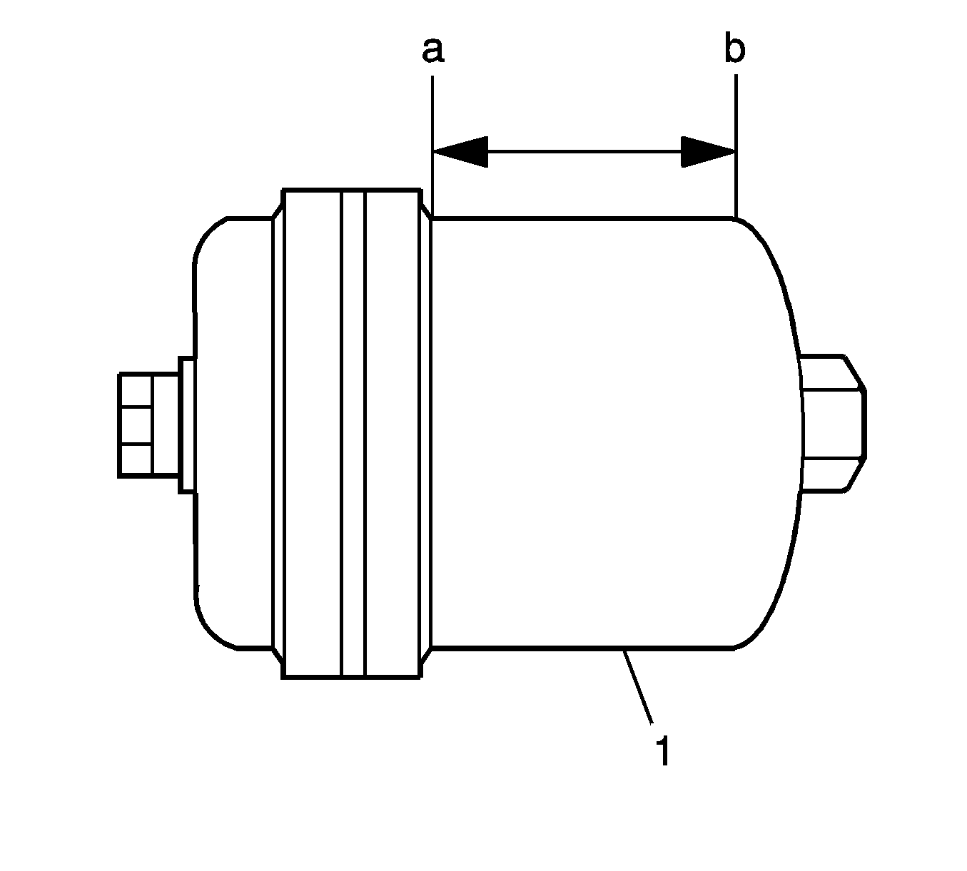
1

Accumulator, Power Brake Booster

Tip

  1. Cover the accumulator with a cloth.
  2. Using a hand saw, cut the accumulator body between A and B in order to discharge the gas and fluid inside.
  3. Discard both accumulator halves in the proper waste container.