GM Service Manual Online
For 1990-2009 cars only

Exhaust Muffler Replacement LLR

Removal Procedure

Caution: Refer to Exhaust Service Caution in the Preface section.

Caution: Refer to Protective Goggles and Glove Caution in the Preface section.

  1. Raise and support the vehicle. Refer to Lifting and Jacking the Vehicle .

  2. Object Number: 1313624  Size: SH

    Important: Use care not to over extend the rear brake hose.

  3. Complete the following in order to gain clearance to remove the muffler:
  4. 2.1. Remove the lower shock absorber nuts (9) and bolts (8).
    2.2. Remove the right rear leaf spring nut (2) and bolt (1).
    2.3. Wedge a block of wood (5) between the frame (4) and the rear axle (6).

    Object Number: 1560112  Size: SH
  5. Remove the nuts securing the muffler to the catalytic converter.

  6. Object Number: 1560113  Size: MH

    Important: Do not use oil base lubricants.

  7. Apply a soapy solution to the exhaust muffler hanger rod (3) in order to ease the removal of the exhaust hanger (1).
  8. Pry the exhaust hanger (1) free from the exhaust muffler hanger rod (3).

  9. Object Number: 1560118  Size: MH

    Important: Do not use oil base lubricants.

  10. Apply a soapy solution to the exhaust muffler hanger rod (2) in order to ease the removal of the exhaust hanger (3).
  11. Pry the exhaust hanger (3) free from the exhaust muffler hanger rod  (2).

  12. Object Number: 1560120  Size: MH

    Important: Do not use oil base lubricants.

  13. Apply a soapy solution to the exhaust muffler hanger rod (3) in order to ease the removal of the exhaust hanger (2).
  14. Pry the exhaust hanger (2) free from the exhaust muffler hanger rod (3).
  15. Complete the following in order to remove the muffler from the vehicle:
  16. 10.1. Slide the muffler rearward from the catalytic converter.
    10.2. Rotate the muffler 90 degrees counterclockwise from the rear.
    10.3. Carefully remove the muffler rearward from the vehicle.

Installation Procedure

  1. Complete the following in order to install the muffler to the vehicle:
  2. 1.1. With the muffler turned 90 degrees counterclockwise from the rear, carefully insert the muffler over the rear axle until the flange is near the catalytic converter.
    1.2. Rotate the muffler clockwise 90 degrees to the installed position.
    1.3. Slide the muffler forward into position, aligning the studs with the rear of the catalytic converter.

    Object Number: 1560120  Size: MH

    Important: Do not use oil base lubricants.

  3. Apply a soapy solution to the following in order to ease the installation of the hanger (2):
  4. • The inner diameter of the exhaust muffler hanger (2)
    • The exhaust muffler hanger rod (3)
  5. Press the exhaust muffler hanger (3) over the exhaust pipe hanger rod (1).

  6. Object Number: 1560118  Size: MH

    Important: Do not use oil base lubricants.

  7. Apply a soapy solution to the following in order to ease the installation of the hanger (3):
  8. • The inner diameter of the exhaust muffler hanger (3)
    • The exhaust muffler hanger rod (2)
  9. Press the exhaust muffler hanger (3) over the exhaust pipe hanger rod (1).

  10. Object Number: 1560113  Size: MH

    Important: Do not use oil base lubricants.

  11. Apply a soapy solution to the following in order to ease the installation of the hanger (1):
  12. • The inner diameter of the exhaust muffler hanger (1)
    • The exhaust muffler hanger rod (3)
  13. Press the exhaust muffler hanger (1) over the exhaust pipe hanger rod (3).
  14. Notice: Refer to Fastener Notice in the Preface section.


    Object Number: 1560112  Size: SH
  15. Install the nuts securing the muffler to the catalytic converter. Tighten the muffler nuts by hand until each contacts the metal flange.
  16. Tighten
    Tighten the nuts to 45 N·m (33 lb ft).


    Object Number: 1313624  Size: SH
  17. Remove the block of wood (5) from between the frame (4) and rear axle (6).
  18. Install the right rear leaf spring bolt (1) and nut (2).
  19. Tighten
    Tighten the bolt and nut to 85 N·m (63 lb ft).

  20. Install the lower shock absorber bolts (8) and nuts (9).
  21. Tighten
    Tighten the bolts and nuts to 95 N·m (70 lb ft).

  22. Inspect the exhaust system for leaks and underbody contact.
  23. Lower the vehicle.

Exhaust Muffler Replacement LH8EQ9/NA3

Removal Procedure

Caution: Refer to Exhaust Service Caution in the Preface section.

Caution: Refer to Protective Goggles and Glove Caution in the Preface section.

  1. Raise and support the vehicle. Refer to Lifting and Jacking the Vehicle .
  2. Remove the fuel tank assembly. Fuel Tank Replacement .

  3. Object Number: 1902479  Size: SH
  4. Remove the catalytic converter nuts (1).
  5. Loosen the front exhaust muffler pipe at the catalytic converter clamp (2).
  6. Separate the front exhaust muffler pipe hanger from the insulator.
  7. Separate the front exhaust muffler pipe from the catalytic converters.

  8. Object Number: 1902480  Size: SH
  9. Separate the rear exhaust muffler pipe hangers from the exhaust insulators (1).
  10. With the aid of an assistant, remove the exhaust muffler pipe (2) from the vehicle.

Installation Procedure


    Object Number: 1902479  Size: SH
  1. To aid in the installation of the exhaust muffler pipe, add a lubricant to the exhaust insulators.
  2. Position the front exhaust muffler pipe to the catalytic converters.
  3. Install the front exhaust muffler pipe to the front exhaust insulator.
  4. Notice: Refer to Fastener Notice in the Preface section.

  5. Install the catalytic converter nuts (1).
  6. Tighten
    Tighten the catalytic converter nuts to 45 N·m(33 lb ft).

  7. Tighten the exhaust muffler clamp at the catalytic converter (2).
  8. Tighten
    Tighten the exhaust muffler clamp to 43 N·m (32 lb ft).


    Object Number: 1902480  Size: SH
  9. Install the exhaust muffler pipe to the rear exhaust insulators (1).
  10. Install the fuel tank assembly. Refer to Fuel Tank Replacement .
  11. Lower the vehicle.
  12. Inspect the exhaust system for leaks and underbody clearance.

Exhaust Muffler Replacement LH8

Removal Procedure

Caution: Refer to Exhaust Service Caution in the Preface section.

Caution: Refer to Protective Goggles and Glove Caution in the Preface section.


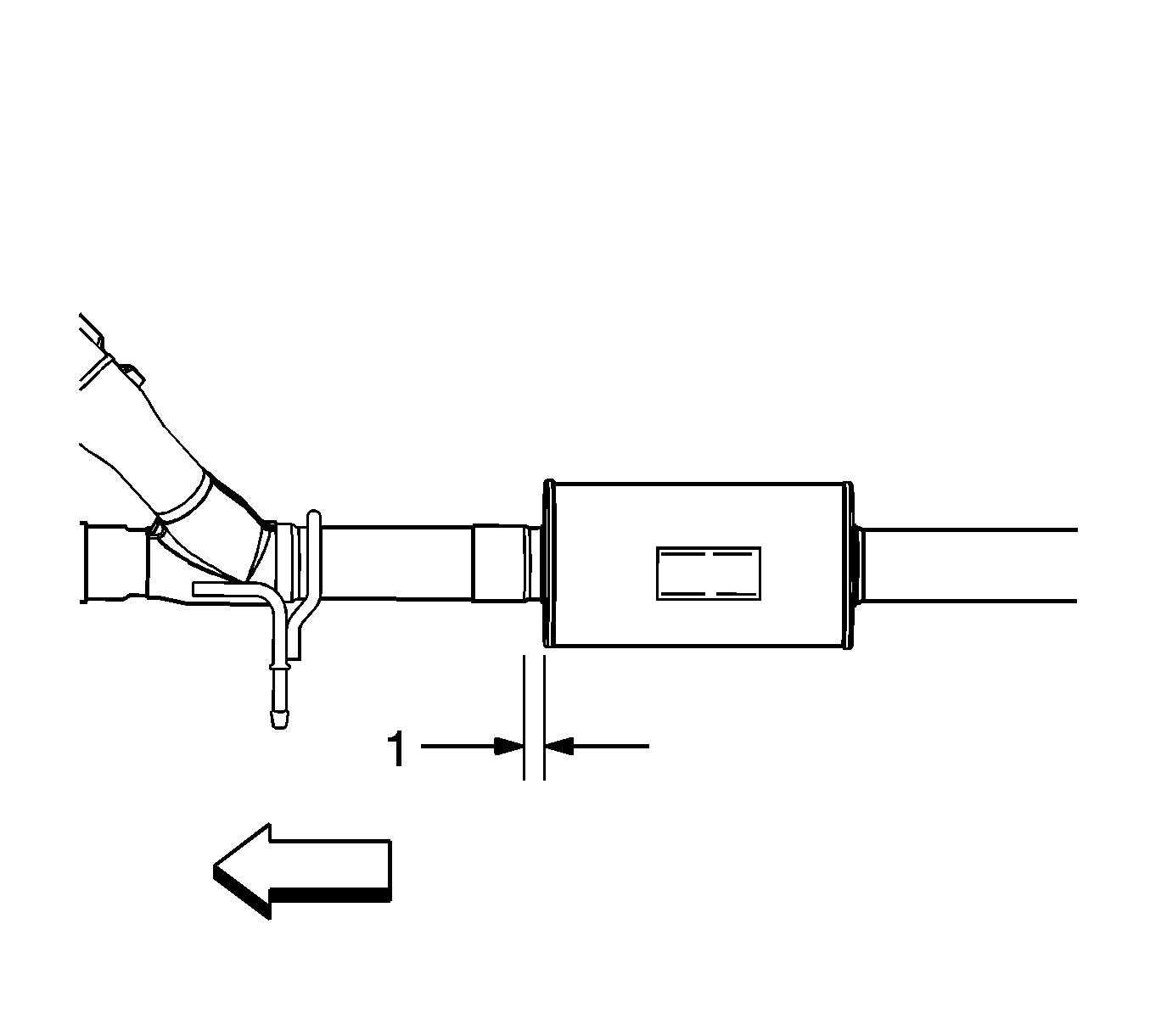
    Object Number: 1903147  Size: SH
  1. Raise and support the vehicle. Refer to Lifting and Jacking the Vehicle .
  2. Measure from the inlet of the resonator towards the front of the vehicle 20 mm (.79 in) (1) and make a mark.
  3. Cut the muffler pipe at this mark.

  4. Object Number: 1903148  Size: SH
  5. Separate the muffler pipe from the insulators (1).
  6. With the aid of an assistant remove the muffler pipe (2) from the front exhaust pipe.

  7. Object Number: 1902479  Size: SH
  8. If replacing the front exhaust pipe, perform the following steps, otherwise proceed to step 7 in the installation procedure.
  9. Remove the catalytic converter to the muffler pipe nuts (1).
  10. Loosen the muffler pipe clamp (2) at the catalytic converter.

  11. Object Number: 1903149  Size: SH
  12. Separate the front exhaust pipe from the insulator (1).
  13. Remove the front exhaust pipe (2) from the catalytic converters.

Installation Procedure


    Object Number: 1903149  Size: SH
  1. To aid in the installation of the front exhaust pipe and the muffler pipe, add a non petroleum based lubricant to the hangers and the insulators.
  2. If replacing the front exhaust pipe perform the following steps, otherwise proceed to step 7.
  3. Position the front exhaust pipe to the catalytic converters.
  4. Install the front exhaust pipe (2) to the insulators (1).
  5. Notice: Refer to Fastener Notice in the Preface section.


    Object Number: 1902479  Size: SH
  6. Install the front exhaust pipe to the catalytic converter nuts (1).
  7. Tighten
    Tighten the catalytic converter nuts to 45 N·m (33 lb ft).

  8. Tighten the front exhaust pipe clamp (2) at the catalytic converter.
  9. Tighten
    Tighten the front exhaust pipe clamp to 43 N·m (32 lb ft).


    Object Number: 1903148  Size: SH
  10. Install a service clamp over the front exhaust pipe.
  11. Important: The service muffler will come with an oversized inlet to the front exhaust pipe.

  12. Install the muffler pipe (2) to the front exhaust pipe.
  13. Attach the muffler pipe to the insulators (1).
  14. Position the service clamp over the front exhaust pipe joint and tighten the service clamp.
  15. Tighten
    Tighten the service clamp to 43 N·m(32 lb ft).

  16. Inspect the exhaust system for leaks and underbody clearance.