GM Service Manual Online
For 1990-2009 cars only

Storing a Flat or Spare Tire and Tools H3

Caution: Storing a jack, a tire, or other equipment in the passenger compartment of the vehicle could cause injury. In a sudden stop or collision, loose equipment could strike someone. Store all these in the proper place.

To store the flat or spare tire on the spare tire mount:

  1. Slide the flat or spare tire onto the swing-gate.
  2. You may need assistance to do this.

  3. Reinstall the nuts to retain the flat or spare tire.
  4. Tighten the nuts by hand.
  5. Caution: Incorrect or improperly tightened wheel nuts can cause the wheel to come loose and even come off. This could lead to a crash. If you have to replace them, be sure to get new original equipment wheel nuts. Stop somewhere as soon as you can and have the nuts tightened with a torque wrench to the proper torque specification. See Capacities and Specifications for wheel nut torque specification.


    Object Number: 2038987  Size: G1
  6. Use the wheel wrench to tighten the nuts firmly. Try to move the tire back and forth slightly to be sure it is secure.
  7. Reinstall the center tire cover onto the spare or flat tire.
  8. If the vehicle has a spare tire cover close the cover and latch the side latch.

To store the jack tool bag and jack:

  1. Return the tools to the jack tool bag.

  2. Object Number: 2038977  Size: G1
  3. Secure the tool bag to the jack by securely wrapping the straps around the jack. Then, slide the straps through the rings on the bag and secure.
  4. Position the jack and jack tool bag in the swing-gate.
  5. When reinstalling the jack and jack tool bag, make sure the jack base is securely seated behind the tabs in the swing-gate.


    Object Number: 2038974  Size: G1
  6. Reinstall the wing nut retainer to fasten the jack and tool bag in the storage compartment.
  7. Make sure that the wing nut passes through the tool bag and the jack before tightening it.

  8. Turn the wing nut retainer clockwise to secure.
  9. Reinstall the compartment cover by inserting the locator tabs in the holes in the swing-gate. Push the latches down to secure.

Storing a Flat or Spare Tire and Tools H3T

Caution: Storing a jack, a tire, or other equipment in the passenger compartment of the vehicle could cause injury. In a sudden stop or collision, loose equipment could strike someone. Store all these in the proper place.


Object Number: 2083522  Size: G1
  1. Spare Tire/Flat Tire (Valve Stem Pointed Down)

  2. Tire/Wheel Retainer

  3. Hoist Cable

  4. Hoist Assembly

  5. Hoist Shaft

  6. Jack Handle Extension(s)

  7. Wheel Wrench

  8. Hoist Shaft Access Ramp

  9. Hoist End of the Extension Tool

To store the flat or spare tire on the spare tire mount:

  1. Place the flat or spare tire (A) on the ground at the rear of the vehicle with the valve stem pointed down and to the rear.

  2. Object Number: 2038994  Size: G1

    Object Number: 2038993  Size: G1
  3. Tilt the tire. Separate the tire/wheel retainer (B) from the guide pin. Pull the pin through the center of the wheel. Tilt the tire/wheel retainer (B) down through the center wheel opening.
  4. Make sure the tire/wheel retainer (B) is fully seated across the underside of the wheel.

  5. Object Number: 2083538  Size: G1
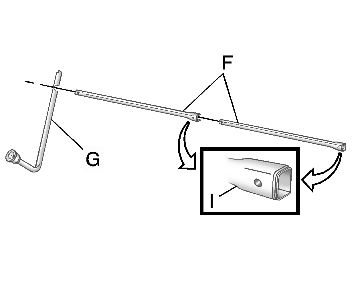
  6. Assembly the two jack handle extensions (F) and wheel wrench (G).

  7. Object Number: 2083540  Size: G1
  8. Insert the hoist end of the extension tool (I) through the hoist shaft access ramp (H).
  9. Raise the tire part upward. Make sure the tire/wheel retainer (B) is seated in the wheel opening.
  10. Raise the tire fully against the underside of the vehicle by turning the wheel wrench clockwise until you hear two clicks or feel it skip twice. You cannot overtighten the cable.

  11. Object Number: 2038951  Size: G1
  12. Push, pull (A) and then try to turn (B) the tire. If the tire moves, use the wheel wrench to tighten the cable.

To store the jack tool bag and jack:

  1. Return the tools to the jack tool bag.
  2. Secure the tool bag to the jack by securely wrapping the straps around the jack. Then, slide the straps through the rings on the bag and secure.

  3. Object Number: 2055044  Size: G1
  4. Reinstall the wing nut retainer to fasten the jack and tool bag under the rear seat.
  5. Make sure that the wing nut passes through the tool bag and the jack before tightening it.

  6. Turn the wing nut retainer clockwise to secure.