Removal Procedure
- Disconnect the negative battery cable.
- Remove the screws (6, 7, 8) and the lower steering column cover panel (5).
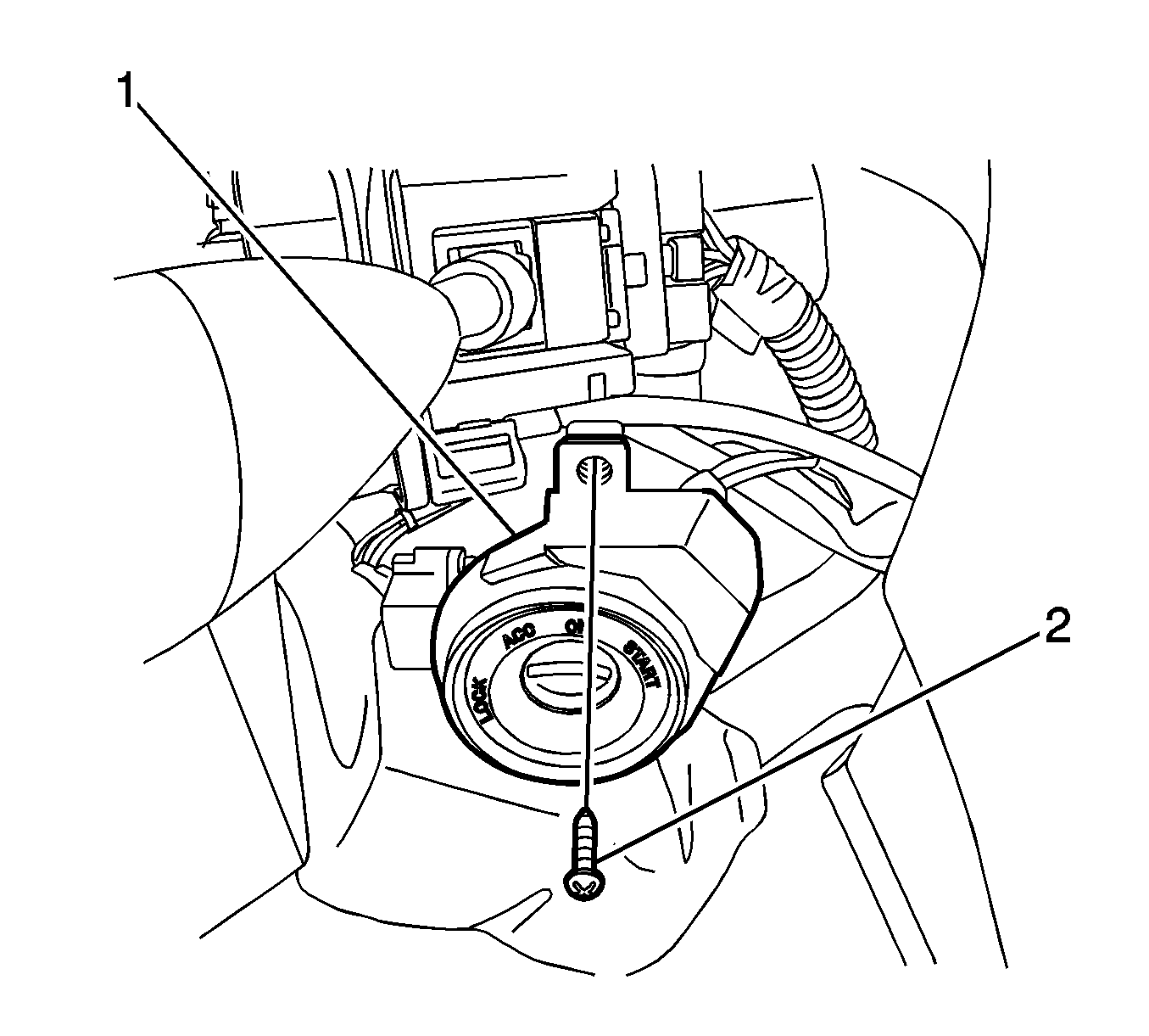
- Complete the following steps in order to remove the key reminder switch (3):
| 3.2. | Remove the screws (1,2). |
| 3.3. | Remove the key reminder switch. |
| 3.4. | Disconnect the key reminder switch connector. |
- Complete the following steps in order to remove the ignition lock cylinder (2):
| 4.1. | Turn the key to the ACC position. |
| 4.2. | Use a 2.5 allen wrench, or equivalent, in order to press the detent spring in the ignition lock cylinder. |
| 4.3. | Remove the ignition lock cylinder. |
- Complete the following steps in order to remove the ignition switch (2):
| 5.1. | Remove the ignition switch screw (1). |
| 5.2. | Remove the ignition switch. |
| 5.3. | Disconnect the ignition switch connector. |
- Complete the following steps in order to remove the key hole illumination (1):
| 6.1. | Remove the key hole illumination screw (2). |
| 6.2. | Remove the key hole illumination. |
| 6.3. | Disconnect the key hole illumination connector. |
Installation Procedure
- Complete the following steps in order to install the key hole illumination (1):
| 1.1. | Install the key hole illumination. |
| 1.2. | Install the key hole illumination screw (2). |
| 1.3. | Connect the key hole illumination connector. |
- Complete the following steps in order to install the ignition switch (2):
| 2.1. | Install the ignition switch. |
| 2.2. | Install the ignition switch screw (1). |
| 2.3. | Connect the ignition switch connector. |
- Install the ignition lock cylinder (2).
- Remove the key.
- Complete the following steps in order to install the key reminder switch (3):
| 5.1. | Install the key reminder switch. |
| 5.2. | Install the screws (1,2). |
| 5.3. | Connect the key reminder switch connector. |
- Install the lower steering column cover panel (5) and the screws (6, 7, 8).
- Connect the negative battery cable.