GM Service Manual Online
For 1990-2009 cars only

Special Tools

EN-48356 Engine Fixture

Removal Procedure

  1. Remove the air cleaner assembly. Refer to Air Cleaner Assembly Replacement.

  2. Object Number: 2033791  Size: SH
  3. Install EN-48356 fixture .

  4. Object Number: 2049373  Size: SH
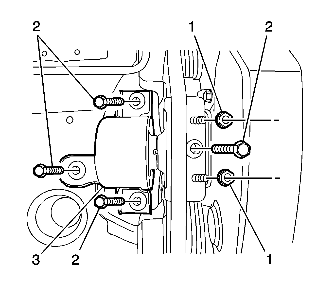
  5. Remove the engine mount bolts (2) and nuts (1).

Installation Procedure

    Caution: Refer to Fastener Caution in the Preface section.


    Object Number: 2049373  Size: SH
  1. Install the engine mount bolts (2) and nuts (1) and tighten to 55 N·m (40.5 lb ft).
  2. Remove EN-48356.
  3. Install the air cleaner assembly. Refer to Air Cleaner Assembly Replacement.