GM Service Manual Online
For 1990-2009 cars only

Water Pump Replacement 2.4L

Removal Procedure


    Object Number: 1774290  Size: SH
  1. Drain the engine cooling system to a level below the thermostat housing. Refer to Cooling System Draining and Filling .
  2. Remove the timing belt. Refer to Timing Belt Replacement .
  3. Remove the timing belt automatic tensioner.

  4. Object Number: 1774293  Size: SH
  5. Remove the water pump mounting bolts.
  6. Remove the water pump from the engine block.
  7. Remove the ring seal from the water pump.

Inspection Cleaning Procedure


    Object Number: 1774296  Size: SH
  1. Inspect the water pump body for cracks and leaks.
  2. Inspect the water pump bearing for play or abnormal noise.
  3. Inspect the water pump pulley for excessive water. If the water pump is defective, replace the water pump as a unit.
  4. Clean the mating surfaces of the water pump and the engine block.

Installation Procedure


    Object Number: 1774293  Size: SH
  1. Install a new ring seal to the water pump.
  2. Install the water pump to the engine block with the flange aligned with the recess of the rear timing belt cover.
  3. Notice: Refer to Fastener Notice in the Preface section.

  4. Secure the water pump to the engine block with the mounting bolts.
  5. Tighten
    Tighten the water pump mounting bolts to 25 N·m (18 lb ft).


    Object Number: 1774290  Size: SH
  6. Install the timing belt automatic tensioner to the oil pump with the flange inserted into the recess of the oil pump.
  7. Install the timing belt automatic tensioner bolts. Do not fully tighten the bolt at this time.
  8. Install the timing belt. Refer to Timing Belt Replacement .
  9. Refill the engine cooling system. Refer to Cooling System Draining and Filling .

Water Pump Replacement 3.2L

Removal Procedure


    Object Number: 1826324  Size: SH
  1. Allow engine to cool to ambient temperature (less than 50°C), then remove the coolant filler cap.
  2. Drain the coolant. Refer to Cooling System Draining and Filling .
  3. Loosen the water pump pulley retaining bolts (1).

  4. Object Number: 1826326  Size: SH
  5. Remove the accessory drive belt. Refer to Drive Belt Replacement .
  6. Remove the loosened water pump pulley retaining bolts (1), then remove the pulley (2) from the hub (3).

  7. Object Number: 1826327  Size: SH
  8. Remove the water pump (1) from the engine front cover.
  9. Remove water pump to front cover gasket (2) and discard.

Inspection Procedure


    Object Number: 1826328  Size: SH
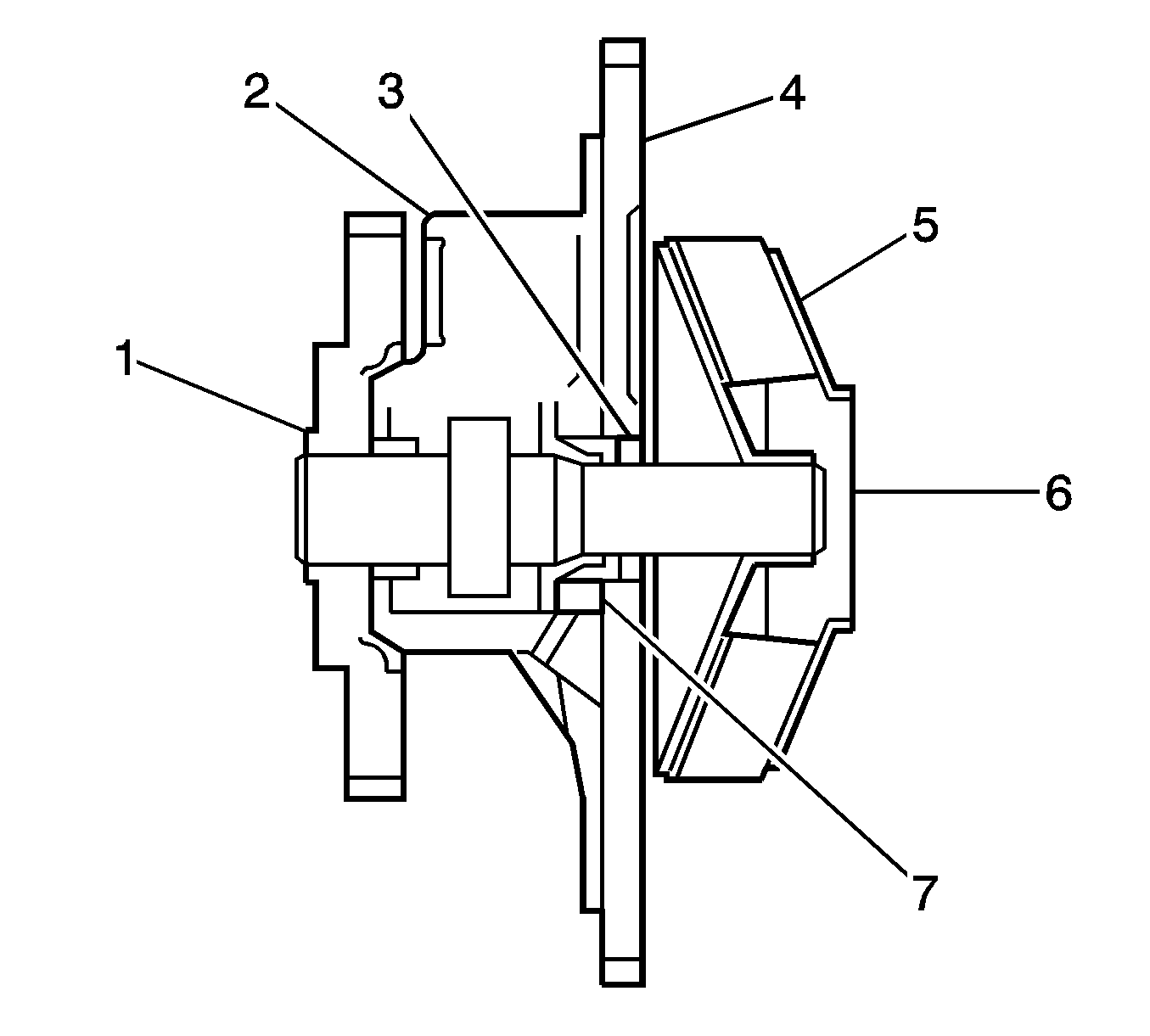
  1. Rotate the water pump hub (1). The hub and impeller (2) should turn straight and smoothly. If the hub wobbles, is noisy or feels rough when rotated, replace the water pump.
  2. Inspect the exterior of the water pump for the following:
  3. • Damage to the water pump hub bolt threads for the water pump pulley
    • Damage to the water pump bolt holes
  4. Examine the water pump shaft (3) and the weep hole (4) in the water pump housing (5) for signs of leakage. If coolant leakage is evident, replace the water pump.
  5. Inspect the interior of the water pump for the following:
  6. • Damage to the water pump gasket-sealing flange surface (6).
    • Damage, corrosion or restrictions to the water pump impeller.
    • Damage, corrosion or restrictions to the coolant passages (7).
  7. Replace the water pump as necessary.

Installation Procedure


    Object Number: 1826327  Size: SH
  1. Install a new water pump to front cover gasket (2).
  2. Notice: Refer to Fastener Notice in the Preface section.

  3. Install the water pump (1) to the engine front cover.
  4. Tighten
    Tighten the water pump retaining bolts to 25 N·m (18 lb ft).


    Object Number: 1826329  Size: SH
  5. Install the water pump pulley.
  6. Tighten
    Tighten the water pump pulley retaining bolts to 12 N·m (106 lb in).

  7. Install the accessory drive belt. Refer to Drive Belt Replacement .
  8. Refill the engine cooling system. Refer to Cooling System Draining and Filling .

Water Pump Replacement 2.0L Diesel

Removal Procedure


    Object Number: 1820436  Size: SH

    Caution: To avoid being burned, do not remove the radiator cap or surge tank cap while the engine is hot. The cooling system will release scalding fluid and steam under pressure if radiator cap or surge tank cap is removed while the engine and radiator are still hot.

  1. Drain the engine cooling system to a level below the thermostat housing. Refer to Cooling System Draining and Filling .
  2. Remove the timing belt. Refer to Timing Belt Replacement .

  3. Object Number: 1820441  Size: SH
  4. Remove the timing belt idler.
  5. Remove the fuel injection pump sprocket.
  6. Remove the timing belt rear cover.

  7. Object Number: 1820444  Size: SH
  8. Remove the water pump with the gasket.

Inspection Cleaning Procedure

  1. Inspect the water pump body for cracks and leaks.
  2. Inspect the water pump bearing for play or abnormal noise.
  3. Inspect the water pump pulley for excessive wear. If the water pump is defective, replace the water pump as a unit.
  4. Clean the mating surfaces of the water pump and the engine block.

Installation Procedure

    Notice: Refer to Fastener Notice in the Preface section.


    Object Number: 1820444  Size: SH
  1. Install the water pump with a new gasket.
  2. Tighten
    Tighten the water pump tightening bolts to 11 N·m (97.4 lb in).


    Object Number: 1820441  Size: SH
  3. Install the timing belt idler.
  4. Install the fuel injection pump sprocket.
  5. Install the timing belt rear cover.
  6. Tighten

        • Tighten the timing belt idler bolt to 52 N·m (38.4 lb ft).
        • Tighten the injection pump sprocket nut to 70 N·m (51.6 lb ft).
        • Tighten the timing belt rear cover bolts to 11 N·m (97.4 lb in).

    Object Number: 1820436  Size: SH
  7. Install the timing belt. Refer to Timing Belt Replacement .
  8. Fill the engine cooling system to a level below the thermostat housing. Refer to Cooling System Draining and Filling .