| Connector 1: | Fuse Block - I/P - Label |
| Connector 2: | Fuse Block - I/P X1 |
| Connector 3: | Fuse Block - I/P X2 |
| Connector 4: | Fuse Block - Underhood Auxiliary Label (Diesel) |
| Connector 5: | Fuse Block - Underhood Label |
| Connector 6: | Fuse Block - Underhood X1 |
| Connector 7: | Fuse Block - Underhood X2 |
| Connector 8: | Fuse Block - Underhood X3 |
Fuse | Rating | Description |
|---|---|---|
F1 | 20A | Power Window Main Switch, Sunroof Module |
F2 | 20A | Power Window Main Switch |
F3 | 10A | Front Washer Pump Relay |
F4 | -- | Not Used |
2A | BCM, Contact Coil (C105/Short Body) | |
F5 | 10A | SDM |
F6 | 10A | SDM |
F7 | -- | Not Used |
F8 | 10A | Rear Fog Lamp Relay |
F9 | 10A | Rear Fog Lamp Relay, Fuel Pump, Fuel Tank Level Sensor, ECM Mirror, Clutch Switch |
F10 | 10A | Radio, Clock |
Radio (C105/Short Body) | ||
F11 | 10A | BCM |
F12 | 2A | Ignition Switch, Immobilizer |
F13 | 10A | Instrument Cluster, Driver Information Center, Passenger Seat Belt Indicator |
Instrument Cluster, I/P Center Switch (C105/Short Body) | ||
F14 | 15A | BCM, XBCM |
BCM, XBCM, Trailer Kit Inline (C105/Short Body) | ||
F15 | 10A | Power Steering Control Module |
Power Steering Control Module, SI-ECM, Head Lamp (C105/Short Body) | ||
F16 | 20A | BCM |
F17 | 15A | Outside Rearview (OSRV) Mirror Heating Relay |
10A | Outside Rearview (OSRV) Mirror Heating Relay (C105/Short Body) | |
F18 | 10A | Manual HVAC Control, Auto HVAC Control, Air Quality Sensor, Blower High Relay, Object Detection Module, Engine Auxiliary Fuse Block (PTC Relay) |
Manual HVAC Control, Auto HVAC Control, Air Quality Sensor, Blower High Relay, Object Detection Module, Engine Auxiliary Fuse Block (PTC Relay), Heated Seat Unit (C105/Short Body) | ||
F19 | 15A | Manual HVAC Control, Auto HVAC Control, DLC |
F20 | 10A | Lift Gate Glass Relay |
-- | Not Used (C105/Short Body) | |
F21 | -- | Not Used |
10A | Tail Lamp Right, Head Lamp Right, Park Lamp Right (C105/Short Body) | |
F22 | -- | Not Used |
10A | Liftgate Latch Assembly (C105/Short Body) | |
F23 | -- | Not Used |
10A | Trailer Inline, Trailer Kit Inline (C105/Short Body) | |
F24 | 15A | BCM |
F25 | 10A | XBCM |
XBCM, Trailer Kit Inline, Power Sounder (C105/Short Body) | ||
F26 | 15A | BCM |
F27 | 15A | Front Fog Relay |
F28 | 15A | Instrument Cluster, Clock, Radio, RFA Receiver, Driver Information Center |
Instrument Cluster, I/P Center Switch, Radio, RFA Receiver, Driver Information Center, UHP Communication Box, Object Detection Module, Power Sounder, Intrusion Sensor, Inclination Sensor (C105/Short Body) | ||
F29 | 15A | TCM |
F30 | 20A | Heated Seat Switch |
-- | Not Used (C105/Short Body) | |
F31 | 15A | BCM |
F32 | 20A | Auxiliary Power Outlet - Cargo |
Auxiliary Power Outlet - Cargo, Trailer Inline, Trailer Kit Inline (C105/Short Body) | ||
F33 | 20A | Cigar Lighter |
F34 | 20A | Auxiliary Power Outlet - Cargo |
Auxiliary Power Outlet - Cargo, Trailer Relay Module, Trailer Kit Inline (C105/Short Body) | ||
F35 | 15A | BCM |
F36 | 15A | Door Dead Lock Relay |
Door/Fuel Unlock Relay (C105/Short Body) | ||
F37 | 10A | Power Window Switch |
F38 | 20A | Door Lock/Unlock Relay |
F39 | 10A | Mirror Control Switch, Folding Mirror Unit |
Mirror Control Switch, Folding Mirror Unit, I/P Center Switch, Sun Roof Module (C105/Short Body) |
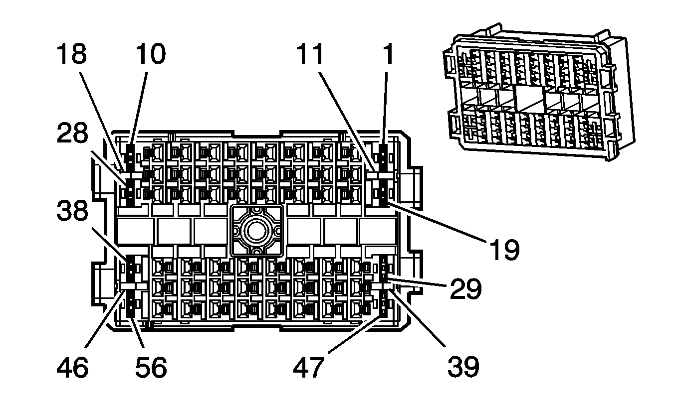
Connector Part Information
|
Pin | Wire | Circuit | Function |
|---|---|---|---|
1 | -- | -- | Not Used |
2 | YE | -- | Accessory Voltage |
3-9 | -- | -- | Not Used |
10 | PK | -- | Run/Crank Ignition 1 Voltage |
11 | PK | -- | Run/Crank Ignition 1 Voltage |
12 | PK | -- | Run/Crank Ignition 1 Voltage |
13 | -- | -- | Not Used |
14 | RD/WH | -- | Battery Positive Voltage |
15-16 | -- | -- | Not Used |
17 | YE | -- | Accessory Voltage |
18 | YE | -- | Accessory Voltage |
19 | PK | -- | Run/Crank Ignition 1 Voltage |
20-21 | -- | -- | Not Used |
22 | RD/WH | -- | Battery Positive Voltage |
23-24 | -- | -- | Not Used |
25 | PK | -- | Run/Crank Ignition 1 Voltage |
26 | YE | -- | Run/Crank Ignition 1 Voltage |
27-28 | -- | -- | Not Used |
29 | RD/WH | -- | Battery Positive Voltage |
30 | RD/WH | -- | Battery Positive Voltage |
31 | -- | -- | Not Used |
32 | PK | -- | Run/Crank Ignition 1 Voltage |
33-34 | -- | -- | Not Used |
35 | RD/WH | -- | Battery Positive Voltage |
36-37 | -- | -- | Not Used |
38 | RD/WH | -- | Battery Positive Voltage |
39-40 | -- | -- | Not Used |
41 | RD/WH | -- | Battery Positive Voltage |
42 | RD/WH | -- | Battery Positive Voltage |
43 | BN | -- | Run Ignition 3 Voltage |
44-45 | -- | -- | Not Used |
46 | RD/WH | -- | Battery Positive Voltage |
47-48 | -- | -- | Not Used |
49 | RD/WH | -- | Battery Positive Voltage |
50 | RD/WH | -- | Battery Positive Voltage |
51-53 | -- | -- | Not Used |
54 | RD/WH | -- | Battery Positive Voltage |
55-56 | -- | -- | Not Used |
57 | RD/WH | -- | Battery Positive Voltage |
58 | RD/WH | -- | Battery Positive Voltage |
59 | BN | -- | Run Ignition 3 Voltage |
60 | BN | -- | Run Ignition 3 Voltage |
Connector Part Information
|
Pin | Wire | Circuit | Function |
|---|---|---|---|
1-2 | -- | -- | Not Used |
3 | RD/WH | -- | Battery Positive Voltage |
4 | OG | -- | Rear For Lamp Supply Voltage |
5-6 | -- | -- | Not Used |
7 | RD/WH | -- | Battery Positive Voltage |
8 | BN | -- | Run Ignition 3 Voltage |
9 | -- | -- | Not Used |
10 | PK | -- | Run/Crank Ignition 1 |
11 | WH | -- | Rear Defog Relay Control |
12 | PK | -- | Lift Glass/Trunk Exterior Release Signal |
13 | RD/WH | -- | Battery Positive Voltage |
14 | -- | -- | Not Used |
15 | RD/WH | -- | Battery Positive Voltage |
16 | BN | -- | Run Ignition 3 Voltage |
17 | YE | -- | Accessory Voltage |
18 | PK | -- | Run/Crank Ignition 1 Voltage |
19 | PK | -- | Run/Crank Ignition 1 Voltage |
20 | OG | -- | Windshield Washer Pump Control |
21 | RD/WH | -- | Battery Positive Voltage |
22-23 | -- | -- | Not Used |
24 | BN | -- | Run Ignition 3 Voltage |
25 | YE | -- | Run/Crank Relay Coil Control |
26 | PK | -- | Run/Crank Ignition 1 Voltage |
27 | BN | -- | Lift Glass/Trunk Motor Release Control |
28 | RD/WH | -- | Battery Positive Voltage |
29-30 | -- | -- | Not Used |
31 | BN | -- | Rap Relay Coil Control |
32 | PK | -- | Run/Crank Ignition 1 Voltage |
33 | YE | -- | Rear Fog Lamp Relay Control |
34 | RD/WH | -- | Battery Positive Voltage |
35 | -- | -- | Not Used |
36 | RD/WH | -- | Battery Positive Voltage |
37 | YE | -- | Accessory Voltage |
38 | YE | -- | Power Supply |
49 | RD/WH | -- | Battery Positive Voltage |
40-41 | -- | -- | Not Used |
42 | RD/WH | -- | Battery Positive Voltage |
43 | OG | -- | -- |
44 | BN | -- | Signal Ground |
45 | YE | -- | Accessory Voltage |
46 | -- | -- | Not Used |
47 | GY | -- | Door Lock Actuator Lock Control |
48 | RD/WH | -- | Battery Positive Voltage |
49 | BN | -- | Door Lock Actuator Unlock Control |
50 | -- | -- | Not Used |
51 | RD/WH | -- | Battery Positive Voltage |
52 | -- | -- | Not Used |
53 | YE | -- | Accessory Voltage |
54 | -- | -- | Not Used |
55 | BN | -- | Driver Door Lock Actuator Unlock Control |
56 | L-GN | -- | Left Front Door Lock Relay Control |
57 | BK | -- | Ground |
58 | PK/BK | -- | Engine Main Relay Fused Control (2) |
59-60 | -- | -- | Not Used |
Fuse | Rating | Description |
|---|---|---|
Af1 | 60A | Glow Plug Control Unit |
Af2 | 30A | Fuel Filter Heater Relay |
Af3 | 40A | PTC-1 Relay |
Af4 | 40A | PTC-2 Relay |
Af5 | 40A | PTC-3 Relay |
Fuse | Rating | Description |
|---|---|---|
Ef1 | 20A | Rear Wiper Motor |
Ef2 | 60A | I/P Fuse Block (Battery Main) |
Ef3 | 40A | I/P Fuse Block (IGN II), Blower Motor |
Ef4 | 40A | ABS Module |
Ef5 | 20A | Starter Relay |
Ef6 | 30A | Liftgate Defogger |
Ef7 | 40A | I/P Fuse Block (ACC/RAP Relay, Run/Crank Relay) |
Ef8 | 30A | Cooling Fan Auxiliary |
Ef9 | 30A | Cooling Fan Main |
Ef10 | 20A | ECM |
Ef11 | 15A | 2.0L: Throttle Plate Actuator, Boost Pressure Actuator, CMP Sensor 2.4L: Canister Purge Solenoid, LEGR Valve, CMP Sensor 3.2L: Ignition Coil, Injector (#2, 4, 6) |
Ef12 | 15A | 2.0L: ECM 2.4L: Front and Rear HO2S 3.2L: HO2S, VIM, CAM Phaser Intake/Exhaust, Canister Purge Solenoid |
Ef13 | 10A | Starter Relay, Main Relay |
Starter Relay, Main Relay, ECM (C105/Short Body) | ||
Ef14 | 10A | A/C Compressor Relay |
Ef15 | 15A | 2.0L: Glow Plug Control Unit, Cooling Fan (Auxiliary, Main, Control), A/C COMP Relay, Engine Fuse Block Auxiliary 2.4L: Injector, Cooling Fan (AUX., Main Control), A/C Comp. Relay 3.2L: Ignition Coil, Injector (#1, 3, 5), Cooling Fan (Auxiliary, Main, Control) A/C Compressor Relay |
Ef16 | 15A | AWD Control Module |
Ef17 | 15A | Fuel Pump Relay |
Ef18 | 20A | ABS Module, Oil Feeding Connector |
Ef19 | -- | Not Used |
20A | Heated Seat Control Unit (C105/Short Body) | |
Ef20 | 15A | Brake Switch |
Ef21 | 25A | Cooling Fan Control Relay |
Ef22 | 15A | Horn Relay |
Ef23 | 30A | Power Seat and Heated Seat Switch Power Seat Test Connector |
Ef24 | 15A | Head Lamp Left, Tail Lamp Left, Turn/Park Lamp Left, License Lamp |
Ef25 | 20A | Sunroof Module |
Ef26 | 15A | Head Lamp Right, Mirror Control Switch |
Head Lamp Right, Light Switch, SI-ECM (C105/Short Body) | ||
Ef27 | 15A | Head Lamp Left |
Ef28 | 15A | Head Lamp |
Ef29 | 15A | FRT Fog Lamp Relay |
Ef30 | 10A | Headlamp Left, Tail Lamp Left |
Headlamp Left, Tail Lamp Left, Park Lamp Left, License Lamp Relay (C105/Short Body) | ||
Ef31 | 10A | Headlamp Right, Tail Lamp Right |
Trailer Inline, Trailer Kit Inline (C105/Short Body) | ||
Ef32 | 15A | TCM |
Ef33 | 20A | Headlamp Washer |
Ef34 | -- | Not Used |
Ef35 | 20A | Not Used |
Ef36 | 25A | Not Used |
Ef37 | 10A | Not Used |
Ef38 | 15A | Not Used |
Connector Part Information
|
Pin | Wire | Circuit | Function |
|---|---|---|---|
1 | 0.35 GY | 532 | Cooling Fan Motor Supply Volt (2) |
2 | 0.35 PK/BK | 5291 | Ignition 1 Voltage |
3 | 0.35 PK/BK | 5291 | Ignition 1 Voltage |
4 | 0.35 PK/BK | 5291 | Ignition 1 Voltage |
5 | -- | -- | Not Used |
6 | 0.5 RD/WH | 40 | Battery Positive Voltage (LD9) |
6 | 0.5 BK/WH | 251 | Ground (LLW/LU1) |
7 | 2 PU | 6 | Starter Solenoid Crank Voltage |
8 | 0.35 YE | 447 | Starter Relay Coil Control |
9-10 | -- | -- | Not Used |
11 | 0.35 PK/BK | 5292 | Ignition 1 Voltage (LLW/LU1) |
12 | 0.35 PK/BK | 5292 | Ignition 1 Voltage (LD9/LLW) |
13 | 0.35 PK/BK | 5292 | Ignition 1 Voltage (LD9/LLW) |
14 | 0.35 PK/BK | 5292 | Ignition 1 Voltage (LD9/LLW) |
15 | -- | -- | Not Used |
16 | 0.35 PK/BK | 5293 | Ignition 1 Voltage (LD9) |
17 | 0.35 PK/BK | 5293 | Ignition 1 Voltage |
18 | 0.35 PK/BK | 5293 | Ignition 1 Voltage |
19 | -- | -- | Not Used |
20 | 0.35 PK/BK | 5290 | Ignition 1 Voltage |
21 | 0.35 PK/BK | 5290 | Ignition 1 Voltage (LLW/LU1) |
22 | 0.35 L-BU | 409 | Cooling Fan Motor Supply Volt (1) |
23-24 | -- | -- | Not Used |
25 | 0.35 D-GN | 59 | A/C Comp Clutch Supply Volt |
26 | 0.35 PK/BK | 5293 | Ignition 1 Voltage |
27 | 0.35 PK/BK | 5293 | Ignition 1 Voltage (LD9/LU1) |
28 | 0.5 BK | 150 | Ground |
29 | -- | -- | Not Used |
30 | 0.35 D-GN | 335 | Low Speed Cooling Fan Relay Control |
31-32 | -- | -- | Not Used |
33 | 0.35 WH | 504 | Cooling Fan Motor Low Reference |
34 | 0.35 YE | 772 | Trans PSN Switch B2 Signal (M98) |
35 | 0.35 PK | 539 | Ignition 1 Voltage |
36 | 0.35 RD/WH | 40 | Battery Positive Voltage (LD9/LU1) |
37 | 0.35 RD/WH | 40 | Battery Positive Voltage (LD9) |
38 | -- | -- | Not Used |
39 | 0.35 BK/WH | 251 | Signal Ground |
40-41 | -- | -- | Not Used |
42 | 0.35 BN | 41 | Ignition 3 Voltage (LLW) |
43 | 0.35 BN/WH | 771 | Trans PSN Switch B1 Signal (M98) |
44 | 0.35 WH | 776 | Trans PSN Switch PB Signal (M98) |
45 | 0.35 PK | 539 | Run/Crank Ignition 1 Voltage |
46 | 0.35 D-GN/WH | 459 | A/C Comp Clutch Relay Control |
47 | -- | -- | Not Used |
48 | 0.35 D-GN/WH | 465 | Fuel Pump Primary Relay Control |
49-50 | -- | -- | Not Used |
51 | 0.35 GY | 773 | Trans PSN Switch B3 Signal |
52 | 0.35 WH | 1310 | EVAP Canister Vent Solenoid Control (LD9) |
52 | 0.35 WH/BK | 910 | PTC Request Signal (LLW) |
53 | 0.35 L-BU | 20 | Stop Lamp Supply Voltage |
54 | 0.35 PK | 539 | Run/Crank Ignition 1 Voltage |
55 | 0.35 D-BU | 473 | High Speed Cooling Fan Relay Control |
56 | -- | -- | Not Used |
Connector Part Information
|
Pin | Wire | Circuit | Function |
|---|---|---|---|
1 | 0.35 GY | 120 | Fuel Pump Supply Voltage |
2 | 0.35 PU | 92 | Windshield Wiper Motor High Speed |
3 | -- | -- | Not Used |
4 | 0.35 BN/WH | 41 | Ignition 3 Voltage |
5 | 0.35 BN/WH | 771 | Transmission PSN Switch B1 Signal (M98) |
6 | 0.35 L-BU | 20 | Stop Lamp Supply Voltage |
7 | 0.35 PK | 539 | Ignition 1 Voltage |
8 | 0.35 RD/WH | 2440 | Battery Positive Voltage |
9 | 0.35 RD/WH | 840 | Battery Positive Voltage |
10 | 0.35 RD/WH | 540 | Battery Positive Voltage |
11 | -- | -- | Not Used |
12 | 0.35 D-GN | 95 | Windshield Washer Switch Signal |
13 | -- | -- | Not Used |
14 | 0.35 YE | 772 | Transmission PSN Switch B2 Signal (M98) |
15 | 0.35 WH | 776 | Transmission PSN Switch PB Signal (M98) |
16 | 0.35 WH | 2282 | Headlamp Washer Relay Control |
17 | 0.35 RD/WH | 640 | Battery Positive Voltage (U88) |
18 | 0.35 BN | 860 | Front Windshield Wiper Switch High Signal |
19 | 0.35 RD/WH | 2140 | Battery Positive Voltage (AWD) |
20 | 0.35 GY | 773 | Transmission PSN Switch B3 Signal (M98) |
21 | 0.35 WH/BK | 910 | PTC Request Signal (LLW) |
22 | 0.35 BN | 28 | Horn Relay Control |
23 | 0.35 RD/WH | 2540 | Battery Positive Voltage (VXC) |
24 | 0.35 BN | 141 | Ignition 3 Voltage |
25 | 0.35 PU/WH | 1970 | Headlamp Low Beam Relay Control |
26 | 0.35 L-GN | 5486 | Run Relay Control |
27-29 | -- | -- | Not Used |
30 | 0.35 RD/WH | 2540 | Battery Positive Voltage (VXC) |
31 | 0.35 PU | 709 | Left Park Lamp Supply Voltage |
32 | 0.35 GN/WH | 1317 | Fog Lamp Relay Control |
33 | 0.35 D-BU | 45 | Park Lamp Supply Voltage |
34 | 0.35 L-BU/WH | 1314 | Left Front Turn Signal Lamp Supply Voltage (-T90) |
35 | 0.35 WH | 193 | Rear Defog Relay Control |
36 | 0.35 GY | 91 | Windshield Wiper Switch Signal 2 |
37 | 0.35 RD/WH | 2040 | Battery Positive Voltage (LD9) |
38 | 0.35 BN/WH | 312 | Right Headlamp Low Beam Supply Voltage |
39 | 0.35 BN/WH | 309 | Right Park Lamp Supply Voltage |
40 | 0.35 OG/BK | 645 | Low Reference |
41 | 0.35 L-BU/WH | 1314 | Left Front Turn Signal Lamp Supply Voltage (T90) |
42 | 0.35 OG | 228 | Windshield Washer Pump Control |
43 | 0.35 BN/WH | 1969 | Headlamp Relay Control |
44 | 0.35 RD/WH | 240 | Battery Positive Voltage |
45 | -- | -- | Not Used |
46 | 0.35 L-BU/WH | 1315 | Right Front Turn Signal Lamp Supply Voltage (T90) |
47 | 0.35 D-GN/WH | 636 | Ambient Air Temperature Sensor Signal |
48 | 0.35 RD/WH | 140 | Battery Positive Voltage |
49 | 0.35 PU | 5531 | Hood Closed switch Signal |
50 | 0.35 D-GN | 392 | Rear Window Washer Pump Control |
51 | 0.35 RD/WH | 2240 | Battery Positive Voltageal |
52 | 0.35 PU | 293 | Rear Defog Element Supply Voltage |
53 | -- | -- | Not Used |
54 | 0.35 D-BU/WH | 1315 | Right Front Turn Signal Lamp Supply Voltage (-T90) |
55 | 0.35 PU/WH | 5203 | Air Quality Sensor Signal |
56 | 0.35 RD/WH | 2340 | Battery Positive Voltage |
57 | 0.35 BN/WH | 99 | Windshield Washer Fluid Level Signal |
58 | -- | -- | Not Used |
59 | 0.35 D-GN | 189 | Headlamp Leveling Motor Supply Voltage |
60 | 0.35 RD/WH | 940 | Battery Positive Voltage |
Connector Part Information
|
Pin | Wire | Circuit | Function |
|---|---|---|---|
1 | -- | -- | Not Used |
2 | 0.35 BN | 2609 | Park Lamps Supply Voltage |
3 | 0.35 D-BU/WH | 1315 | Right Front T/Signal Lamp Supply Voltage |
4 | 0.35 PU/WH | 5203 | Air Quality Sensor Signal |
5 | 0.35 BN | 41 | Run Ignition 3 Voltage |
6 | 0.35 L-BU/WH | 1314 | Left Front T/Signal Lamp Supply Voltage |
7 | 0.35 BN/WH | 99 | Windshield Washer Fluid Level Sensor Signal |
8 | -- | -- | Not Used |
9 | 0.35 D-GN | 392 | Rear Window Washer Pump |
10 | -- | -- | Not Used |
11 | 0.35 BN | 541 | Ignition 3 Voltage |
12 | -- | -- | Not Used |
13 | 0.35 D-GN/WH | 636 | Outside Ambient Air Temperature |
14-15 | -- | -- | Not Used |
16 | 0.35 PU | 5531 | Hood Closed Switch Signal |
17 | 0.35 BN/WH | 6547 | Air Quality Sensor Low Reference |
18 | 0.35 D-GN | 189 | HDLP Leveling Motor Supply Voltage |
19 | -- | -- | Not Used |
20 | 0.35 YE | 712 | Left HDLP Low Beam Supply Voltage |
21 | -- | -- | Not Used |
22 | 0.35 OG/BK | 645 | Sensor Low Reference |
23 | -- | -- | Not Used |
24 | 0.35 PU | 34 | Front Fog Lamp Supply |
25 | -- | -- | Not Used |
26 | 0.35 OG | 228 | Windshield Washer Pump Control |
27 | 0.35 D-GN | 189 | HDLP Leveling Motor Supply Voltage |
28-29 | -- | -- | Not Used |
30 | 0.35 BN/WH | 312 | Right HDLP Low Beam Supply Voltage |
31-33 | -- | -- | Not Used |
34 | 0.35 D-GN/WH | 711 | Left HDLP High Beam Supply Voltage |
35-36 | -- | -- | Not Used |
37 | 0.35 BK | 150 | Ground |
38 | -- | -- | Not Used |
39 | 0.35 BN/WH | 709 | Left Park Lamp Supply Voltage |
40-42 | -- | -- | Not Used |
43 | 0.35 L-GN/BK | 311 | Right HDLP High Beam Supply Voltage |
44 | -- | -- | Not Used |
45 | 0.35 D-GN | 29 | HDRN Control |
46 | 0.35 D-GN | 29 | HDRN Control |
47-53 | -- | -- | Not Used |
54 | 0.35 PU | 1197 | Headlamp Washer Pump Control |
55-56 | -- | -- | Not Used |