GM Service Manual Online
For 1990-2009 cars only

Removal Procedure - (Under car Lock-off to convertor)

    Caution: Refer to General Repair Instructions in the Preface section.

    Caution: Refer to Safety Glasses Caution in the Preface section.

    Caution: Refer to Fuel Pressure Relief in the Preface section.

  1. Park the vehicle in a well ventilated area, away from any ignition source.
  2. Caution: Refer to Battery Disconnect Caution in the Preface section.

  3. Disconnect the battery ground cable. Refer to Battery Negative Cable Disconnection and Connection.
  4. Caution: Refer to Vehicle Lifting Caution in the Preface section.

  5. Raise and support the vehicle. Refer to Lifting and Jacking the Vehicle.
  6. Remove the right front wheel. Refer to Tire and Wheel Removal and Installation.
  7. Remove the right front wheel house liner. Refer to Front Wheelhouse Liner Replacement.

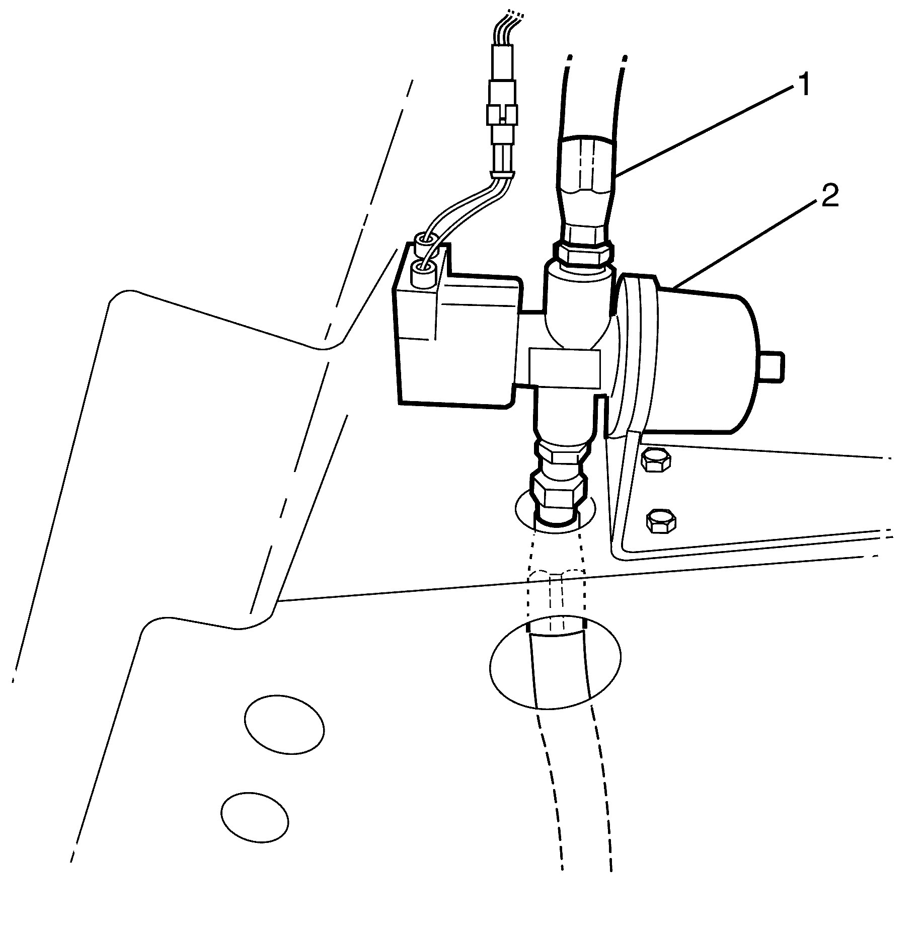
  8. Object Number: 1963334  Size: SH
  9. Remove the service line fitting (2) from LPG lock-off (1).

  10. Object Number: 1963350  Size: SH
  11. Remove the service line fitting (1) from the LPG convertor (2).
  12. Remove the service line from the vehicle.

Installation Procedure - (Under car Lock-off to convertor)

  1. Position the service line to the vehicle.
  2. Notice: Refer to Fastener Notice in the Preface section.


    Object Number: 1963350  Size: SH
  3. Install the service line fitting (1) to LPG convertor (2).
  4. Tighten
    Tighten the fitting to 18 N·m (13 lb  ft).


    Object Number: 1963334  Size: SH
  5. Install the service line fitting (2) to LPG lock-off (1).
  6. Tighten
    Tighten the fitting to 18 N·m (13 lb  ft).

  7. Connect the battery ground cable. Refer to Battery Negative Cable Disconnection and Connection.
  8. Start the vehicle and inspect for LPG fuel leaks at the serviced fitting's using the combustible gas detector or an equivalent liquid leak detector.
  9. Install the right front wheel house liner. Refer to Front Wheelhouse Liner Replacement.
  10. Install the right front wheel. Refer to Tire and Wheel Removal and Installation.
  11. Lower the vehicle to the ground.

Removal Procedure - (Under car lock-off to tank)

    Caution: Refer to General Repair Instructions in the Preface section.

    Caution: Refer to Safety Glasses Caution in the Preface section.

    Caution: Refer to Fuel Pressure Relief in the Preface section.

  1. Park the vehicle in a well ventilated area, away from any ignition source.
  2. Caution: Refer to Battery Disconnect Caution in the Preface section.

  3. Disconnect the battery ground cable. Refer to Battery Negative Cable Disconnection and Connection.
  4. Caution: Refer to Vehicle Lifting Caution in the Preface section.

  5. Raise and support the vehicle. Refer to Lifting and Jacking the Vehicle.
  6. Remove the right rear wheel. Refer to Tire and Wheel Removal and Installation.
  7. Remove the right rear wheel house liner. Refer to Rear Inner Wheelhouse Replacement.

  8. Object Number: 1963335  Size: SH
  9. Remove the service line fitting (1) from the LPG lock-off (2).

  10. Object Number: 1963317  Size: SH
  11. Remove the service line to LPG tank fitting (1).

  12. Object Number: 1963356  Size: SH

    Important: Drill out the rivets (1) using a suitable tool.

  13. Remove the service line to body retaining rivets (1).
  14. Remove the service line (2) from the vehicle.

Installation Procedure - (Under car lock-off to tank)


    Object Number: 1963356  Size: SH
  1. Position the service line (2) to the vehicle.
  2. Install the service line to body retaining rivets (1).
  3. Notice: Refer to Fastener Notice in the Preface section.


    Object Number: 1963317  Size: SH
  4. Install the service line to LPG tank fitting (1).
  5. Tighten
    Tighten the fitting to 18 N·m (13 lb  ft).


    Object Number: 1963335  Size: SH
  6. Install the service line fitting (1) to the LPG lock-off (2).
  7. Tighten
    Tighten the fitting to 18 N·m (13 lb  ft).

  8. Connect the battery ground cable. Refer to Battery Negative Cable Disconnection and Connection.
  9. Start the vehicle and inspect for LPG fuel leaks at the serviced fitting's using the combustible gas detector or an equivalent liquid leak detector.
  10. Install the right rear wheel house liner. Refer to Rear Inner Wheelhouse Replacement.
  11. Install the right rear wheel. Refer to Tire and Wheel Removal and Installation.