GM Service Manual Online
For 1990-2009 cars only

Removal Procedure

    Caution: Refer to General Repair Instructions in the Preface section.

    Caution: Refer to Safety Glasses Caution in the Preface section.

    Caution: Refer to Fuel Pressure Relief in the Preface section.

  1. Park the vehicle in a well ventilated area, away from any ignition source.
  2. Caution: Refer to Battery Disconnect Caution in the Preface section.

  3. Disconnect the battery ground cable. Refer to Battery Negative Cable Disconnection and Connection.
  4. Caution: Refer to Vehicle Lifting Caution in the Preface section.

  5. Raise and support the vehicle. Refer to Lifting and Jacking the Vehicle.

  6. Object Number: 1963360  Size: SH

    Important: Place a suitable container below the LPG convertor to catch engine coolant when the heater hoses (1) are removed.

    Important: Clamp off the heater hoses with a suitable tool to minimise coolant loss.

  7. Release the heater hose to LPG convertor clamps (2).
  8. Disconnect the heater hoses (1) from the LPG convertor (3).

  9. Object Number: 1963350  Size: SH
  10. Disconnect the service line fitting (1) from the LPG convertor (2).

  11. Object Number: 1963357  Size: SH
  12. Release the LPG fuel vapour hose to LPG convertor clamp (1).
  13. Disconnect the LPG fuel vapour hose (2) from the LPG convertor (3).

  14. Object Number: 1963358  Size: SH
  15. Disconnect the LPG convertor electrical connector (1).
  16. Disconnect the manifold reference hose (2) from the LPG convertor (3).

  17. Object Number: 1963359  Size: SH

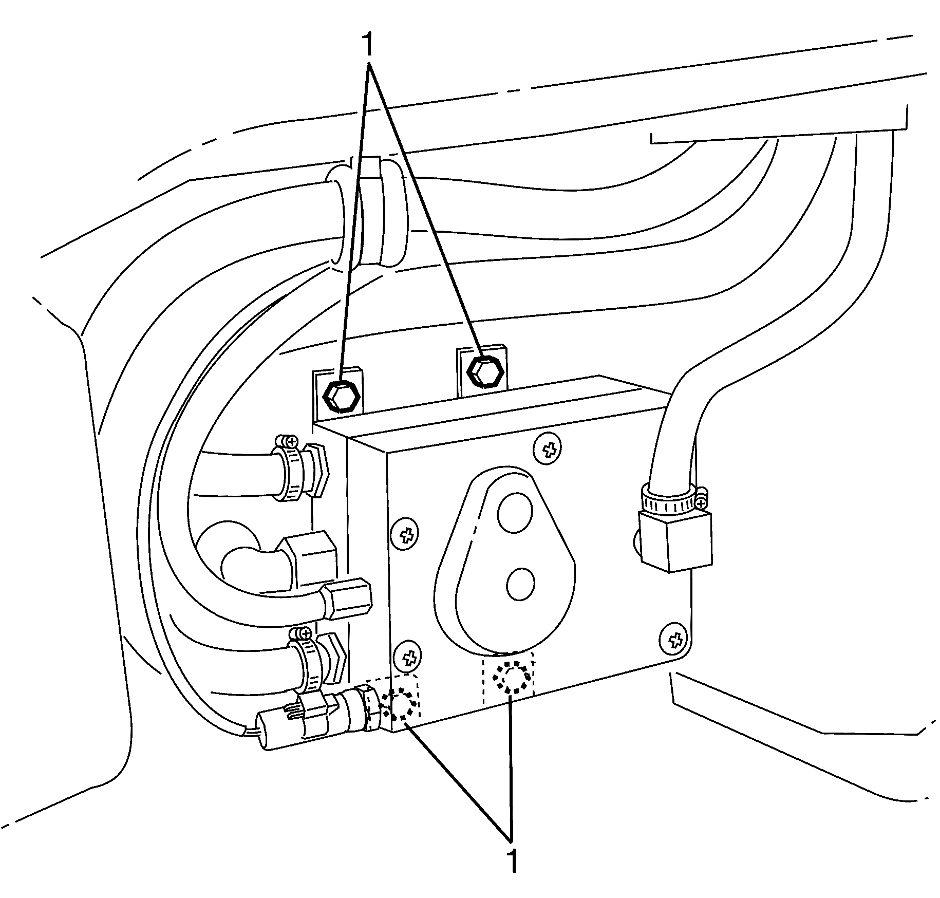
    Important: Support the LPG convertor when removing the LPG convertor to body retaining bolts (1).

  18. Remove the LPG convertor to body retaining bolts (1).
  19. Remove the LPG convertor from the vehicle.

Installation Procedure

  1. Position the LPG convertor to the vehicle.
  2. Notice: Refer to Fastener Notice in the Preface section.


    Object Number: 1963359  Size: SH

    Important: Support the LPG convertor when installing the LPG convertor to body retaining bolts.

  3. Install the LPG convertor to body retaining bolts (1).
  4. Tighten
    Tighten the bolts to 5 N·m (44 lb in).


    Object Number: 1963358  Size: SH
  5. Connect the LPG convertor electrical connector (1).
  6. Connect the manifold reference hose (2) to the LPG convertor (3).

  7. Object Number: 1963357  Size: SH
  8. Connect the LPG fuel vapour hose (2) to the LPG convertor (3).
  9. Secure the LPG fuel vapour hose to LPG convertor clamp (1).

  10. Object Number: 1963350  Size: SH
  11. Connect the service line fitting (1) to the LPG convertor (2).
  12. Tighten
    Tighten the fitting to 18 N·m (13 lb ft).


    Object Number: 1963360  Size: SH
  13. Connect the coolant hoses (1) to the LPG convertor (3).
  14. Secure the coolant hose to LPG convertor clamps (2).
  15. Connect the battery ground cable. Refer to Battery Negative Cable Disconnection and Connection.
  16. Inspect the coolant level. Refer to Cooling System Draining and Filling.
  17. Start the vehicle and inspect for LPG fuel leaks at the serviced fitting's using the J 45878 xx or an equivalent liquid leak detector.