GM Service Manual Online
For 1990-2009 cars only

Removal Procedure

    Caution: Refer to General Repair Instructions in the Preface section.

    Caution: Refer to Safety Glasses Caution in the Preface section.

    Caution: Refer to Fuel Pressure Relief in the Preface section.

  1. Park the vehicle in a well ventilated area, away from any ignition source.
  2. Caution: Refer to Battery Disconnect Caution in the Preface section.

  3. Disconnect the battery ground cable. Refer to Battery Negative Cable Disconnection and Connection.
  4. Caution: Refer to Vehicle Lifting Caution in the Preface section.

  5. Raise and support the vehicle. Refer to Lifting and Jacking the Vehicle.

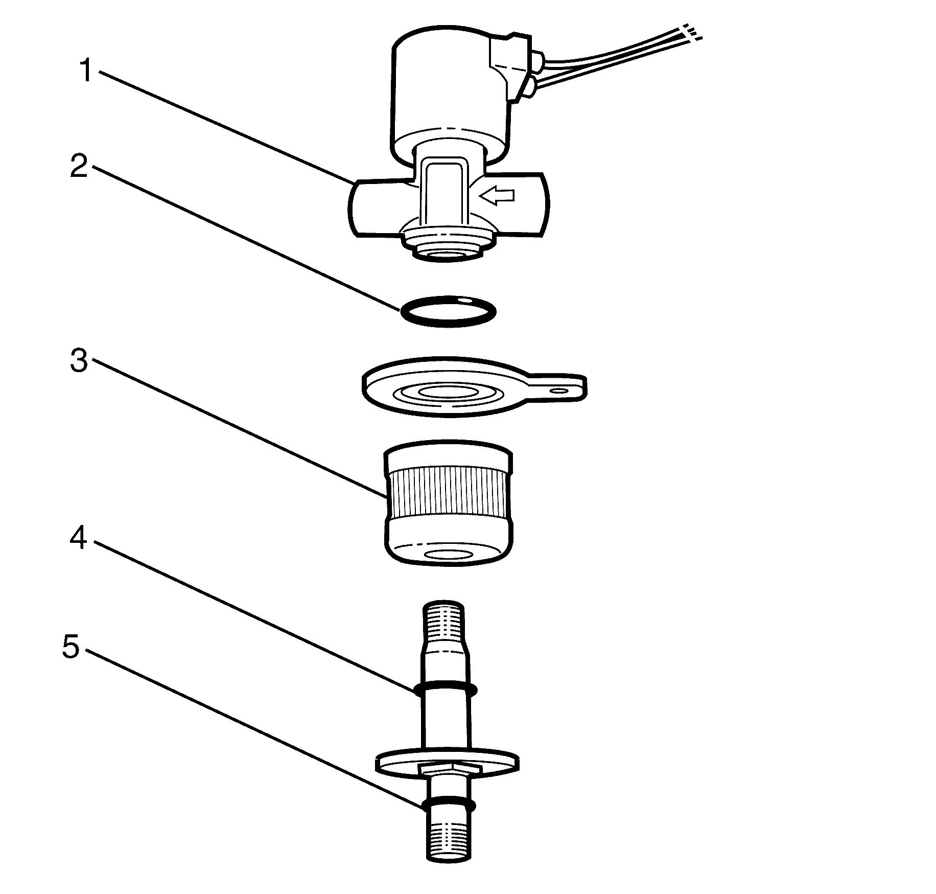
  6. Object Number: 1963327  Size: SH
  7. Remove the LPG lock-off filter cover retaining nut (1).

  8. Object Number: 1963328  Size: SH
  9. Remove the LPG lock-off filter cover (2) from the LPG lock-off (1).
  10. Discard the O-ring.


    Object Number: 1963329  Size: SH
  11. Remove the LPG lock-off filter (3) to LPG lock-off retaining bolt.
  12. Remove the LPG lock-off filter (3) from the LPG lock-off (1).
  13. Discard the LPG lock-off filter.

  14. Remove the 3 O-ring's (2, 4, and 5) from the LPG lock-off (1).
  15. Discard the O-rings.

Installation Procedure


    Object Number: 1963329  Size: SH
  1. Install the 3 NEW O-ring's (2, 4, and 5) to the LPG lock-off (1).
  2. Install the NEW LPG lock-off filter (3) to the LPG lock-off (1).
  3. Notice: Refer to Fastener Notice in the Preface section.

  4. Install the LPG lock-off filter (3) to LPG lock-off retaining bolt.
  5. Tighten
    Tighten the bolt to 4 N-m ( 35 lb in).


    Object Number: 1963328  Size: SH
  6. Install the LPG lock-off filter cover (2) to the LPG lock-off (1).

  7. Object Number: 1963327  Size: SH
  8. Install the LPG lock-off filter cover retaining bolt (1).
  9. Tighten
    Tighten the bolt to 4 N-m ( 35 lb in).

  10. Connect the battery ground cable. Refer to Battery Negative Cable Disconnection and Connection.
  11. Start the vehicle and inspect for LPG fuel leaks at the serviced fitting's using the combustible gas detector or an equivalent liquid leak detector.