GM Service Manual Online
For 1990-2009 cars only

Entertainment/Communication Connector End Views SWBLHD

Table 1: Audio Amplifier (Type D and E Infotainment System)
Table 2: Digital Video Disc (DVD) Player - X1
Table 3: Digital Video Disc (DVD) Player - X2
Table 4: Diversity Antenna
Table 5: Inflatable Restraint Steering Wheel Module Coil - X1
Table 6: Inflatable Restraint Steering Wheel Module Coil - X1
Table 7: Inflatable Restraint Steering Wheel Module Coil - X2
Table 8: Inflatable Restraint Steering Wheel Module Coil - X2
Table 9: Inflatable Restraint Steering Wheel Module Coil - X2
Table 10: Radio - X1 (Type A, B, C and D Infotainment System)
Table 11: Radio - X2
Table 12: Radio - X3 (Type A, B, C and D Infotainment System)
Table 13: Radio - X4 (Type A, B, C and D Infotainment System)
Table 14: Radio Antenna
Table 15: Rear Seat Entertainment Control Display - X1
Table 16: Rear Seat Entertainment Control Display - X2 (Type D Infotainment System)
Table 17: Rear Seat Entertainment Interface Module - X1 (Type D Infotainment System)
Table 18: Rear Seat Entertainment Interface Module - X2 (Type D Infotainment System)
Table 19: Rear Seat Entertainment Interface Module - X3 (Type D Infotainment System)
Table 20: Rear Seat Entertainment Interface Module - X4 (Type D Infotainment System)
Table 21: Rear Seat Entertainment Interface Module - X5 (Type D Infotainment System)
Table 22: Rear Seat Entertainment Interface Module - X6 (Type D Infotainment System)
Table 23: Rear Seat Entertainment Interface Module - X7 (Type D Infotainment System)
Table 24: Rear Seat Entertainment Interface Module - X8 (Type D Infotainment System)
Table 25: Speaker - Center X1 (Type B and C Infotainment System)
Table 26: Speaker - Center X1 (Type D Infotainment System)
Table 27: Speaker - Center X2 (Type B and C Infotainment System)
Table 28: Speaker - LF Door (Type A, B and C Infotainment System)
Table 29: Speaker - LF Door (Type D Infotainment System)
Table 30: Speaker - LF I/P
Table 31: Speaker - LR Door
Table 32: Speaker - LR Subwoofer (Type D Infotainment System)
Table 33: Speaker - RF Door
Table 34: Speaker - RF I/P
Table 35: Speaker - RR Door
Table 36: Speaker - RR Subwoofer (Type D Infotainment System)
Table 37: Steering Wheel Controls Switch Assembly
Table 38: Video Display

Audio Amplifier (Type D and E Infotainment System)


Object Number: 1989299  Size: CH

Connector Part Information

 

Pin

Wire Colour

Wire Size

Function

1

BN

0.5

Left Rear Speaker Output (+)

2

D-BU

0.5

Right Rear Speaker Output (+)

3

D-BU/WH

1.0

Left or Rear Subwoofer Speaker Output (+)

4

RD/WH

2.0

Battery Positive Voltage

5

BK

XX

Ground

6

YE

0.5

Left Rear Speaker Output (-)

7

L-BU

0.5

Right Rear Speaker Output (-)

8

L-GN/BK

1.0

[Left or Rear] Subwoofer Speaker Output (-)

9

D-GN

1.0

Right Subwoofer Speaker Output (+)

10

L-BU/BK

1.0

Right Subwoofer Speaker Output (-)

11

RD/WH

2.0

Battery Positive Voltage

12

BK

XX

Ground

Digital Video Disc (DVD) Player - X1


Object Number: 1989306  Size: CH

Connector Part Information

 

Pin

Wire Colour

Wire Size

Function

X1-1

GY

0.32

??

X1-2

YE/BK

0.32

??

X1-3

--

--

--

X1-4

NO COLOUR

--

Drain Wire

X1-5

L-BU

0.3

DVD Audio Left Signal (+)

X1-6

WH/BK

0.32

DVD Audio Left Signal (-)

X1-7

WH

0.3

DVD Audio Right Signal (+)

X1-8

D-GN

0.3

DVD Audio Right Signal (-)

X1-9

GY

0.3

DVD Video Signal (-)

X1-10

D-GN

0.32

DVD Video Signal (+)

Digital Video Disc (DVD) Player - X2


Object Number: 1989309  Size: CH

Connector Part Information

 

Pin

Wire Colour

Wire Size

Function

X2-1

XX

XX

XX

X2-2

XX

XX

XX

X2-3

XX

XX

XX

X2-4

XX

XX

XX

Diversity Antenna


Object Number: 1989314  Size: CH

Connector Part Information

 

Pin

Wire Colour

Wire Size

Function

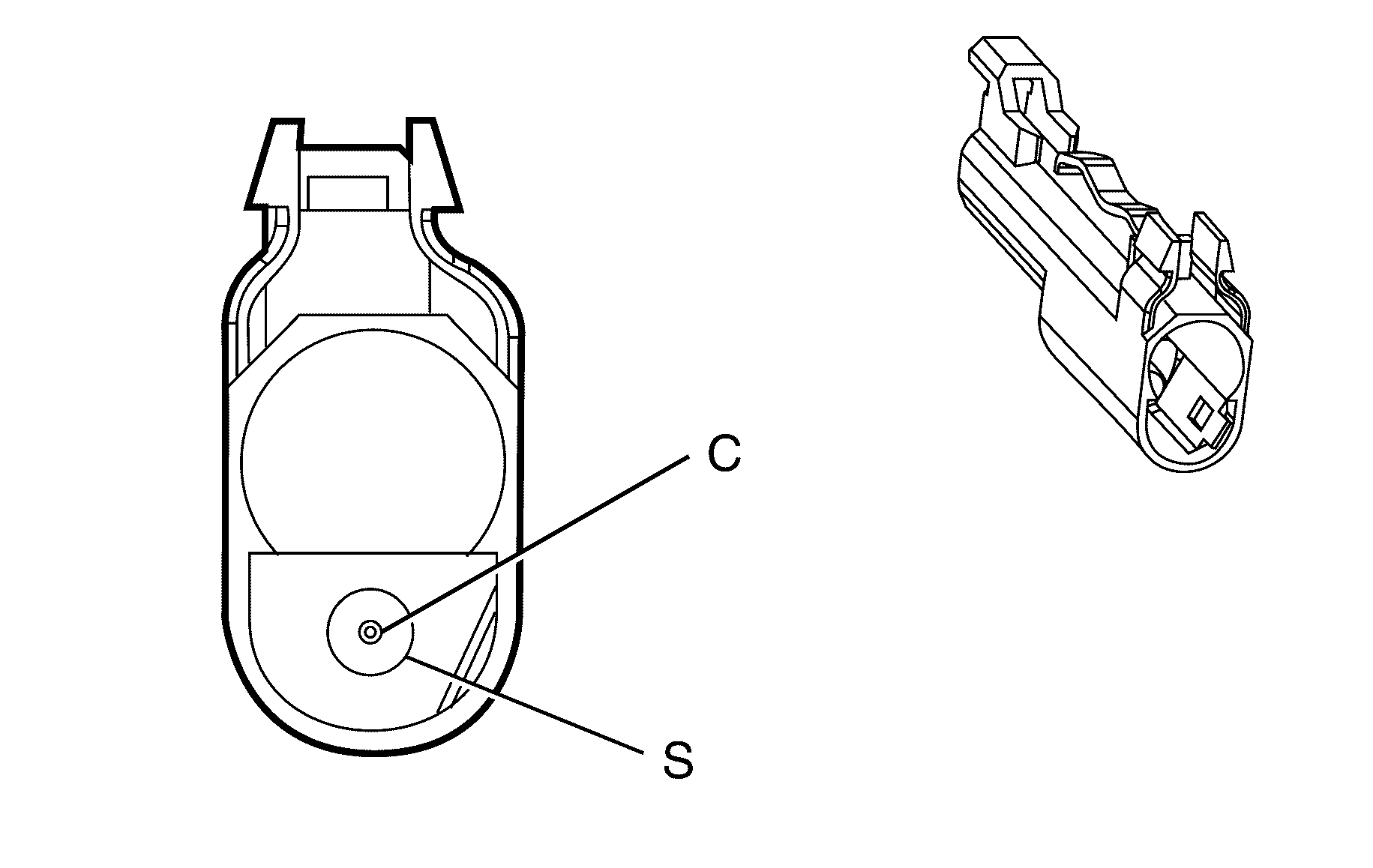
C

GY

0.52

Diversity Antenna Post

S

Bare

0.35

Diversity Antenna Shield

Inflatable Restraint Steering Wheel Module Coil - X1


Object Number: 1989318  Size: CH

Connector Part Information

Male

Pin

Wire Colour

Wire Size

Function

X1-A

GY/BU

0.3

Steering Wheel Resistor Ladder Right Signal #2

X1-B

BN/GN

0.3

Steering Wheel Resistor Ladder Right Signal #1

X1-C

BN

0.3

Steering Wheel Resistor Ladder Left Signal #1

X1-D

L-BU

0.3

Steering Wheel Resistor Ladder Left Signal #2

X1-E

BN/WH

0.3

DIC Switch Low Reference

X1-F

OG/BK

0.3

Steering Wheel Controls Signal

X1-G

BK

0.3

Ground

X1-H

PU/WH

0.3

I/P Dimming Control

X1-I

--

--

--

X1-J

BN/BK

0.3

Horn Relay Control

X1-K

--

--

--

Inflatable Restraint Steering Wheel Module Coil - X1


Object Number: 1989323  Size: CH

Connector Part Information

Female

Pin

Wire Colour

Wire Size

Function

X1-A

GY/BU

0.3

Steering Wheel Resistor Ladder Right Signal #2

X1-B

YE

0.3

Steering Wheel Resistor Ladder Right Signal #1

X1-C

BN

0.3

Steering Wheel Resistor Ladder Left Signal #1

X1-D

L-BU

0.3

Steering Wheel Resistor Ladder Left Signal #2

X1-E

GN

0.3

DIC Switch Low Reference

X1-F

OG/BK

0.3

Steering Wheel Controls Signal

X1-G

BK

0.3

Ground

X1-H

PU

0.3

I/P Dimming Control

X1-I

--

0.3

--

X1-J

BK/WH

0.3

Horn Relay Control

X1-K

--

--

--

Inflatable Restraint Steering Wheel Module Coil - X2


Object Number: 1989326  Size: CH

Connector Part Information

Male

Pin

Wire Colour

Wire Size

Function

A-1

BN/RD

0.3

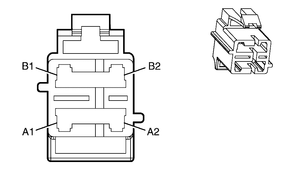
Steering Wheel Module - Stage1 - High Control

A-2

BN

0.3

Steering Wheel Module - Stage1 - Low Control

B-1

WH

0.3

Steering Wheel Module - Stage2 - High Control

B-2

PK

0.3

Steering Wheel Module - Stage2 - Low Control

Inflatable Restraint Steering Wheel Module Coil - X2


Object Number: 1989332  Size: CH

Connector Part Information

Female

Pin

Wire Colour

Wire Size

Function

A-1

TN

0.3

Steering Wheel Module - Stage1 - High Control

A-2

BN

0.3

Steering Wheel Module - Stage1 - Low Control

B-1

WH

0.3

Steering Wheel Module - Stage2 - High Control

B-2

PK

0.3

Steering Wheel Module - Stage2 - Low Control

Inflatable Restraint Steering Wheel Module Coil - X2


Object Number: 1989283  Size: CH

Connector Part Information

 

Pin

Wire Colour

Wire Size

Function

X2-1

GY/BU

0.3

Steering Wheel Resistor Ladder Right Signal #2

X2-2

YE

0.3

Steering Wheel Resistor Ladder Right Signal #1

X2-3

BN

0.3

Steering Wheel Resistor Ladder Left Signal #1

X2-4

L-BU

0.3

Steering Wheel Resistor Ladder Left Signal #2

X2-5

GN

0.3

DIC Switch Low Reference

X2-6

OG/BK

0.3

Steering Wheel Controls Signal

X2-7

BK

0.3

Ground

Radio - X1 (Type A, B, C and D Infotainment System)


Object Number: 1989342  Size: CH

Connector Part Information

 

Pin

Wire Colour

Wire Size

Function

X1-1

L-BU

0.5

Right Rear Speaker Output (-)

X1-2

D-GN

0.5

Right Front Speaker Output (-)

X1-3

GY

0.5

Left Front Speaker Output (-)

X1-4

YE

0.5

Left Rear Speaker Output (-)

X1-5

D-BU

0.5

Right Rear Speaker Output (+)

X1-6

L-GN

0.5

Right Front Speaker Output (+)

X1-7

TN

0.5

Left Front Speaker Output (+)

X1-8

BN

0.5

Left Rear Speaker Output (+)

Radio - X2


Object Number: 1989354  Size: CH

Connector Part Information

 

Pin

Wire Colour

Wire Size

Function

X2-1

--

--

--

X2-2

--

--

--

X2-3

--

--

--

X2-4

--

--

--

X2-5

--

--

--

X2-6

--

--

--

X2-7

--

--

--

X2-8

--

--

--

X2-9

L-BU

0.5

Front Center Speaker Output (-)

X2-10

RD/WH

0.85

Battery Positive Voltage

X2-11

--

--

--

X2-12

BK

0.85

Ground

X2-13

OG

0.5

Front Center Speaker Output (+)

X2-14

RD/WH

0.85

Battery Positive Voltage

X2-15

--

--

--

X2-16

BK

0.85

Ground

Radio - X3 (Type A, B, C and D Infotainment System)


Object Number: 1989357  Size: CH

Connector Part Information

 

Pin

Wire Colour

Wire Size

Function

X3-1

--

--

--

X3-2

--

--

--

X3-3

--

--

--

X3-4

OG/BK

0.3

Navigation Mono Audio Signal (-)

X3-5

PK

0.5

Left Audio Signal (+)

X3-6

GN/WH

0.5

Common Audio Signal (-)

X3-7

--

--

--

X3-8

--

--

--

X3-9

--

--

--

X3-10

PK/BK

0.3

Navigation Mono Audio Signal (+)

X3-11

BU

0.5

Right Audio Signal (+)

X3-12

--

--

--

Radio - X4 (Type A, B, C and D Infotainment System)


Object Number: 1989357  Size: CH

Connector Part Information

 

Pin

Wire Colour

Wire Size

Function

X4-1

L-BU

0.3

Telephone Audio Signal (-)

X4-2

--

--

--

X4-3

--

--

--

X4-4

RD/WH

0.85

Battery Positive Voltage

X4-5

WH

0.3

Telephone Audio Signal Mute

X4-6

D-GN

0.35

Low Speed GMLAN Serial Data

X4-7

OG-BK

0.3

Telephone Audio Signal (+)

Radio Antenna


Object Number: 1989361  Size: CH

Connector Part Information

 

Pin

Wire Colour

Wire Size

Function

C

GY

0.52

Radio Antenna Post

S

Bare

0.35

Radio Antenna Shield

Rear Seat Entertainment Control Display - X1


Object Number: 1989367  Size: CH

Connector Part Information

 

Pin

Wire Colour

Wire Size

Function

X1-1

--

--

--

X1-2

OG

0.18

XX

X1-3

TN

0.18

Ground

X1-4

YE/BK

0.18

XX

X1-5

L-GN/BK

0.18

XX

X1-6

--

--

--

Rear Seat Entertainment Control Display - X2 (Type D Infotainment System)


Object Number: 1989373  Size: CH

Connector Part Information

 

Pin

Wire Colour

Wire Size

Function

X2-8

--

--

--

X2-9

WH

0.18

Auxiliary Audio Left Signal (+)

X2-10

PK

0.18

Auxiliary Audio Left Signal (-)

X2-11

RD

0.18

Auxiliary Audio Right Signal (+)

X2-12

GN

0.18

Auxiliary Audio Right Signal (-)

X2-13

BARE

0.18

Auxiliary Video Signal (-)

X2-14

BK

0.18

Auxiliary Video Signal (+)

Rear Seat Entertainment Interface Module - X1 (Type D Infotainment System)


Object Number: 1989381  Size: CH

Connector Part Information

 

Pin

Wire Colour

Wire Size

Function

X1-1

--

--

--

X1-2

D-GN

0.3

Low Speed GMLAN Serial Data

X1-3

OG/YE

0.5

Battery Positive Voltage

X1-4

OG/YE

0.5

Battery Positive Voltage

X1-5

--

--

--

X1-6

--

--

--

X1-7

--

--

--

X1-8

BK

0.5

Ground

X1-9

BK

0.5

Ground

X1-10

--

--

--

Rear Seat Entertainment Interface Module - X2 (Type D Infotainment System)


Object Number: 1989388  Size: CH

Connector Part Information

 

Pin

Wire Colour

Wire Size

Function

X2-1

--

--

--

X2-2

--

--

--

X2-3

--

--

--

X2-4

--

--

--

X2-5

--

--

--

X2-6

--

--

--

X2-7

--

--

--

X2-8

--

--

--

X2-9

--

--

--

X2-10

--

--

--

X2-11

--

--

--

X2-12

--

--

--

Rear Seat Entertainment Interface Module - X3 (Type D Infotainment System)


Object Number: 1989392  Size: CH

Connector Part Information

 

Pin

Wire Colour

Wire Size

Function

X3-1

BARE

0.18

Auxiliary Video Signal (-)

X3-2

RD

0.18

Auxiliary Audio Right Signal (+)

X3-3

WH

0.18

Auxiliary Audio Left Signal (+)

X3-4

--

--

--

X3-5

BK

0.18

Auxiliary Video Signal (+)

X3-6

GN

0.18

Auxiliary Audio Right Signal (-)

X3-7

PK

0.18

Auxiliary Audio Left Signal (-)

X3-8

--

--

--

Rear Seat Entertainment Interface Module - X4 (Type D Infotainment System)


Object Number: 1989401  Size: CH

Connector Part Information

 

Pin

Wire Colour

Wire Size

Function

X4-1

GY

0.3

DVD Video Signal (-)

X4-2

WH

0.3

DVD Audio Right Signal (+)

X4-3

L-BU

0.3

DVD Audio Left Signal (+)

X4-4

--

--

--

X4-5

YE/BK

0.32

XX

X4-6

XXX

XXX

XX

X4-7

XXX

XXX

XX

X4-8

D-GN

0.32

DVD Video Signal (+)

X4-9

D-GN

0.3

DVD Audio Right Signal (-)

X4-10

WH/BK

0.32

DVD Audio Left Signal (-)

X4-11

--

--

--

X4-12

GY

0.32

Passenger Door Lock Switch Low Reference

X4-13

XXX

XXX

XX

X4-14

XXX

XXX

XX

Rear Seat Entertainment Interface Module - X5 (Type D Infotainment System)


Object Number: 1989401  Size: CH

Connector Part Information

 

Pin

Wire Colour

Wire Size

Function

X5-1

BK

0.0

DVD Video Signal (-)

X5-2

RD

0.18

DVD Audio Right Signal (+)

X5-3

WH

0.18

DVD Audio Left Signal (+)

X5-4

BARE

0.18

Drain Wire

X5-5

GY

0.18

XX

X5-6

PU

0.18

Ground

X5-7

YE

0.18

XX

X5-8

BK

0.18

DVD Video Signal (+)

X5-9

RD

0.18

DVD Audio Right Signal (-)

X5-10

WH

0.18

DVD Audio Left Signal (-)

X5-11

--

--

--

X5-12

BU

0.18

XX

X5-13

--

--

--

X5-14

--

--

--

Rear Seat Entertainment Interface Module - X6 (Type D Infotainment System)


Object Number: 1989405  Size: CH

Connector Part Information

 

Pin

Wire Colour

Wire Size

Function

X6-1

--

--

--

X6-2

--

--

--

X6-3

--

--

--

X6-4

--

--

--

X6-5

--

--

--

X6-6

--

--

--

X6-7

--

--

--

X6-8

--

--

--

X6-9

--

--

--

X6-10

--

--

--

X6-11

--

--

--

X6-12

--

--

--

X6-13

--

--

--

X6-14

--

--

--

X6-15

--

--

--

X6-16

--

--

--

Rear Seat Entertainment Interface Module - X7 (Type D Infotainment System)


Object Number: 1989410  Size: CH

Connector Part Information

 

Pin

Wire Colour

Wire Size

Function

X7-1

BU

0.18

XX

X7-2

L-BU

0.18

Ground

X7-3

--

--

--

X7-4

XX

XX

XX

X7-5

GY

0.18

XX

X7-6

RD

0.18

XX

Rear Seat Entertainment Interface Module - X8 (Type D Infotainment System)


Object Number: 1989392  Size: CH

Connector Part Information

 

Pin

Wire Colour

Wire Size

Function

X8-1

BK

0.5

DVD Video Signal (-)

X8-2

--

--

--

X8-3

RD

0.5

Right Audio Signal (+)

X8-4

WH

0.5

Left Audio Signal (+)

X8-5

--

--

--

X8-6

BK

0.5

DVD Video Signal (+)

X8-7

--

--

--

X8-8

WH/RD

0.5

Common Audio Signal (-)

Speaker - Center X1 (Type B and C Infotainment System)


Object Number: 1989416  Size: CH

Connector Part Information

 

Pin

Wire Colour

Wire Size

Function

A

GY

0.5

Left Front Speaker Output (-)

B

TN

0.5

Left Front Speaker Output (+)

Speaker - Center X1 (Type D Infotainment System)


Object Number: 1989416  Size: CH

Connector Part Information

 

Pin

Wire Colour

Wire Size

Function

A

L-BU

0.5

Front Center Speaker Output (-)

B

OG

0.5

Front Center Speaker Output (+)

Speaker - Center X2 (Type B and C Infotainment System)


Object Number: 1989416  Size: CH

Connector Part Information

 

Pin

Wire Colour

Wire Size

Function

A

D-GN

0.5

Right Front Speaker Output (-)

B

L-GN

0.5

Right Front Speaker Output (+)

Speaker - LF Door (Type A, B and C Infotainment System)


Object Number: 1989416  Size: CH

Connector Part Information

 

Pin

Wire Colour

Wire Size

Function

A

GY

0.5

Left Front Speaker Output (-)

B

TN

0.5

Left Front Speaker Output (+)

Speaker - LF Door (Type D Infotainment System)


Object Number: 1989422  Size: CH

Connector Part Information

 

Pin

Wire Colour

Wire Size

Function

A

GY

0.5

Left Front Speaker Output (-)

B

BN

0.5

Left Front Speaker Output (+)

Speaker - LF I/P


Object Number: 1989430  Size: CH

Connector Part Information

 

Pin

Wire Colour

Wire Size

Function

1

TN

0.3

Left Front Speaker Output (+)

2

GY

0.3

Left Front Speaker Output (-)

Speaker - LR Door


Object Number: 1989416  Size: CH

Connector Part Information

 

Pin

Wire Colour

Wire Size

Function

A

YE

0.5

Left Rear Speaker Output (-)

B

BN

0.5

Left Rear Speaker Output (+)

Speaker - LR Subwoofer (Type D Infotainment System)


Object Number: 1989436  Size: CH

Connector Part Information

 

Pin

Wire Colour

Wire Size

Function

1

D-BU/WH

1.0

Left Rear Subwoofer Speaker Output (+)

2

L-GN/BK

1.0

Left Rear Subwoofer Speaker Output (-)

Speaker - RF Door


Object Number: 1989416  Size: CH

Connector Part Information

 

Pin

Wire Colour

Wire Size

Function

A

D-GN

0.75

Right Front Speaker Output (-)

B

L-GN/BK

0.75

Right Front Speaker Output (+)

Speaker - RF I/P


Object Number: 1989430  Size: CH

Connector Part Information

 

Pin

Wire Colour

Wire Size

Function

1

L-GN

0.3

Right Front Speaker Output (+)

2

D-GN

0.3

Right Front Speaker Output (-)

Speaker - RR Door


Object Number: 1989416  Size: CH

Connector Part Information

 

Pin

Wire Colour

Wire Size

Function

A

L-BU

0.5

Right Rear Speaker Output (-)

B

D-BU

0.5

Right Rear Speaker Output (+)

Speaker - RR Subwoofer (Type D Infotainment System)


Object Number: 1989436  Size: CH

Connector Part Information

 

Pin

Wire Colour

Wire Size

Function

1

D-GN

1.0

Right Rear Subwoofer Speaker Output (+)

2

L-BU/BK

1.0

Right Rear Subwoofer Speaker Output (-)

Steering Wheel Controls Switch Assembly


Object Number: 1989283  Size: CH

Connector Part Information

 

Pin

Wire Colour

Wire Size

Function

1

GY/BU

0.3

Steering Wheel Resistor Ladder Right Signal #2

2

YE

0.3

Steering Wheel Resistor Ladder Right Signal #1

3

BN

0.3

Steering Wheel Resistor Ladder Left Signal #1

4

L-BU

0.3

Steering Wheel Resistor Ladder Left Signal #2

5

GN

0.3

Steering Wheel Controls Low Reference

6

OG/BK

0.3

Steering Wheel Controls Signal

7

BK

0.3

Ground

8

PU

0.3

I/P Dimming Control

Video Display


Object Number: 1989444  Size: CH

Connector Part Information

 

Pin

Wire Colour

Wire Size

Function

1

YE

0.18

XX

2

--

--

--

3

PU

0.18

Ground

4

--

--

--

5

GY

0.18

XX

6

BU

0.18

XX

7

BARE

0.18

Drain Wire

8

--

--

--

9

WH

0.18

DVD Audio Left Signal (+)

10

WH

0.18

DVD Audio Left Signal (-)

11

RD

0.18

DVD Audio Right Signal (+)

12

RD

0.18

DVD Audio Right Signal (-)

13

BK

0.18

DVD Video Signal (-)

14

BK

0.18

DVD Video Signal (+)

Entertainment/Communication Connector End Views Bluetooth

Table 1: Bluetooth Connector
Table 2: Bluetooth Microphone
Table 3: Bluetooth Module
Table 4: Steering Wheel Controls Switch Assembly

Bluetooth Connector


Object Number: 1989268  Size: CH

Connector Part Information

 

Pin

Wire Colour

Wire Size

Function

X1-1

OG/WH

0.5

Battery Positive Voltage

X1-2

PK/BU

0.5

Ignition 1 Voltage

X1-3

L-GN

0.5

Backup Lamp Supply Voltage

X1-4

D-GN

0.3

Low Speed GMLAN Serial Data

X1-5

BN

0.3

Accessory Voltage

X1-6

BU

0.3

Bluetooth Connector

X1-7

OG/BK

0.3

Remote Playback Device Left Audio Signal

X1-8

L-BU

0.3

Remote Playback Device Audio Common Signal

X1-9

WH

0.3

Mute Signal

X1-10

BK

0.3

Ground

X1-11

D-BU

0.3

Cellular Telephone Voice Signal

X1-12

L-BU/BK

0.3

Cellular Telephone Voice Low Reference

X1-13

YE/BK

0.3

Cellular Telephone Mute Signal

X1-14

GY

0.5

Left Front Speaker Output (-)

L-BU

0.85

Front Center Speaker Output (-)

X1-15

TN

0.5

Left Front Speaker Output (+)

YE

0.85

Front Center Speaker Output (+)

X1-16

--

--

Not Used

Bluetooth Microphone


Object Number: 1989273  Size: CH

Connector Part Information

 

Pin

Wire Colour

Wire Size

Function

1

BU

0.3

Microphone Signal

2

--

--

Not Used

3

--

--

Not Used

4

PK/BK

0.3

Microphone Return

Bluetooth Module


Object Number: 1989278  Size: CH

Connector Part Information

 

Pin

Wire Colour

Wire Size

Function

1

L-BU/BK

0.3

Cellular Telephone Voice Low Reference

2

--

--

Not Used

3

--

--

Not Used

4

BU

0.3

Not Used

5

BU

0.3

Microphone Signal

6

YE/BK

0.3

Cellular Telephone Mute Signal

7

YE

0.3

Accessory Voltage

8

--

--

Not Used

9

D-BU

0.3

Cellular Telephone Voice Signal

10

--

--

Not Used

11

--

--

Not Used

12

PK/BK

0.3

Microphone Return

13

--

--

Not Used

14

--

--

Not Used

15

BK

0.5

Ground

16

OG/WH

0.5

Battery Positive Voltage

Steering Wheel Controls Switch Assembly


Object Number: 1989283  Size: CH

Connector Part Information

 

Pin

Wire Colour

Wire Size

Function

1

GY/BU

0.3

Steering Wheel Resistor Ladder Right Signal #2

2

YE

0.3

Steering Wheel Resistor Ladder Right Signal #1

3

BN

0.3

Steering Wheel Resistor Ladder Left Signal #1

4

L-BU

0.3

Steering Wheel Resistor Ladder Left Signal #2

5

GN

0.3

Steering Wheel Controls Low Reference

6

OG/BK

0.3

Steering Wheel Controls Signal

7

BK

0.3

Ground

8

PU

0.3

I/P Dimming Control