GM Service Manual Online
For 1990-2009 cars only

High Temperature Wiring

Wiring that is exposed to high temperatures, 135°C (275°F) or higher, for prolonged periods of time may use materials i.e. wires, connectors, and shielding that has a higher heat rating than typical wiring. When making a repair in a high temperature area observe the following:

    • Use high temperature bulk wire rated at 150°C (302°F) continuous temperature to replace any damaged wire.
    • Replace any heat shielding that is removed.
    • Cover any duraseal splice sleeves with SCT1 shrink tubing.
    • After making a wiring repair, ensure that the location of the wiring is not moved closer to the heat source.

Identifying High Temperature Wiring

Wiring that is exposed to high temperature, 135°C (275°F) or higher, for prolonged periods of time need special considerations when making wiring repairs. Areas that may be exposed to higher temperatures can be identified by heat resistant materials that are being used in those areas. These materials may include heat reflective tape, moon tape, and high temperature shrink tubing. Also conduit and other protective coverings may be used. Because conduit or similar coverings are used throughout the vehicle regardless of the temperature, it may be necessary for the technician to determine if an area is exposed to excessive heat before making a wiring repair. Obvious areas of consideration would be any area located near the exhaust manifolds, catalytic converter, and exhaust pipes.

    • Duraseal splice sleeves to crimp and seal connections.
    • High temperature SCT1 shrink tubing to protect the splice sleeves.
    • A large sampling of common electrical terminals.
    • The correct crimp tool to attach the terminals to the wires.
    • The correct tools to remove the terminals from the connectors.

Use high temperature bulk wire rated at 150°C (302°F) continuous temperature of the same or larger gage size as the original wire when repair damage wire. Also replace any reflective tape that you remove during the repair.

High Temperature Wire Repair

Important: Refer to Wiring Repairs in Wiring Systems, in order to determine the correct wire size for the circuit you are repairing. You must obtain this information in order to ensure circuit integrity.

If any wire except the pigtail is damaged, repair the wire by splicing in a new section of wire rated at 150°C (302°F) continuous temperature rating of the same gauge size (0.5 mm, 0.8 mm, 1.0 mm etc.). Use duraseal splice sleeves and a splice crimping tool and then encapsulate the splice sleeve using the high temperature SCT1 shrink tubing. Use the following wiring repair procedures in order to ensure the integrity of the sealed splice.

Splice Sleeve Color

Crimp Tool Nest Color

Wire Gage mm²/(AWG)

Salmon (Yellow-Pink)

12089189

Red (1)

0.035 - 0.8/(18 - 20)

Blue

12089190

Blue (2)

1 - 2/(14 - 16)

Yellow

12089191

Yellow (3)

3 - 5/(10 - 12)

Green

88988379

Red (1)

0.22 - 0.35/(22 - 24)

    Important: You must perform the following procedures in the order listed. Repeat the procedure if any wire strands are damaged. You must obtain a clean strip keeping all of the wire strands intact.

  1. Open the harness by removing any tape.
  2. Use a sewing seam ripper, available from sewing supply stores, in order to cut open the harness in order to avoid wire insulation damage.
  3. Cut as little wire off the harness as possible. You may need the extra length of wire in order to change the location of a splice.
  4. Adjust splice locations so that each splice is at least 40 mm (1.5 in) away from the other splices, harness branches, or connectors.


    Object Number: 1940114  Size: SH
  5. Strip the insulation:
  6. • When adding a length of wire to the existing harness, use the same size wire as the original wire.
    • If you are unsure of the wire size, begin with the largest opening in the wire stripper and work down until achieving a clean strip of the insulation.
    • Strip approximately 7.5 mm (0.313 in) of insulation from each wire to be spliced (a).
    • Do not nick or cut any of the strands. Inspect the stripped wire for nicks or cut strands.
    • If the wire is damaged, repeat this procedure after removing the damaged section.
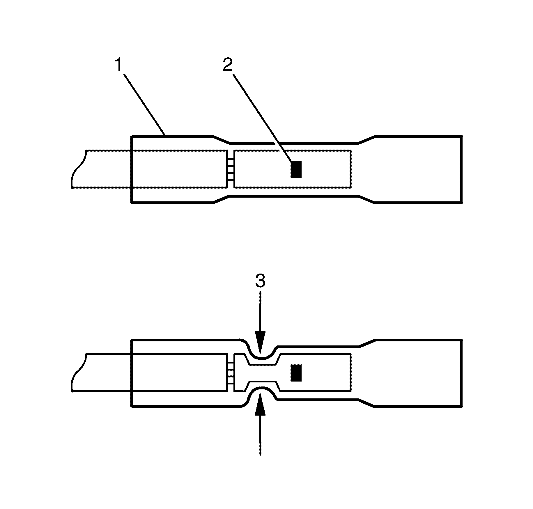
  7. Select the correct duraseal splice sleeve according to the wire size. Refer to the above table at the beginning of the repair procedure for the colour coding of the duraseal splice sleeves and the crimp tool nests.
  8. Place the duraseal splice sleeve in the appropriate nest. Ensure that the crimp falls midway between the end of the barrel and the stop.
  9. The sleeve has a stop in the middle of the barrel in order to prevent the wire from going further.

  10. Close the hand crimper handles slightly in order to firmly hold the duraseal splice sleeve in the correct nest.

  11. Object Number: 1940120  Size: SH
  12. Insert the wire into the duraseal splice sleeve (1) until the wire hits the barrel stop (2).
  13. Tightly close the handles of the crimp tool at position (3) until the crimper handles open when released.
  14. The crimper handles will not open until you apply the correct amount of pressure to the splice sleeve.


    Object Number: 1940119  Size: SH
  15. Cut a section of high temperature SCT1 shrink tubing which will allow an overlap of at least 10 mm (0.38 in) at each end of the finally crimped joint (1).
  16. Slide the section of high temperature SCT1 shrink tubing down the length of wire to be spliced. Make sure that the shrink tubing will not interfere with the splice procedure (2).
  17. Repeat steps 4, 7 and 8 for the opposite end of the splice.
  18. Tightly close the handles of the crimp tool at position (3) until the crimper handles open when released.
  19. The crimper handles will not open until you apply the correct amount of pressure to the splice sleeve.


    Object Number: 1940116  Size: SH
  20. Centre the high temperature SCT1 shrink tube over the duraseal splice sleeve.
  21. Using the heat torch, apply heat to the crimped area of the barrel.
  22. Gradually move the heat barrel to the open end of the tubing:
  23. • The tubing will shrink completely as the heat is moved along the insulation.
    • A small amount of sealant will come out of the end of the tubing when sufficient shrinkage is achieved.
  24. Replace any reflective tape and clips that may have been remove during the repair.