GM Service Manual Online
For 1990-2009 cars only

Tools Required

J 39400 Halogen Leak Detector

Removal Procedure

  1. Remove the air filter assembly. Refer to Air Cleaner Assembly Replacement in Engine Controls 3.6L, or Air Cleaner Assembly Replacement in Engine Controls 6.0L.
  2. Remove the radiator air baffle and deflector. Refer to Radiator Air Upper Baffle and Deflector Replacement
  3. Caution: Refer to Safety Glasses Caution in the Preface section.

  4. Recover the refrigerant. Refer to Refrigerant Recovery and Recharging .

  5. Object Number: 1950881  Size: SH

    Important: Remove the upper radiator support brackets by raising the securing lock upwards 10mm and slide the bracket out of the radiator slide pin.

  6. Remove the upper radiator support brackets (1).
  7. Caution: Refer to Vehicle Lifting Caution in the Preface section.

  8. Raise and support the vehicle. Refer to Lifting and Jacking the Vehicle .
  9. Remove the air deflector front. Refer to Front Air Deflector Replacement .
  10. Place a large suitable container under the condenser.

  11. Object Number: 1957876  Size: SH
  12. Disconnect the power steering cooler hoses (1).
  13. Important: Plug or cap the power steering cooler hose (1) ends to prevent leaks and/or contamination.

  14. Plug or cap the power steering cooler hose (1) ends.

  15. Object Number: 1950863  Size: SH
  16. Remove the liquid pipe to the condenser port retaining nut (1).
  17. Lower the vehicle.

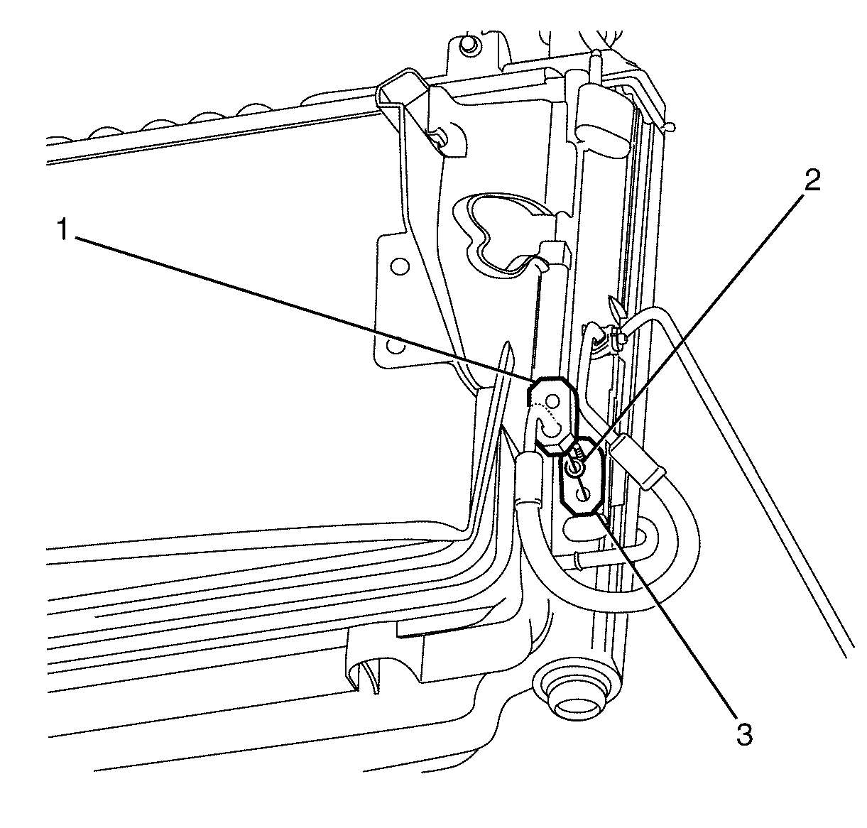
  18. Object Number: 1955647  Size: SH
  19. Disconnect the liquid pipe (1) from the condenser port (3).
  20. Important: The sealing washer (2) is a single use item and must be discarded after use.

  21. Remove the sealing washer (2). Refer to Sealing Washer Replacement .
  22. Discard the sealing washer

    Important: Cover any opening of the A/C system with a suitable cap or tape immediately, to prevent absorption of moisture from the atmosphere.

  23. Cap or plug the liquid pipe (1) and the condenser port (3).
  24. Lower the vehicle.

  25. Object Number: 1951005  Size: SH

    Important: Gently push the radiator and condenser towards the engine to allow removal of the discharge pipe to condenser retaining nut (1).

  26. Remove the discharge pipe to condenser retaining nut (1).

  27. Object Number: 1955636  Size: SH
  28. Disconnect the discharge pipe (1) from condenser (3) and position aside.
  29. Remove the sealing washer (2). Refer to Sealing Washer Replacement .
  30. Discard the sealing washer.

    Important: Cover any opening of the A/C system with a suitable cap or tape immediately, to prevent absorption of moisture from the atmosphere.

  31. Cap or plug the discharge pipe (1) and the condenser (3).

  32. Object Number: 1949775  Size: SH

    Important: Gently push the radiator and condenser towards the engine to allow removal of the condenser to radiator retaining bolts (1).

  33. Remove the condenser to radiator retaining bolts (1).

  34. Object Number: 1950875  Size: SH

    Important: Remove the condenser (1) by lifting it up between the radiator and radiator support.

  35. Remove the condenser (1) from the engine compartment.

Installation Procedure


    Object Number: 1950875  Size: SH

    Important: Install the condenser (1) by lowering down between the radiator and radiator support.

  1. Install the condenser (1) to the engine compartment.
  2. Notice: Refer to Fastener Notice in the Preface section.


    Object Number: 1949775  Size: SH

    Important: Gently push the radiator and condenser towards the engine to allow installation of the condenser to radiator retaining bolts (1).

  3. Install the condenser to radiator retaining bolts (1).
  4. Tighten
    Tighten the bolts to 11 N·m (97 lb in).


    Object Number: 1955636  Size: SH
  5. Remove the plugs or caps from the discharge pipe (1) and the condenser (3).
  6. Important: DO NOT coat the NEW sealing washer (2) with oil, they must be fitted dry. The use of mineral oil will render the sealing washer (2) useless, as the sealing washer (2) WILL swell causing refrigerant to leak out.

  7. Install a NEW sealing washer (2). Refer to Sealing Washer Replacement .
  8. Install the discharge pipe (1) to condenser (3).
  9. Notice: Refer to Fastener Notice in the Preface section.


    Object Number: 1951005  Size: SH

    Important: Gently push the radiator and condenser towards the engine to allow installation of the discharge pipe to condenser retaining nut (1).

  10. Install the discharge pipe to condenser retaining nut (1).
  11. Tighten
    Tighten the nut to 22 N·m( 16 lb ft).

  12. Raise the vehicle.

  13. Object Number: 1955647  Size: SH
  14. Remove the plugs or caps from the suction pipe liquid pipe (1) and the condenser port (3).
  15. Important: DO NOT coat the NEW sealing washer (3) with oil, they must be fitted dry. The use of mineral oil will render the sealing washer (3) useless, as the sealing washer (3) WILL swell causing refrigerant to leak out.

  16. Install a NEW sealing washer (3). Refer to Sealing Washer Replacement .
  17. Connect the liquid pipe (1) to the condenser port (3).

  18. Object Number: 1950863  Size: SH
  19. Install the liquid pipe to condenser port retaining nut (1).
  20. Tighten
    Tighten the nut to 22 N·m(16 lb ft).


    Object Number: 1957876  Size: SH
  21. Remove the plug or cap at the power steering cooler hose (1) ends.
  22. Connect the power steering cooler hoses (1).
  23. Install the air deflector front. Refer to Front Air Deflector Replacement .
  24. Lower the vehicle.

  25. Object Number: 1950881  Size: SH
  26. Install radiator upper retaining brackets (1).
  27. Fill the power steering fluid reservoir as necessary. Refer to Checking and Adding Power Steering Fluid .
  28. Evacuate and recharge the A/C system. Refer to Refrigerant Recovery and Recharging .
  29. Install the air filter assembly. Refer to Air Cleaner Assembly Replacement in Engine Controls 3.6L, or Air Cleaner Assembly Replacement in Engine Controls 6.0L..
  30. Leak test the fittings of the component using J 39400 .
  31. Install the radiator air baffle and deflector. Refer to Radiator Air Upper Baffle and Deflector Replacement