GM Service Manual Online
For 1990-2009 cars only

Tools Required

J 41459 A/C Oil Injector

    Important: The addition of lubricating oil must be carried out whenever any component is replaced in the A/C system to compensate for oil trapped in the removed component. Carrying out this procedure ensures the A/C system always has the correct amount of oil as specified by the manufacturer.

  1. Evacuate the A/C system for a minimum of 30 minutes and to minus 100 kPa negative gauge pressure. Refer to Refrigerant Recovery and Recharging.

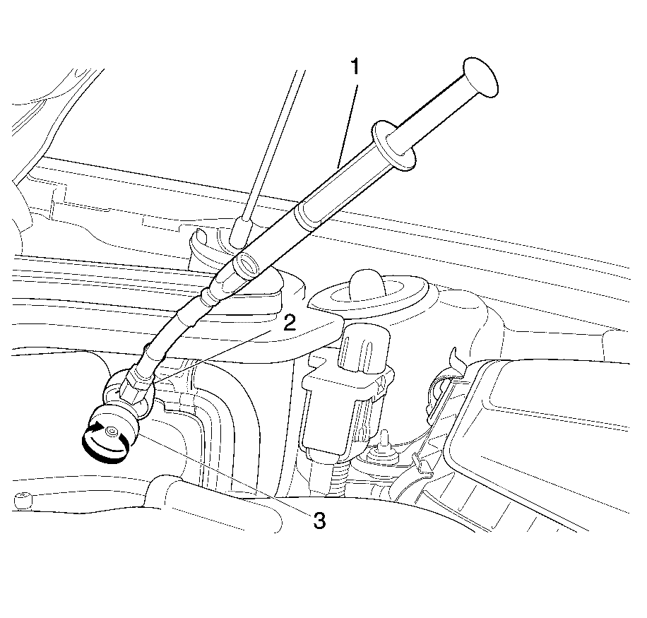
  2. Object Number: 1955693  Size: SH

    Important: Make sure the valve (3) is in the closed position.

  3. Remove the plunger (1) from the J 41459  (2) and pour in the appropriate amount of polyalkylene glycol (PAG) oil specified for the replaced component. Refer to Refrigerant System Capacities.
  4. Jiggle the plunger (1) to remove any air in the J 41459  (2).

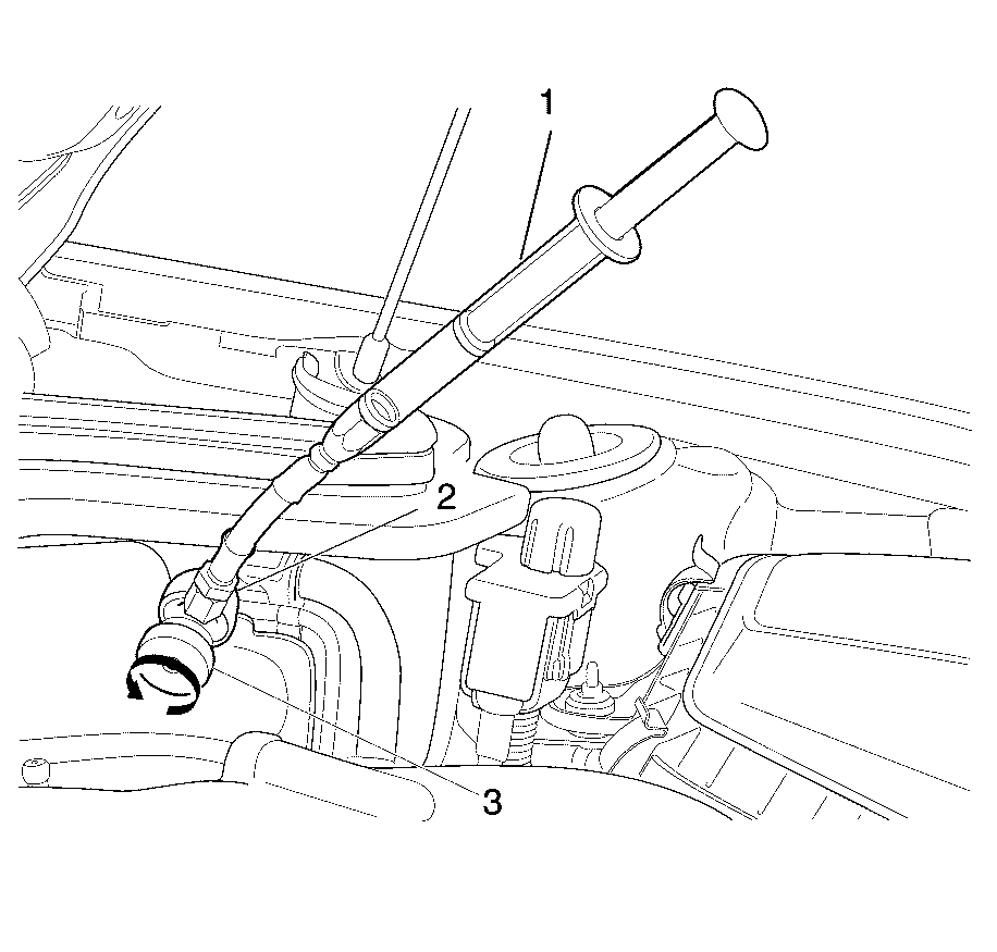
  5. Object Number: 1955696  Size: SH
  6. With the A/C system still evacuated, connect the J 41459  (1) to the low side charging port (2).
  7. Turn the J 41459 shut off valve tap (3) to the open position to depress the low side charging port (2) schrader valve.
  8. The oil should now be drawn into the A/C system due to the low pressure in the A/C system.


    Object Number: 1955697  Size: SH
  9. Once all the oil in the J 41459  (1) has moved into the A/C system, turn the shut off valve tap (3) to the closed position.
  10. Remove the J 41459  (1) from the low side charging port (2).
  11. Repeat steps 2 to 7 if more oil is required.