GM Service Manual Online
For 1990-2009 cars only

Instrument Panel Compartment Replacement RHD

Removal Procedure

  1. Remove the instrument panel insulator panel -- Left Side. Refer to Instrument Panel Insulator Panel Replacement - Right Side.
  2. Remove the instrument panel outer trim cover. Refer to Instrument Panel Outer Trim Cover Replacement.

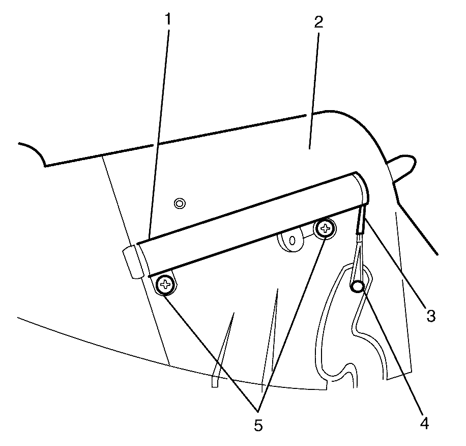
  3. Object Number: 2139216  Size: SH
  4. Remove the I/P compartment assembly lower retaining screws (1).
  5. Open the I/P compartment assembly door (2).

  6. Object Number: 2139983  Size: SH
  7. Remove the I/P compartment retaining screw covers (1) from the I/P compartment (2).

  8. Object Number: 2139985  Size: SH
  9. Remove the I/P compartment upper retaining screws (2).
  10. Remove the I/P compartment (1).

  11. Object Number: 1957065  Size: SH
  12. Disconnect the I/P compartment electrical connector (1) from the I/P compartment (2).

Disassemble Procedure


    Object Number: 1957067  Size: SH
  1. Disconnect the I/P compartment lamp electrical connectors (1), where fitted.
  2. Disconnect the rear compartment release button electrical connector (4), where fitted.
  3. Detach the I/P compartment electrical harness retaining clip (2) and harness (5) from the I/P compartment (3)

  4. Object Number: 1957068  Size: SH
  5. Disconnect the I/P compartment lamp switch electrical connectors (2), where fitted.
  6. Detach the wiring harness retaining clips (3) from the I/P compartment (4).
  7. Remove the I/P compartment wiring harness (1) from the I/P compartment (4).

  8. Object Number: 1957070  Size: SH

    Important: Press the retaining clips (1) and push the rear compartment release button (2) through the I/P compartment (3) to remove.

  9. Remove the rear compartment release button (2) from the I/P compartment (3).

  10. Object Number: 1957071  Size: SH
  11. Remove the I/P compartment lamp (3), where fitted, by releasing the I/P compartment lamp retaining clip (1) and pushing it through the I/P compartment (2),.

  12. Object Number: 1957072  Size: SH
  13. Remove the I/P compartment lamp switch (1) from the I/P compartment (2), where fitted

  14. Object Number: 2139986  Size: SH
  15. Remove the I/P compartment damper cord (5) by detaching it from the securing hook (4).
  16. Remove the I/P compartment damper retaining screws (3).
  17. Remove the I/P compartment damper (2) from the I/P compartment (1).

  18. Object Number: 2139987  Size: SH
  19. Remove the I/P compartment door hinge retaining pins (1) and remove the I/P compartment door.

Assemble Procedure

  1. Align the I/P compartment door with the I/P compartment.

  2. Object Number: 2139987  Size: SH
  3. Install the I/P compartment door hinge retaining pins (1) to the I/P compartment door.
  4. Notice: Refer to Fastener Notice in the Preface section.


    Object Number: 2139986  Size: SH
  5. Install the I/P compartment damper (2) to the I/P compartment (1).
  6. Install the I/P compartment damper retaining screws (3).
  7. Tighten
    Tighten the screws to 2  N·m (18 lb in).

  8. Install the I/P compartment damper cord (5) by attaching it to the securing hook (4).

  9. Object Number: 1957072  Size: SH

    Important: Listen for audible click to confirm correct fitting

  10. Install the I/P compartment lamp switch (1), where fitted, to the I/P compartment (2).

  11. Object Number: 1957071  Size: SH

    Important: Listen for audible click to confirm correct fitting

  12. Install the I/P compartment lamp (3), where fitted, by pushing it through the I/P compartment (2).
  13. Ensure the I/P compartment lamp retaining clip (1) is fully engaged.

  14. Object Number: 1957070  Size: SH

    Important: When installing the rear compartment release button, take care not to damage the retaining clips (1).

  15. Install the rear compartment release button (2), where fitted, to the I/P compartment (3), listen for an audible click to confirm fitting.

  16. Object Number: 1957068  Size: SH
  17. Position the I/P compartment wiring harness (1) to the I/P compartment (4).
  18. Attach the I/P compartment wiring harness retaining clips (3).
  19. Connect the I/P compartment lamp switch electrical connectors (2), where fitted.

  20. Object Number: 1957067  Size: SH
  21. Position the I/P compartment harness (5) and attach the I/P compartment wiring harness retaining clip (2) to the I/P compartment (3).
  22. Connect the rear compartment release button electrical connector (4), where fitted.
  23. Connect the I/P compartment lamp electrical connectors (1), where fitted

Installation Procedure


    Object Number: 1957065  Size: SH
  1. Connect the I/P compartment electrical connector (1) to the I/P compartment (2).

  2. Object Number: 2139985  Size: SH
  3. Install the I/P compartment (1).
  4. Notice: Refer to Fastener Notice in the Preface section.

  5. Install the I/P compartment upper retaining screws (2).
  6. Tighten
    Tighten the screws to 2  N·m (18 lb in).


    Object Number: 2139983  Size: SH
  7. Install the I/P compartment retaining screw covers (1) to the I/P compartment (2)

  8. Object Number: 2139216  Size: SH
  9. Close the I/P compartment assembly door (2).
  10. Install the I/P compartment lower retaining screws (1).
  11. Tighten
    Tighten the screws to 2  N·m (18 lb in).

  12. Install the instrument panel outer trim cover. Refer to Instrument Panel Outer Trim Cover Replacement.
  13. Install the instrument panel insulator panel -- Left Side. Refer to Instrument Panel Insulator Panel Replacement - Right Side.
  14. Test all electrical components for correct operation.

Instrument Panel Compartment Replacement LHD

Removal Procedure

  1. Remove the instrument panel insulator panel - right side. Refer to Instrument Panel Insulator Panel Replacement - Left Side.
  2. Remove the instrument panel outer trim cover. Refer to Instrument Panel Outer Trim Cover Replacement.

  3. Object Number: 2039768  Size: SH
  4. Remove the I/P compartment assembly lower retaining screws (1).
  5. Open the I/P compartment assembly door (2).

  6. Object Number: 2156131  Size: SH
  7. Remove the I/P compartment retaining screw covers (1) from the I/P compartment (2).

  8. Object Number: 2039770  Size: SH
  9. Remove the I/P compartment upper retaining screws (1).
  10. Remove the I/P compartment (2).

  11. Object Number: 2156132  Size: SH
  12. Disconnect the I/P compartment electrical connector (1) from the I/P compartment wiring harness.

Disassemble Procedure


    Object Number: 2156133  Size: SH
  1. Disconnect the I/P compartment lamp electrical connectors (1), where fitted.
  2. Disconnect the rear compartment release button electrical connector (3), where fitted.
  3. Detach the I/P compartment electrical harness retaining clip (5) and harness (2) from the I/P compartment (4)

  4. Object Number: 2156134  Size: SH
  5. Disconnect the I/P compartment lamp switch electrical connectors (4), where fitted.
  6. Detach the wiring harness retaining clips (3) from the I/P compartment (2).
  7. Remove the I/P compartment wiring harness (1) from the I/P compartment (2).

  8. Object Number: 2039773  Size: SH

    Important: Press the retaining clips (2) and push the rear compartment release button (1) through the I/P compartment (3) to remove.

  9. Remove the rear compartment release button (1) from the I/P compartment (3).

  10. Object Number: 2156136  Size: SH
  11. Remove the I/P compartment lamp (3), where fitted, by releasing the I/P compartment lamp retaining clip (2) and pushing it through the I/P compartment (1),.

  12. Object Number: 2156137  Size: SH
  13. Remove the I/P compartment lamp switch (1) from the I/P compartment (2), where fitted

  14. Object Number: 2156138  Size: SH
  15. Remove the I/P compartment damper cord (3) by detaching it from the securing hook (4).
  16. Remove the I/P compartment damper retaining screws (5).
  17. Remove the I/P compartment damper (1) from the I/P compartment (2).

  18. Object Number: 2156139  Size: SH
  19. Remove the I/P compartment door hinge retaining pins (1) and remove the I/P compartment door.

Assemble Procedure

  1. Align the I/P compartment door with the I/P compartment.

  2. Object Number: 2156139  Size: SH
  3. Install the I/P compartment door hinge retaining pins (1) to the I/P compartment door.

  4. Object Number: 2156138  Size: SH
  5. Install the I/P compartment damper (1) to the I/P compartment (2).
  6. Install the I/P compartment damper retaining screws (5).
  7. Tighten
    Tighten the screws to 2  N·m (18 lb in).

  8. Install the I/P compartment damper cord (3) by attaching it to the securing hook (4).

  9. Object Number: 2156137  Size: SH

    Important: Listen for audible click to confirm correct fitting

  10. Install the I/P compartment lamp switch (1), where fitted, to the I/P compartment (2).

  11. Object Number: 2156136  Size: SH

    Important: Listen for audible click to confirm correct fitting

  12. Install the I/P compartment lamp (3), where fitted, by pushing it through the I/P compartment (1).
  13. Ensure the I/P compartment lamp retaining clip (2) is fully engaged.

  14. Object Number: 2039773  Size: SH
  15. Install the rear compartment release button (1), where fitted, to the I/P compartment (3), listen for an audible click to confirm fitting.

  16. Object Number: 2156134  Size: SH
  17. Position the I/P compartment wiring harness (1) to the I/P compartment (2).
  18. Attach the I/P compartment wiring harness retaining clips (3).
  19. Connect the I/P compartment lamp switch electrical connectors (4), where fitted.

  20. Object Number: 2156133  Size: SH
  21. Position the I/P compartment harness (2) and attach the I/P compartment wiring harness retaining clip (5) to the I/P compartment (4).
  22. Connect the rear compartment release button electrical connector (3), where fitted.
  23. Connect the I/P compartment lamp electrical connectors (1), where fitted

Installation Procedure


    Object Number: 2156132  Size: SH
  1. Connect the I/P compartment electrical connector (1) to the I/P compartment.

  2. Object Number: 2039770  Size: SH
  3. Install the I/P compartment (2).
  4. Notice: Refer to Fastener Notice in the Preface section.

  5. Install the I/P compartment upper retaining screws (1).
  6. Tighten
    Tighten the screws (1) to 2  N·m (18 lb in).


    Object Number: 2156131  Size: SH
  7. Install the I/P compartment retaining screw covers (1) to the I/P compartment (2)

  8. Object Number: 2039768  Size: SH
  9. Close the I/P compartment assembly door (2).
  10. Notice: Refer to Fastener Notice in the Preface section.

  11. Install the I/P compartment lower retaining screws (1).
  12. Tighten
    Tighten the screws (1) to 2  N·m (18 lb in).

  13. Install the instrument panel outer trim cover. Refer to Instrument Panel Outer Trim Cover Replacement.
  14. Install the instrument panel insulator panel - right side. Refer to Instrument Panel Insulator Panel Replacement - Left Side.
  15. Test all electrical components for corrected operation.