GM Service Manual Online
For 1990-2009 cars only

Draining Procedure (3.6L Engine)

    Caution: Refer to Battery Disconnect Caution in the Preface section.

    Caution: Refer to Radiator Cap Removal Caution in the Preface section.

    Caution: Refer to Safety Glasses Caution in the Preface section.

  1. Disconnect the battery ground cable from the battery. Refer to Battery Negative Cable Disconnection and Connection .
  2. Ensure engine is below 50 C before removing the Coolant pressure cap.
  3. Caution: Refer to Vehicle Lifting Caution in the Preface section.

  4. Raise and support the vehicle. Refer to Lifting and Jacking the Vehicle .

  5. Object Number: 1949734  Size: SH
  6. Place a drain pan under the drain cock (1).
  7. Important: If drain cock is not being replaced do not remove it from the radiator.

  8. Loosen the drain cock until coolant flows out of the radiator.
  9. Inspect the engine coolant for the following conditions:
  10. • Discolored appearance -- follow the flush procedure. Refer to Coolant System Flushing .
    • Normal in appearance -- follow the filling procedure. Refer to Cooling System Draining and Filling .

Filling Procedure


    Object Number: 1949734  Size: SH
  1. Tighten the drain cock (1).
  2. Lower the vehicle.
  3. With the engine off, remove the coolant filler cap.

  4. Object Number: 1949735  Size: SH
  5. Remove the engine coolant air bleed hose (1) by releasing retaining hose clamp (2) and remove it from the radiator spigot (3).
  6. Notice: Refer to General Repair Instructions in the Preface section.

  7. Slowly fill the cooling system with a mixture of 50/50 dex cool and water until coolant flows out of air bleed hose spigot. Refit air bleed hose.
  8. Continue to fill the system until full. Wait several seconds and "top up" if levels drops.
  9. Start engine.
  10. With engine idling top up coolant until full, wait for several seconds and "top up" if level drops.
  11. Stop engine, wait several seconds and "top up" if level drops.
  12. When full, fit coolant filler cap and switch off engine.

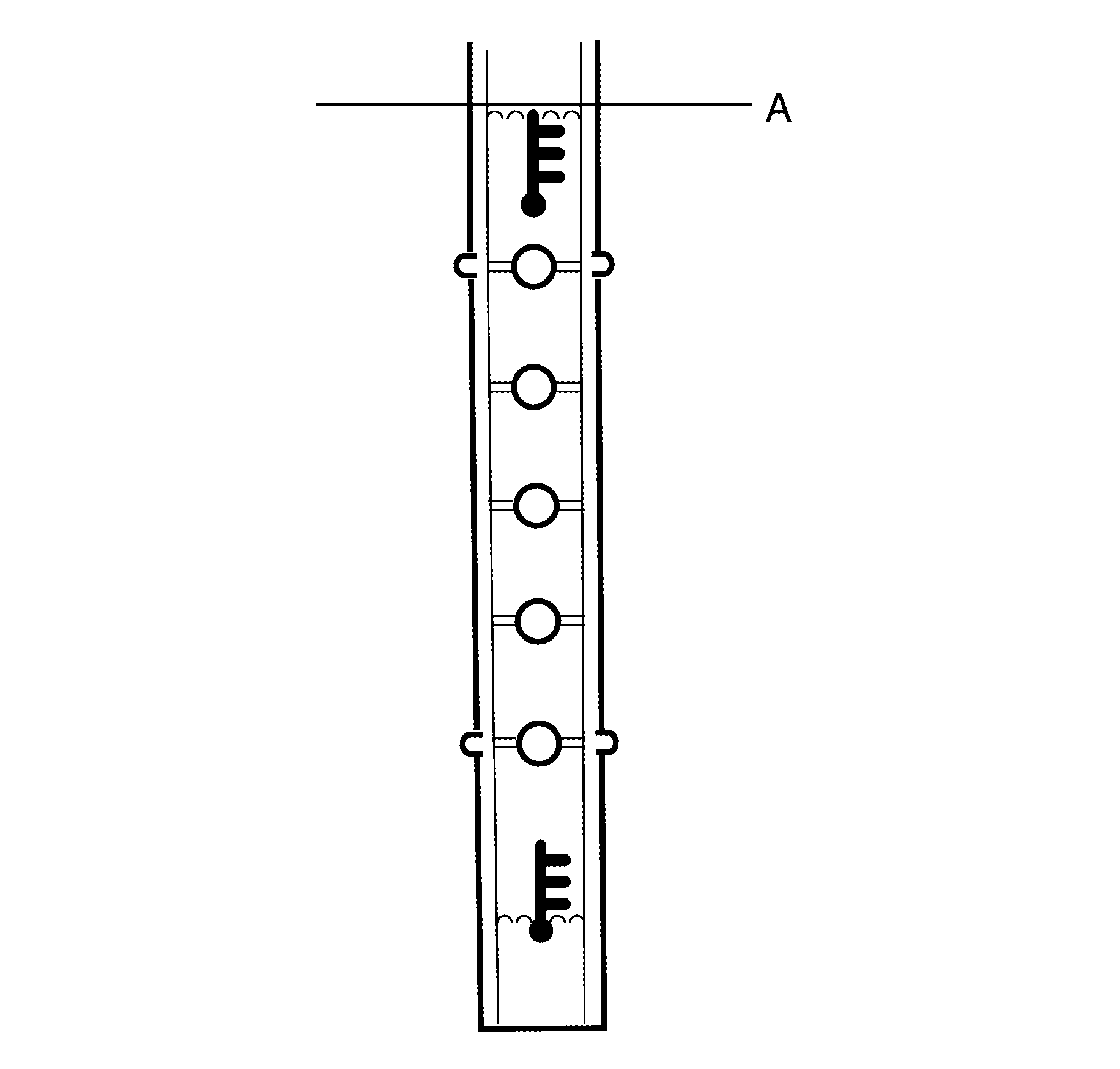
  13. Object Number: 1949736  Size: SH
  14. Check coolant in coolant recovery reservoir. Adjust coolant in the reservoir to the top of the graphic mark (A) on the dipstick.

Draining Procedure (6.0L Engine)

    Caution: Refer to Battery Disconnect Caution in the Preface section.

    Caution: Refer to Radiator Cap Removal Caution in the Preface section.

    Caution: Refer to Safety Glasses Caution in the Preface section.

  1. Disconnect the battery ground cable from the battery. Refer to Battery Negative Cable Disconnection and Connection .
  2. Ensure engine is below 50 C before removing the Coolant pressure cap.
  3. Caution: Refer to Vehicle Lifting Caution in the Preface section.

  4. Raise and support the vehicle. Refer to Lifting and Jacking the Vehicle .

  5. Object Number: 1949734  Size: SH
  6. Place a drain pan under the drain cock (1).
  7. Important: If drain cock is not being replaced do not remove it from the radiator.

  8. Loosen the drain cock until coolant flows out of the radiator.
  9. Inspect the engine coolant for the following conditions:
  10. • Discolored appearance -- follow the flush procedure. Refer to Coolant System Flushing .
    • Normal in appearance -- follow the filling procedure. Refer to Cooling System Draining and Filling .

Filling Procedure


    Object Number: 1949734  Size: SH
  1. Tighten the drain cock (1).
  2. Lower the vehicle.
  3. With the engine off, remove the coolant filler cap.
  4. Notice: Refer to General Repair Instructions in the Preface section.

  5. Slowly fill the cooling system with a mixture of 50/50 Dex Cool and water until full, wait several seconds and "top up" if level drops.
  6. Notice: Refer to General Repair Instructions in the Preface section.

  7. Start engine.
  8. With engine idling top up coolant until full, wait for several seconds and "top up" if level drops.
  9. When full, fit coolant filler cap and switch off engine.

  10. Object Number: 1949736  Size: SH
  11. Check coolant level in coolant recovery reservoir. Adjust coolant level in the reservoir to the top of graphic mark (A) on the dipstick.