GM Service Manual Online
For 1990-2009 cars only

Tools Required

J 45059 Angle Meter


    Object Number: 1950864  Size: SH

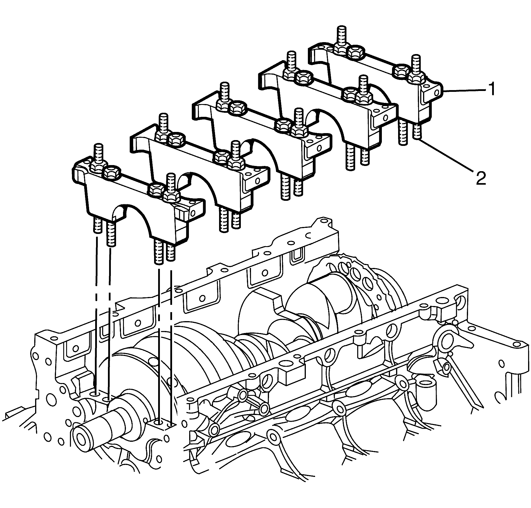
    Important: The crankshaft bearings (2) MUST be installed to their original position after performing an oil clearance check.

    Important: Do not apply engine oil to the back of the crankshaft bearings (2).

  1. Install the crankshaft bearings (2) into the bearing caps (1) and the cylinder block (3).
  2. Apply clean engine oil to the bearing halves and crankshaft journals.

  3. Object Number: 1950862  Size: SH

    Important: Make sure the crankshaft (1) is held square to avoid damaging the centre main thrust bearing or the reluctor ring teeth. Nicks, burrs or other damage to the teeth may effect on-board diagnostics (OBD) II system performance.

  4. Install the crankshaft (1).

  5. Object Number: 1950861  Size: SH

    Important: The crankshaft bearing caps are machined with the engine block for the correct clearances. The crankshaft bearing caps MUST be installed to their original position and direction.

  6. Install the crankshaft bearing caps (1).
  7. Install the crankshaft bearing cap bolts and studs (2).
  8. Notice: Refer to Fastener Notice in the Preface section.


    Object Number: 1954136  Size: SH

    Important: Perform the Stage 1 for bolts and studs 1-20 and then continue with Stage 2. Use the J 45059 to achieve an accurate second reading, noting the different turn angles for the bolts and the studs.

  9. Tighten the crankshaft bearing cap bolts and studs (2) in the sequence shown.
  10. Tighten

    1. Tighten the crankshaft bearing cap to cylinder block inner retaining bolts (1 - 10) a first pass in sequence to 20 N·m (14 lb ft).
    2. Tighten the crankshaft bearing cap to cylinder block inner retaining bolts (11 - 20) a first pass in sequence to 20 N·m (14 lb ft).
    3. Tighten the crankshaft bearing cap to cylinder block inner retaining bolts (1 - 10) a second pass in sequence an additional 80 degrees using the J 45059 .
    4. Tighten the crankshaft bearing cap to cylinder block inner retaining bolts (11 - 20) a second pass in sequence an additional 53 degrees using the J 45059 .