GM Service Manual Online
For 1990-2009 cars only

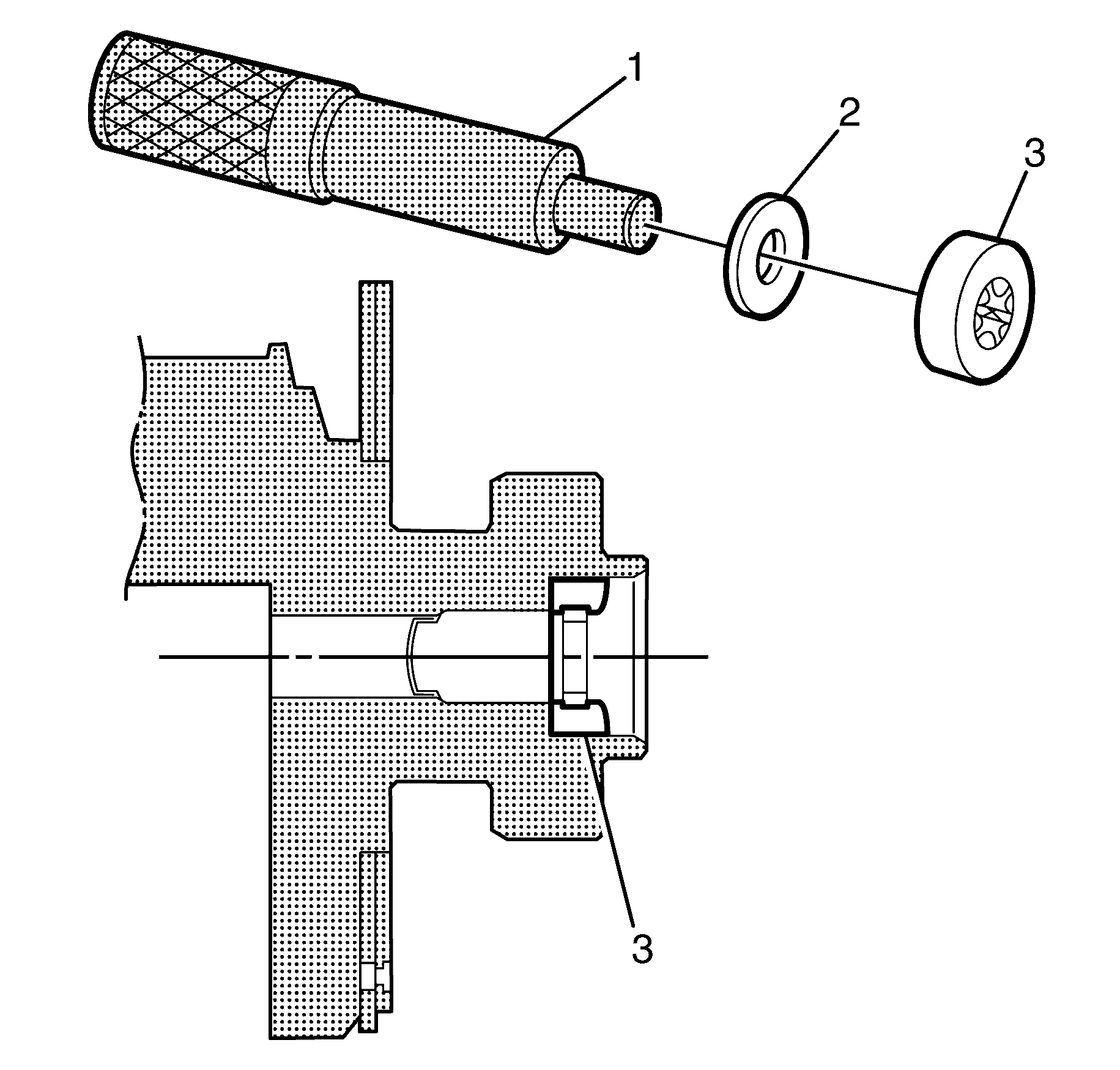
Tools Required

J 38836 Bushing Installer and Clutch Arbor


    Object Number: 1986575  Size: SH

    Important: Make sure that the crankshaft rear oil gallery plug (1) is not a loose fit, damaged or leaking.

    Important: The correct depth (a) for the oil gallery plug is 31.2 to 31.6 mm.

  1. Apply sealant LOCTITE R 242 and install it to the correct depth, If replacing the oil gallery plug (1).

  2. Object Number: 1986577  Size: SH

    Important: Use a 5/8 inch flat washer (2) against the tool to support the bearing races.

    Important: When installed correctly the bearing should be flush with the crankshaft counter-bore.

  3. Install the clutch pilot bearing (3) to the rear of the crankshaft, using J 38836 (1).