GM Service Manual Online
For 1990-2009 cars only

Instrument Panel Center Trim Panel Replacement SWB LHD

Removal Procedure - (Omega)

  1. Remove the knee bolster. Refer to Knee Bolster Replacement .
  2. Remove the instrument panel compartment. Refer to Instrument Panel Compartment Replacement
  3. Remove the radio. Refer to Radio Replacement .
  4. Remove the centre console trim plate. Refer to Console Trim Plate Replacement .

  5. Object Number: 1962334  Size: SH
  6. Remove the coin holder upper retaining screws (2,4) and remove the park brake recess trim (1).
  7. Remove the park recces tray upper retaining screw (2) and remove the coin holder (3).

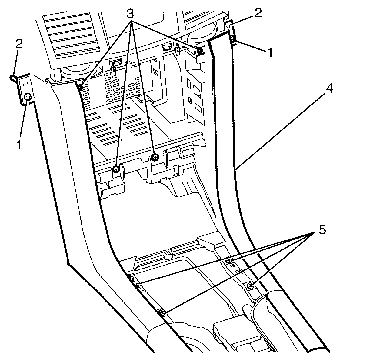
  8. Object Number: 1962711  Size: SH
  9. Remove the trim panel (3) to I/P tower lower retaining screws (4).
  10. Remove the trim panel (3) to centre console upper retaining screws (2,1).
  11. Remove the trim panel (3) from the centre console

Installation Procedure


    Object Number: 1957773  Size: SH

    Important: When installing the trim panel make sure the locating pins (2) are correctly aligned with the locating holes.

  1. Install the trim panel (4) to the I/P carrier.
  2. Notice: Refer to Fastener Notice in the Preface section.

  3. Install the trim panel to I/P tower upper retaining screws (3,1).
  4. Tighten
    Tighten the screws (3,1) to 2  N·m (18 lb in).

  5. Install the trim panel (4) to centre console lower retaining screws (5).
  6. Tighten
    Tighten the screws (5) to 2  N·m (18 lb in).


    Object Number: 1962334  Size: SH
  7. Install the coin holder (3) and park brake recess trim (1).
  8. Install the coin holder (3) upper retaining screws (2,4).
  9. Tighten
    Tighten the screws (1) to 2  N·m (18 lb in).

  10. Install the park recess tray upper retaining screw (2).
  11. Tighten
    Tighten the screws (1) to 2  N·m (18 lb in).

  12. Install the radio. Refer to Radio Replacement .
  13. Install the instrument panel compartment. Refer to Instrument Panel Compartment Replacement .
  14. Install the knee bolster. Refer to Knee Bolster Replacement .
  15. Install the centre console trim plate. Refer to Console Trim Plate Replacement .
  16. Test radio for correct operation.

Instrument Panel Center Trim Panel Replacement LWB LHD

Removal Procedure - LS

  1. Remove the trim plate - console. Refer to Console Trim Plate Replacement.

  2. Object Number: 1957134  Size: SH
  3. Remove the trim panel (1) to centre console retaining screws (2).
  4. Notice: Refer to General Repair Instructions in the Preface section.


    Object Number: 1962688  Size: SH
  5. Carefully disengage the trim panel (1) retaining clips (2) and remove the trim panel.

Installation Procedure - LS


    Object Number: 1962688  Size: SH
  1. Align the trim panel (1) with the centre console.
  2. Install the trim (1) panel by engaging the retaining clips (2).
  3. Notice: Refer to Fastener Notice in the Preface section.


    Object Number: 1957134  Size: SH
  4. Install the trim panel (1) to centre console retaining screws (2).
  5. Tighten
    Tighten the screws (2) to   N·m (18 lb in).

  6. Install the trim plate - console. Refer to Console Trim Plate Replacement.

Removal Procedure - LTZ, SS, Royale

  1. Remove the trim plate - console. Refer to Console Trim Plate Replacement.

  2. Object Number: 1962689  Size: SH
  3. Remove the trim panel (1) to centre console retaining screws (2).
  4. Notice: Refer to General Repair Instructions in the Preface section.


    Object Number: 1962690  Size: SH
  5. Carefully disengage the trim panel retaining clips (1) and remove the trim panel (2).

Installation Procedure - LTZ, SS, Royale


    Object Number: 1962690  Size: SH
  1. Align the trim panel (2) with the centre console.
  2. Install the trim panel (2) by engaging the retaining clips (1).
  3. Notice: Refer to Fastener Notice in the Preface section.


    Object Number: 1962689  Size: SH
  4. Install the trim panel (1) to centre console retaining screws (2).
  5. Tighten
    Tighten the screws (2) to 2  N·m (18 lb in).

  6. Install the trim plate - console. Refer to Console Trim Plate Replacement.

Instrument Panel Center Trim Panel Replacement LWB RHD

Removal Procedure

  1. Remove the trim plate - console. Refer to Console Trim Plate Replacement.

  2. Object Number: 1957134  Size: SH
  3. Remove the trim panel (1) to centre console retaining screws (2).
  4. Notice: Refer to General Repair Instructions in the Preface section.


    Object Number: 1962688  Size: SH
  5. Carefully disengage the trim panel (1) retaining clips (2) and remove the trim panel.

Installation Procedure


    Object Number: 1962688  Size: SH
  1. Align the trim panel (1) with the centre console.
  2. Install the trim (1) panel by engaging the retaining clips (2).
  3. Notice: Refer to Fastener Notice in the Preface section.


    Object Number: 1957134  Size: SH
  4. Install the trim panel (1) to centre console retaining screws (2).
  5. Tighten
    Tighten the screws (2) to   N·m (18 lb in).

  6. Install the trim plate - console. Refer to Console Trim Plate Replacement.

Instrument Panel Center Trim Panel Replacement SWB RHD

Removal Procedure - (Omega)

  1. Remove the knee bolster. Refer to Knee Bolster Replacement .
  2. Remove the instrument panel compartment. Refer to Instrument Panel Compartment Replacement .
  3. Remove the radio. Refer to Radio Replacement .
  4. Remove the centre console trim plate. Refer to Console Trim Plate Replacement .

  5. Object Number: 1957193  Size: SH
  6. Remove the coin holder upper retaining screws (2,4) and remove the coin holder (1).
  7. Remove the park recces tray upper retaining screw (2) and remove the recess trim (3).

  8. Object Number: 1957773  Size: SH
  9. Remove the trim panel (4) to I/P tower lower retaining screws (1).
  10. Remove the upper trim panel retaining screws (1) from the trim panel (4).
  11. Remove the trim panel (3) to centre console retaining screws (5).
  12. Remove the trim panel (5) to centre console

Installation Procedure


    Object Number: 1957773  Size: SH
  1. Install the trim panel to the I/P carrier.
  2. Notice: Refer to Fastener Notice in the Preface section.

  3. Install the trim panel to centre console retaining screws (1) and (3).
  4. Tighten
    Tighten the screws (1) and (3) to 2  N·m (18 lb in).

  5. Install the trim panel (4) to I/P tower retaining screws (1) and (3).
  6. Tighten
    Tighten the screws (3) to 2  N·m (18 lb in).

    Notice: Refer to Fastener Notice in the Preface section.


    Object Number: 1957193  Size: SH
  7. Install the coin holder upper retaining screws (2,4) and remove the coin holder (1).
  8. Tighten
    Tighten the screws (1) to 2  N·m (18 lb in).

  9. Install the park recces tray upper retaining screw (2) and remove the recess trim (3).
  10. Tighten
    Tighten the screws (1) to 2  N·m (18 lb in).

  11. Install the radio. Refer to Radio Replacement .
  12. Install the instrument panel compartment. Refer to Instrument Panel Compartment Replacement .
  13. Install the knee bolster. Refer to Knee Bolster Replacement .
  14. Install the centre console trim plate. Refer to Console Trim Plate Replacement .
  15. Test radio for correct operation.

Removal Procedure - (SV6,SS and SS-V)

  1. Remove the knee bolster. Refer to Knee Bolster Replacement .
  2. Remove the instrument panel compartment. Refer to Instrument Panel Compartment Replacement .
  3. Remove the radio fascia. Refer to Instrument Panel Compartment Replacement .

  4. Object Number: 1957769  Size: SH
  5. Remove the trim panel (1) to I/P tower lower retaining screws (2).

  6. Object Number: 1957755  Size: SH
  7. Remove the upper trim panel to I/P pad retaining screws (1).
  8. Disengage the trim panel to I/P pad retaining clips, located at the top of the trim panel.
  9. Lift the trim panel upward and forward to gain access to the multi function display unit electrical connector.

  10. Object Number: 1957760  Size: SH
  11. Disconnect the multi function display unit (2) electrical connector (1).
  12. Remove the trim panel.

Installation Procedure


    Object Number: 1957760  Size: SH
  1. Connect the multi function display unit (2) electrical connector (1).
  2. Notice: Refer to Fastener Notice in the Preface section.


    Object Number: 1957755  Size: SH
  3. Install the top trim panel to I/P pad retaining screws (1).
  4. Tighten
    Tighten the screws (1) to 2  N·m (18 lb in).


    Object Number: 1957769  Size: SH
  5. Align the trim panel (1) with the I/P tower.
  6. Engage the trim panel retaining clips.
  7. Notice: Refer to Fastener Notice in the Preface section.

  8. Install the trim panel to I/P tower retaining screws (2).
  9. Tighten
    Tighten the screws (1) to 2  N·m (18 lb in).

  10. Install the radio fascia. Refer to Instrument Panel Compartment Replacement .
  11. Install the instrument panel compartment. Refer to Instrument Panel Compartment Replacement
  12. Install the knee bolster. Refer to Knee Bolster Replacement .
  13. Test the multi function display and radio for correct operation.