GM Service Manual Online
For 1990-2009 cars only

General Description

The Aisin AY6 manual transmission is a 6-speed unit with 6th gear being an overdrive ratio. All gear positions are synchronized. The transmission has a speed reflector wheel on the output shaft for the vehicle speed sensor. Roller, tapered roller, and ball bearings support the input shaft, countershaft, and output shaft. No shimming is required. For proper set up, selective thickness retaining rings are used. All of the speed gears use needle bearings. The AY6 uses a special 75W-90 transmission fluid. The transmission has a 4 piece aluminum housing which consists of the following components:

    • The input shaft
    • The mainshaft gears
    • The countershaft
    • The reverse idler gear
    • The shift forks
    • The shift shaft components

The Aisin transmission is used in cars.

Shifting Operation


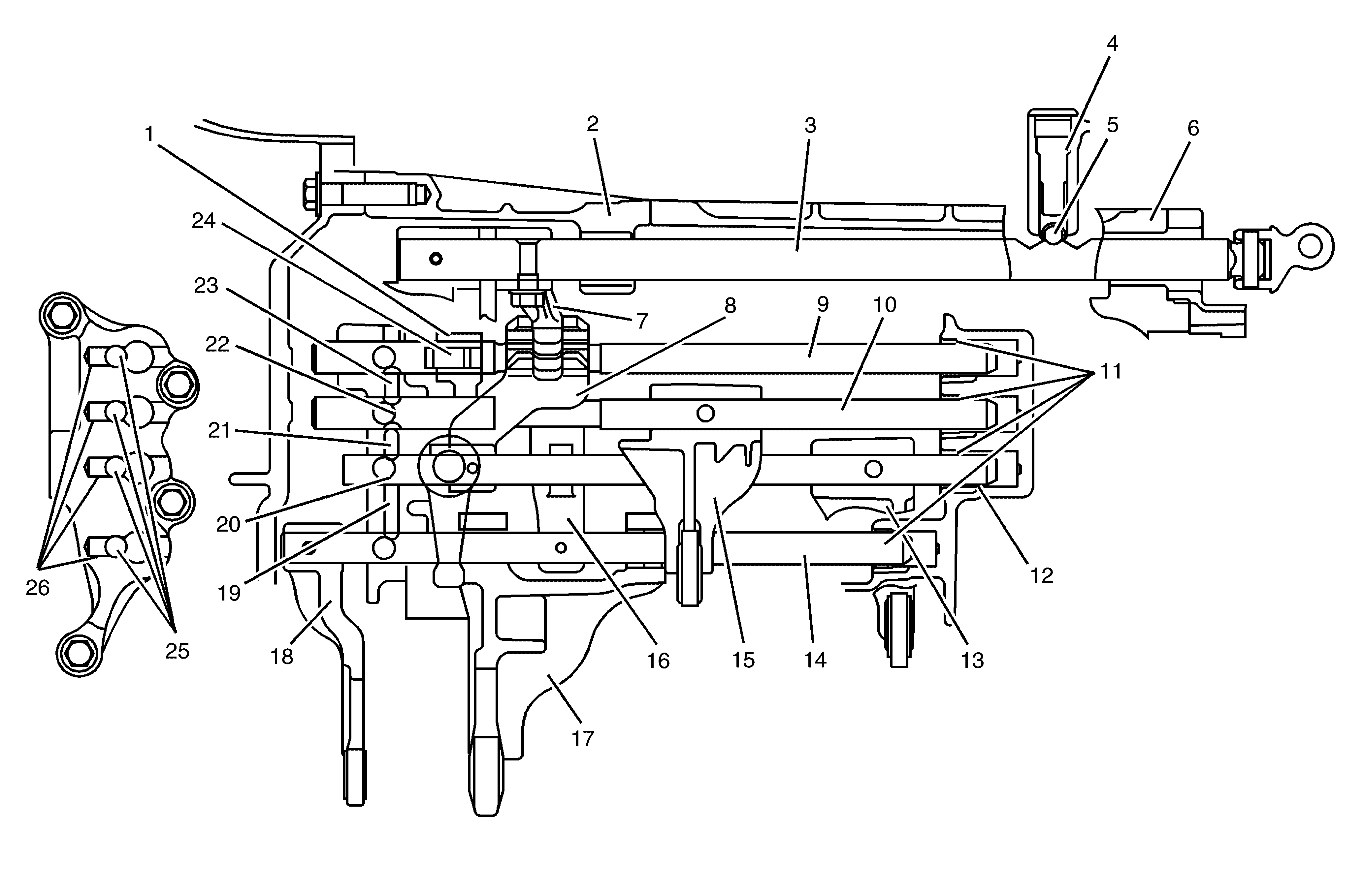
Object Number: 1962277  Size: MF

The AY6 has a unique shift system. A single shift control shaft (3) operates 4 shift shafts. Shift control lever fits into a coupling on the shift control shaft (3). Positioning a bolt holds the lever (7) in place on the shift control shaft (3), in the gates of the shift shafts, operates the 1st/2nd shift shaft (9), the 3rd/4th shift shaft (10), the 5th/6th shift shaft (12) and the reverse shift shaft (14). Moving the shift control lever side to side allows the lever (7) on the shift control shaft (3) to engage into one of the 4 gates. Moving the shift control lever forward and reverse selects either position of the particular shift shaft. When shifted in position, a detent ball (25) and spring (26) located in the interlock bracket, holds the shift shaft, and a detent ball (5) and spring (4) located in the rear case, holds the shift control shaft (3). To aid in easy shift operation, the middle case shift control shaft bearing (2) and the rear case shift control shaft bearing (6) support the shift control shaft (3). In addition, the rear case shift shaft bushings (11) support the 1st/2nd shift shaft (9), the 3rd/4th shift shaft (10) and the 5th/6th shift shaft (12).

The 1st/2nd shift shaft (9) is the top shift shaft. A pin holds the no.3 head (1) in place on the shift shaft. No.3 head (1) links with 1st/2nd shift fork (17) via the reversal arm (24). The 1st/2nd shift fork (17) slides on the reverse shift shaft (14).

The 3rd/4th shift shaft (10) is the second shaft from the top. A bolt holds the 3rd/4th shift fork (15) in place on the shift shaft. A small shift shaft interlock pin (22) in the 3rd/4th shift shaft (10) prevents the other shafts from moving. Interlock pins (23 or 21), located in the interlock bracket, contact the small interlock pin (22) and lock into a notch on the shift shaft, preventing multiple shift shaft movement.

The 5th/6th shift shaft (12) is located third from the top. A pin holds the 5th/6th shift head (8) in place on the shift shaft. A bolt holds the 5th/6th shift fork (13) in place on the shift shaft. A small shift shaft interlock pin (20) in the 5th/6th shift shaft (12) prevents the other shafts from moving. Interlock pins (21 or 19), located in the interlock bracket, contact the small interlock pin (20) and lock into a notch on the shift shaft, preventing multiple shift shaft movement.

The reverse shift shaft (14) is the bottom shift shaft. Pins hold the reverse shift head (16) and the reverse shift fork (18) in place on the shift shaft.

Power Flow


Object Number: 1962278  Size: MF

1st Gear

Moving the 1st/2nd shift fork (13) forward moves the 1st/2nd synchronizer sleeve (14). The synchronizer sleeve (14) slides on the synchronizer hub. The inner teeth on the synchronizer sleeve push against the synchronizer ring teeth, causing the synchronizer rings to contact, and the 1st gear (15) and the countershaft to match speeds. The synchronizer sleeve (14) then engages the selector teeth on 1st gear (14). The synchronizer hub is pressed on the countershaft (11). Power flow is now from the input shaft (1) to the 1st gear (15), through the synchronizer to the countershaft (11) and to the output shaft (10).

2nd Gear

Moving the 1st/2nd shift fork (13) rearward moves the 1st/2nd synchronizer sleeve (14). The synchronizer sleeve (14) slides on the synchronizer hub. The inner teeth on the synchronizer sleeve push against the synchronizer ring teeth, causing the synchronizer rings to contact, and the 2nd gear (12) and the countershaft to match speeds. The synchronizer sleeve (14) then engages the selector teeth on 2nd gear (12). The synchronizer hub is pressed on the countershaft (11). Power flow is now from the input shaft (1) to the 2nd gear (12), through the synchronizer to the countershaft (11) and to the output shaft (10).

3rd Gear

Moving the 3rd/4th shift fork (4) rearward moves the 3rd/4th synchronizer sleeve (5). The synchronizer sleeve (5) slides on the synchronizer hub. The inner teeth on the synchronizer sleeve push against the synchronizer ring teeth, causing the synchronizer ring to contact, and the 3rd gear (6) and the input shaft to match speeds. The synchronizer sleeve (5) then engages the selector teeth on 3rd gear (6). The synchronizer hub is pressed on the input shaft (1). Power flow is now from the input shaft (1) through the synchronizer, to the 3rd gear (6) to the countershaft (11) and to the output shaft (10).

4th Gear

Moving the 3rd/4th shift fork (4) forward moves the 3rd/4th synchronizer sleeve (5). The synchronizer sleeve (5) slides on the synchronizer hub. The inner teeth on the synchronizer sleeve push against the synchronizer ring teeth, causing the synchronizer ring to contact, and the 4th gear (3) and the input shaft to match speeds. The synchronizer sleeve (5) then engages the selector teeth on 4th gear (3). The synchronizer hub is pressed on the input shaft (1). Power flow is now from the input shaft (1) through the synchronizer, to the 4th gear (3) to the countershaft (11) and to the output shaft (10).

5th Gear

In 5th gear, the power flow goes directly from the input shaft (1) to the output shaft (10) through the 5th/6th synchronizer. This happens because 5th gear is the same ratio as the engine speed. Moving the 5th/6th shift fork (8) rearward moves the 5th/6th synchronizer sleeve (9). The synchronizer sleeve (9) slides on the synchronizer hub. The inner teeth on the synchronizer sleeve push against the synchronizer ring teeth for output shaft (10). Matching the input shaft (1) to the output shaft (10) allows the synchronizer sleeve to engage to the selector teeth on the output shaft (10). The synchronizer hub is pressed on the input shaft (1).

6th Gear

the 6th gear (7) is an overdrive ratio. Moving the 5th/6th shift fork (8) forward moves the 5th/6th synchronizer sleeve (9). The synchronizer sleeve (9) slides on the synchronizer hub. The inner teeth on the synchronizer sleeve push against the synchronizer ring teeth, causing the synchronizer ring to contact, and the 6th gear (7) and the input shaft to match speeds. The synchronizer sleeve (9) then engages the selector teeth on 6th gear (7). The synchronizer hub is pressed on the input shaft (1). Power flow is now from the input shaft (1) through the synchronizer to the 6th gear (7) to the countershaft (11) and to the output shaft (10), which now turns faster than the speed of the input shaft (1).

Reverse Gear

The reverse idler gear (2) is located on the reverse idler shaft and rotates on needle bearings. The reverse idler gear (2) engages with the input shaft (1) and with the reverse gear (19). Moving the reverse shift fork (18) rearward moves the reverse synchronizer sleeve (17). The synchronizer sleeve (17) slides on the spline of the reverse gear. The inner teeth on the synchronizer sleeve push against the synchronizer ring teeth, causing the synchronizer ring to contact, and the reverse gear (19) and the countershaft to match speeds. The synchronizer sleeve (17) then engages the selector teeth (16). The selector teeth are pressed on the countershaft (11). Power flow is now from the input shaft (1) to the reverse idler gear (2), to the reverse gear (19), through the synchronizer to the countershaft (11) and to the output shaft (10).