GM Service Manual Online
For 1990-2009 cars only

Front Fog Lamp Replacement LWB SWB

Removal Procedure

    Caution: Refer to Battery Disconnect Caution in the Preface section.

  1. Disconnect the battery ground cable. Refer to Battery Negative Cable Disconnection and Connection.
  2. Remove the air deflector from the front end of the vehicle. Refer to Front Air Deflector Replacement.

  3. Object Number: 1946934  Size: SH
  4. Disconnect the electrical connector (3) from the fog lamp assembly.
  5. Remove the fasteners (1) that secure the front fog lamp assembly (2) to the front fascia.
  6. Remove the front fog lamp assembly from the vehicle.

Installation Procedure


    Object Number: 1946934  Size: SH

    Important: Do not handle the quartz envelope of the headlight bulb. Wipe the quartz envelope immediately with methylated spirits if it is touched accidentally or the performance of the bulb will deteriorate.

  1. Install the front fog lamp assembly (2) to the front facia assembly.
  2. Notice: Refer to Fastener Notice in the Preface section.

  3. Install and tighten the retaining screws to secure the front fog lamp assembly to the front fascia.
  4. Tighten
    Tighten the retaining screws to 2.0 N·m (18 lb in).

  5. Connect the electrical connector (3) to the fog lamp assembly.
  6. Install the air deflector to the front end of the vehicle. Refer to Front Air Deflector Replacement.
  7. Caution: Refer to Battery Disconnect Caution in the Preface section.

  8. Connect the battery ground cable. Refer to Battery Negative Cable Disconnection and Connection.
  9. Adjust the fog lamps. Refer to Fog Lamp Aiming.

Front Fog Lamp Replacement CSV SWBHSV VXR8

Removal Procedure - Type B

    Caution: Refer to Battery Disconnect Caution in the Preface section.

  1. Disconnect the battery negative cable. Refer to Battery Negative Cable Disconnection and Connection.
  2. Remove the front air deflector. Refer to Front Air Deflector Replacement.

  3. Object Number: 1937344  Size: SH
  4. Disconnect the front fog lamp electrical connector (1).

  5. Object Number: 1946929  Size: SH
  6. Remove the front lamp assembly to fascia retaining screws (1).

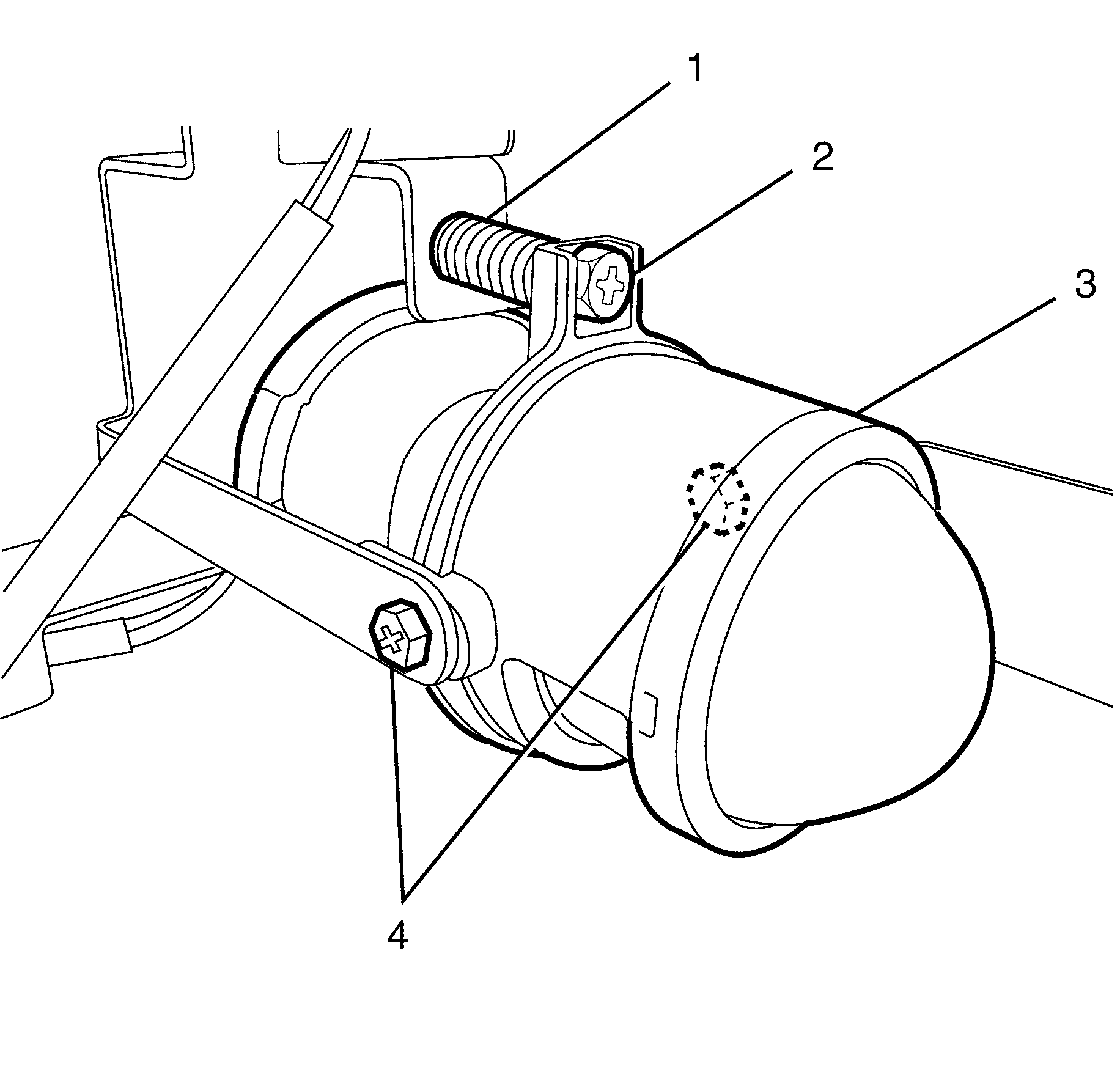
  7. Object Number: 1946930  Size: SH
  8. Remove the front fog lamp adjustment screw (2) and spring (1).
  9. Remove the front fog lamp to bracket retaining bolts (4).
  10. Remove the front fog lamp (3) from the vehicle.

Installation Procedure - Type B

  1. Position the front fog lamp to the vehicle.
  2. Notice: Refer to Fastener Notice in the Preface section.


    Object Number: 1946930  Size: SH
  3. Install the front fog lamp to bracket retaining bolts (4).
  4. Tighten
    Tighten the bolts to 2.0 Nm (18 lb in).

  5. Install the front fog lamp adjustment screw (2) and spring (1).

  6. Object Number: 1946929  Size: SH
  7. Install the front lamp assembly to fascia retaining screws (1).
  8. Tighten
    Tighten the screws to 2.0 Nm (18 lb in).


    Object Number: 1937344  Size: SH
  9. Connect the front fog lamp electrical connector (1).
  10. Install the front air deflector. Refer to Front Air Deflector Replacement.
  11. Adjust the fog lamps. Refer to Fog Lamp Aiming.
  12. Connect the battery negative cable. Refer to Battery Negative Cable Disconnection and Connection.

Removal Procedure - Type C

    Caution: Refer to Battery Disconnect Caution in the Preface section.

  1. Disconnect the battery negative cable. Refer to Battery Negative Cable Disconnection and Connection.
  2. Remove the front air deflector. Refer to Front Air Deflector Replacement.

  3. Object Number: 1946931  Size: SH
  4. Cut and discard the cable tie (3).
  5. Disconnect the front fog lamp electrical connector (2).
  6. Remove the front fog lamp to fascia retaining screws (4).
  7. Remove the front fog lamp assembly (1) from the vehicle.

  8. Object Number: 1946933  Size: SH
  9. Remove the front fog lamp to bracket retaining bolts (2).
  10. Remove the front fog lamp (1).

Installation Procedure - Type C


    Object Number: 1946933  Size: SH
  1. Position the front fog lamp (1) to the retaining bracket.
  2. Notice: Refer to Fastener Notice in the Preface section.

  3. Install the front fog lamp to bracket retaining bolts (2).
  4. Tighten
    Tighten the bolts to 2.0 Nm (18 lb in).


    Object Number: 1946931  Size: SH
  5. Install the front fog lamp assembly (1) and the front fog lamp assembly to fascia retaining screws (4).
  6. Tighten
    Tighten the screws to 2.0 Nm (18 lb in).

  7. Connect the front fog lamp electrical connector (2).
  8. Install a NEW cable tie (3).
  9. Install the front air deflector. Refer to Front Air Deflector Replacement.
  10. Adjust the fog lamps. Refer to Fog Lamp Aiming.
  11. Connect the battery negative cable. Refer to Battery Negative Cable Disconnection and Connection.

Front Fog Lamp Replacement LWBHSV

Removal Procedure

    Caution: Refer to Battery Disconnect Caution in the Preface section.

  1. Disconnect the battery negative cable. Refer to Battery Negative Cable Disconnection and Connection in Engine Electrical.
  2. Remove the front bumper fascia. Refer to Front Bumper Fascia Replacementin Bumpers.

  3. Object Number: 2025896  Size: SH
  4. Cut the cable tie (1) and disconnect the front fog lamp electrical connector (2).

  5. Object Number: 2025897  Size: SH
  6. Remove the front fog lamp assembly to fascia retaining screws (1).
  7. Remove the front fog lamp assembly (2) from the fascia (3).

  8. Object Number: 2025898  Size: SH
  9. Remove the front fog lamp vertical adjustment screw (1) and spring (2).
  10. Remove the front fog lamp horizontal adjustment screw (3) and spring (4).
  11. Remove the front fog lamp to bracket retaining bolts (5).
  12. Remove the front fog lamp (6) from the assembly.

Installation Procedure

    Notice: Refer to Fastener Notice in the Preface section.


    Object Number: 2025898  Size: SH
  1. Position the front fog lamp (6) in the assembly.
  2. Install the front fog lamp to bracket retaining bolts (5).
  3. Tighten
    Tighten the bolts to 2.0 Nm (18 lb in).

  4. Install the front fog lamp horizontal adjustment screw (3) and spring (4)
  5. Tighten
    Tighten the screw to 2.0 Nm (18 lb in).

  6. Install the front fog lamp vertical adjustment screw (1) and spring (2)
  7. Tighten
    Tighten the screw to 2.0 Nm (18 lb in).


    Object Number: 2025897  Size: SH
  8. Install the front fog lamp assembly (2) to the fascia (3).
  9. Install the front fog lamp assembly to fascia retaining screws (1).
  10. Tighten
    Tighten the screws to 2.0 Nm (18 lb in).


    Object Number: 2025896  Size: SH
  11. Connect the front fog lamp electrical connector (2).
  12. Retain the front fog lamp electrical connector with a cable tie (1).
  13. Install the front bumper fascia. Refer to Front Bumper Fascia Replacement in Bumpers.
  14. Adjust the fog lamps. Refer to Fog Lamp Aiming in Lighting Systems.
  15. Connect the battery negative cable. Refer to Battery Negative Cable Disconnection and Connection in Engine Electrical.