GM Service Manual Online
For 1990-2009 cars only

Electrical Center Identification Views LWB SWB

Connector 1: Fuse Block - Underhood
Connector 2: Fuse Block - Underhood X1
Connector 3: Fuse Block - Underhood X2
Connector 4: Fuse Block - Underhood X3
Connector 5: Fuse Block - Underhood X4 (Battery Positive Cable)
Connector 6: Fuse Block - Instrument Panel
Connector 7: Fuse Block - I/P
Connector 8: Fuse Block - Battery Cable X1
Connector 9: Fuse Block - Battery Cable X2
Connector 10: Fuse Block - Battery Cable X3
Connector 11: Junction Block - Battery Cable - Engine X1
Connector 12: Junction Block - Battery Cable - Engine X3
Connector 13: Junction Block - Battery Cable - I/P
Connector 14: Fuse Block - Rear

Fuse Block - Underhood


Object Number: 1963994  Size: LF

Fuse Block - Underhood, Device Usage

No.

Device

Rating

Description

Primary Fuses

FU1

BATT MAIN 4 Fuse

50A

Supply to Instrument Panel fuse box and BCM.

FU2

REAR DEFOG Fuse

40A

Rear defog relay R8

FU3

ABS MOTOR Fuse

40A

Retained accessory power (RAP) relay, SIR, door lock fuses and ABS module.

FU4

BATT MAIN 3 Fuse

50A

Evaporative Emissions (EVAP) Canister Purge Solenoid Valve, Mass Air Flow (MAF)/Intake Air Temperature (IAT) Sensor, Valve Lifter Oil Manifold (VLOM) Assembly (DOD)

FU5

BATT MAIN 1 Fuse

50A

Supply voltage to instrument panel fuse box

FU6

SPARE Fuse

Trailer Wiring, Auxiliary Body Control Module (XBCM) (Export)

FU7

BATT MAIN 2 Fuse

50A

Accessory power feed relay (R8) and power seat circuit breaker

FU8

STARTER Fuse

40A

Starter relay R12

FU9

HVAC BLOWER MOTOR Fuse

40A

HVAC module

FU10

FAN 1 ENGINE COOLING (RIGHT) Fuse

30A

Engine cooling fan relay R17

FU11

SPARE Fuse

FU12

FAN 2 ENGINE COOLING (LEFT) Fuse

30A

Engine cooling fan R20

Secondary Fuses

F1

COMM ENABLE Fuse

10A

F2

A/C CONTROL-HVAC CONTROL MODULE Fuse

10A

HVAC

F3

BACK UP LAMP Fuse

15A

Backup Lamp - Left, Backup Lamp - Right

F4

FOG LAMPS (FRONT) Fuse

15A

Foglamp relay R5

F5

ABS VALVES Fuse

25A

ABS module

F6

SPARE Fuse

F7

HEADLAMP WASHER Fuse

30A

Headlamp wash relay R7

F8

HORN MAIN Fuse

15A

Horn

F9

TCM Fuse

15A

TCM

F10

LEFT LOW BEAM (BASE/HID) Fuse

10/20A

Left hand low beam

F11

SPARE Fuse

F12

RIGHT LOW BEAM (BASE/HID) Fuse

10/20A

Right hand low beam

F13

SPARE Fuse

F14

SPARE Fuse

F15

FRONT WIPER Fuse

30A

Wiper relays

F16

SPARE Fuse

F17

HORN THEFT Fuse

10A

Alarm system

F18

SPARE Fuse

F19

RIGHT HIGH BEAM Fuse

10A

Right hand high beam

F20

SPARE Fuse

F21

FRONT WASHER (WSW) Fuse

15A

Windscreen Washers

F22

SPARE Fuse

F23

LEFT HI BEAM Fuse

10A

Left hand high beam

F24

SPARE Fuse

F25

REVERSE LOCKOUT Fuse

15A

Reverse Lockout Solenoid (Y144)

F26

REAL TIME DAMPING Fuse

25A

Active suspension, electronic suspension control (ESC) module

F27

SPARE Fuse

F28

ECM 1 Fuse

15A

Engine Control Module (ECM A43)

F29

EVEN COILS/INJECTORS Fuse

20A

Ignition coils and Fuel Injectors

F30

SPARE Fuse

F31

SPARE Fuse

F32

EMISSION DEV 2 Fuse

15A

Oxygen Sensors

F33

EMISSION DEV 1 Fuse

15A

Heated Oxygen Sensors, EVAP, IMRC, CMP Solenoids

F34

SPARE Fuse

F35

ODD COILS/INJECTORS Fuse

20A

Ignition Coils and Fuel Injectors

F36

SPARE Fuse

F37

HVAC--IGN (LHD ONLY) Fuse

10A

F38

PHONE CRUISE Fuse

10A

CPP Switch, Telematics Module, Bluetooth connector & Headlamp/Dimmer Switch

F39

IGNITION ENGINE Fuse

10A

MAF, IAT, ECM (A43) &TCM

F40

AIRBAGS Fuse

10A

SIR Module

F41

SPARE Fuse

--

F42

RIGHT PARK LAMP Fuse

10A

Right park lamps

F43

LEFT PARK LAMP Fuse

10A

Left park lamps

R1

SPARE Relay

--

R2

COMMS ENABLE Relay

--

AXH VLV Fuse

R3

SPARE Relay

--

R4

BACK UP LAMPS Relay

--

FOG LAMP Fuse

R5

FOG LAMP-FRONT Relay

--

FUEL PUMP Fuse

R6

HEADLAMP-LO BEAM Relay/(HID)

--

LO HDLP - LT Fuse, LO HDLP - RT Fuse, DRL 2 Fuse

R7

HEADLAMP WASHER Relay

--

LT PRK Fuse, RT PRK Fuse, TRLR PRK Fuse

R8

RR-DEFOG Relay

--

ECM/THROT CONT Fuse, ENG Fuse, INJ-A Fuse, INJ-B Fuse, O2-A SNSR Fuse, O2-B SNSR Fuse, FAN CNRTL PCB Relay, FAN HI PCB Relay, FAN LO PCB Relay

R9

FRONT WIPER HIGH Relay

--

REAR DEFOG Fuse

R10

FRONT WIPER LOW Relay

--

AIRBAG Fuse, AUX HVAC-IGN Fuse, IGN Fuse, ECM-IGN Fuse, MISC IGN Fuse, SEO/ALC Fuse, TRANS IGN 1 Fuse

R11

HEADLAMP-HI BEAM Relay/(HID)

--

STRTR Fuse

R12

CRANK Relay

--

VEH BCK/UP Fuse, TRLR BCK/UP Fuse

R13

POWER TRAIN Relay

--

DRL Fuse

R14

IGNITION MAIN Relay

--

Adjustable Pedals Assembly (JF4 Except AN3)

R15

WSW PUMP FRT Relay

--

Cooling Fan - Right

R16

HORN Relay

--

Cooling Fan - Right, FAN CNTRL Relay

R17

FAN 1 Relay (ENGINE COOLING)

--

Cooling Fan - Left

R18

PARK LAMPS Relay

--

FRT WASH Fuse

R19

FAN 2 Relay (ENGINE COOLING)

--

HI HEADLAMP - LT Fuse, HI HEADLAMP - RT Fuse

R20

FAN 3 Relay (ENGINE COOLING)

--

HORN Fuse

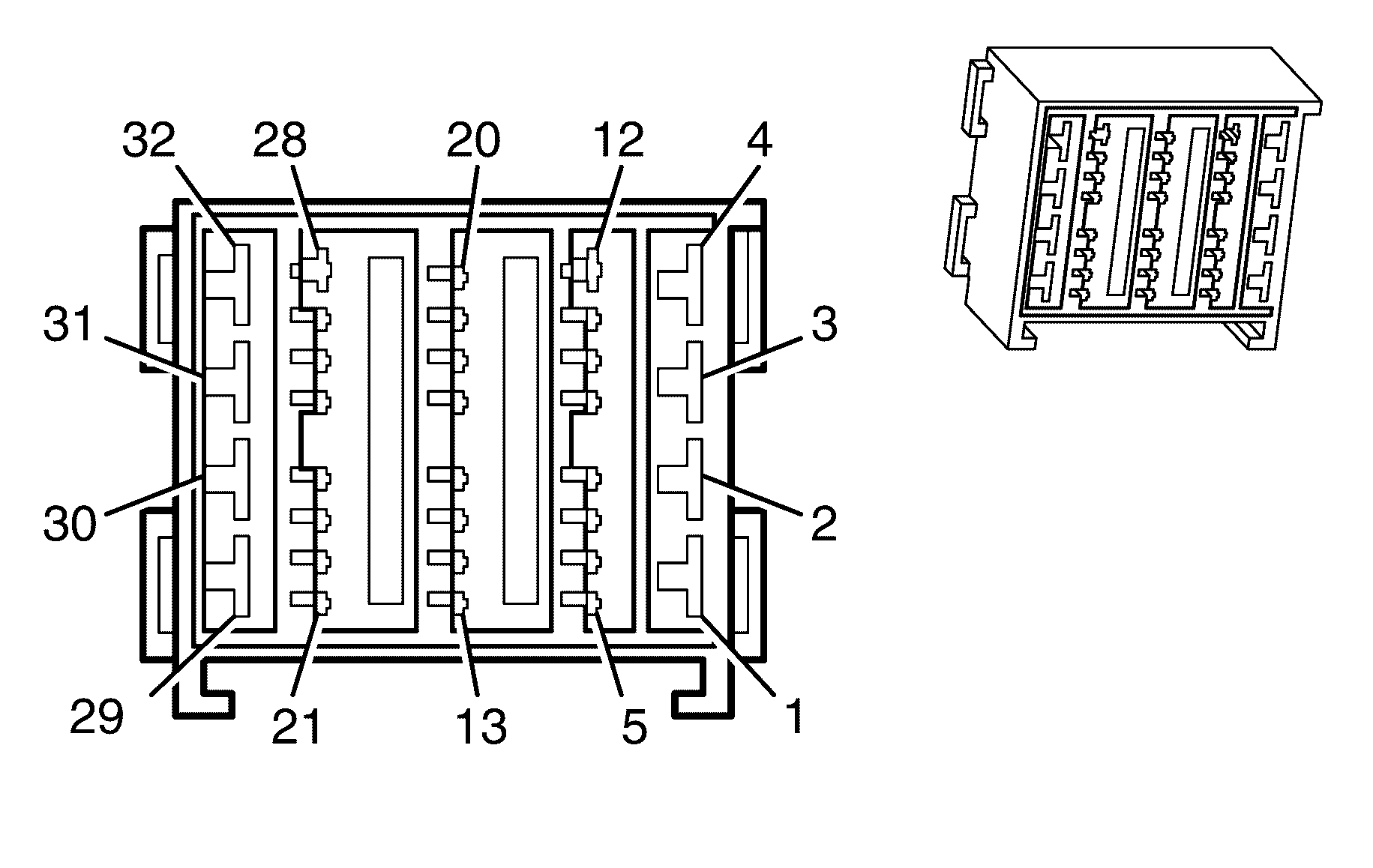
Fuse Block - Underhood X1


Object Number: 1989411  Size: CH

Connector Part Information

  • OEM: 7283-9457-3W
  • Service: See Catalog
  • Description: 54-Way F YESC Kaizen Series (BK)

Terminal Part Information

  • Pins: 3, 5, 7, 23, 34, 36, 49
  • Terminal/Tray: 7116-4101-08/9
  • Core/Insulation Crimp: E/C
  • Release Tool/Test Probe: 12094430/J-35616-2A (GY)
  • Pins: 1, 11, 25, 31, 32, 41, 45-47, 51
  • Terminal/Tray: 7116-4101-08/9
  • Core/Insulation Crimp: E/A
  • Release Tool/Test Probe: 12094430/J-35616-2A (GY)
  • Pins: 8, 9
  • Terminal/Tray: 7116-4122-02/10
  • Core/Insulation Crimp: A/B
  • Release Tool/Test Probe: 12094430/J-35616-42 (RD)
  • Pins: 20
  • Terminal/Tray: 7116-4112-02/9
  • Core/Insulation Crimp: C/D
  • Release Tool/Test Probe: 12094430/J-35616-35 (VT)

Fuse Block - Underhood X1

Pin

Wire Color

Circuit No.

Function

1

0.75 PK/BU

5294

Ignition 1 Voltage

2

--

--

Not Used

3

0.5 D-GN

335

Low Speed Cooling Fan Relay Control

4

--

--

Not Used

5

0.5 PK

439

Ignition 1 Voltage

6

--

--

Not Used

7

0.5 YE

447

Starter Relay Coil Control

8

3 RD/BK

142

Battery Positive Voltage

9

3 PU

6

Starter Solenoid Crank Voltage

10-19

--

--

Not Used

20

2 OG

3540

Battery Positive Voltage

21-22

--

--

Not Used

23

0.5 D-BU/BK

473

High Speed Cooling Fan Relay Control

24

--

--

Not Used

25

0.75 PK/BU

5293

Ignition 1 Voltage

26-30

--

--

Not Used

31

0.75 OG/YE

3640

Battery Positive Voltage

32

1.25 BK

350

Ground

33

--

--

Not Used

34

0.5 WH/BU

17

Stop Lamp Switch Signal

35

--

--

Not Used

36

0.5 D-BU

5985

Accessory Wakeup Serial Data

37-40

--

--

Not Used

41

0.75 PK/BU

5290

Ignition 1 Voltage

42

0.75 PK/BK

5705

Ignition 1 Voltage

43-44

--

--

Not Used

45

1.25 BK

350

Ground

46

1.25 BK

350

Ground

47

1.25 PK

5292

Ignition 1 Voltage

48

--

--

Not Used

49

0.5 BN

5069

Main Relay Control

50

--

--

Not Used

51

1.25 PK/BU

5291

Ignition 1 Voltage

52-54

--

--

Not Used

Fuse Block - Underhood X2


Object Number: 1989414  Size: CH

Connector Part Information

  • OEM: 7283-9464-3W
  • Service: See Catalog
  • Description: 84-Way F YESC Kaizen Series (BK)

Terminal Part Information

  • Pins: 5-7, 80
  • Terminal/Tray: 7116-4122-02/10
  • Core/Insulation Crimp: D/G
  • Release Tool/Test Probe: 12094430/J-35616-42 (RD)
  • Pin: 13
  • Terminal/Tray: 7116-4111-02/9
  • Core/Insulation Crimp: E/A
  • Release Tool/Test Probe: 12094430/J-35616-4A (PU)
  • Pin: 8
  • Terminal/Tray: 7116-4122-02/10
  • Core/Insulation Crimp: A/B
  • Release Tool/Test Probe: 12094430/J-35616-42 (RD)
  • Pins: 15, 17, 24-32, 40, 43, 45, 52, 54-56, 58, 68-70
  • Terminal/Tray: 7116-4100-08/9
  • Core/Insulation Crimp: E/C
  • Release Tool/Test Probe: 12094430/J-35616-2A (GY)
  • Pins: 18, 23, 41, 59, 60, 65
  • Terminal/Tray: 7116-4101-08/9
  • Core/Insulation Crimp: E/A
  • Release Tool/Test Probe: 12094430/J-35616-2A (GY)
  • Pins: 74, 83
  • Terminal/Tray: 7116-4112-02/9
  • Core/Insulation Crimp: C/D
  • Release Tool/Test Probe: 12094430/J-35616-35 (VT)

Fuse Block - Underhood X2

Pin

Wire Color

Circuit No.

Function

1-4

--

--

Not Used

5

5 RD/GN

442

Battery Positive Voltage

6

5 RD/BK

642

Battery Positive Voltage

7

5 RD/WH

842

Battery Positive Voltage

8

3 PU

293

Rear Defog Element Supply Voltage

9

5 RD/YE

 

Battery Positive Voltage

10-12

--

--

Not Used

13

0.75 L-BU

5986

Communication Enable Relay Supply Voltage

14

2 BN/WH

6724

Washer Pump Relay Supply Voltage

15

0.3 WH/YE

1080

Park Lamp Relay Control

16

--

--

Not Used

17

0.5 PK/BU

339

Ignition 1 Voltage

18

0.75 PU

34

Roof Off-Road Lamps Supply Voltage 2

19-22

--

--

Not Used

23

0.75 PU

709

Left Park Lamp Supply Voltage

24

0.3 WH/BU

193

Rear Defog Relay Control

25

0.3 PK/WH

1970

Headlamp Low Beam Relay Control

26

0.3 BN/RD

860

Front Windshield Wiper Switch High Signal

27

0.3 D-GN/WH

1317

Fog Lamps Relay Control

28

0.3 BN/YE

1969

Headlamp High Beam Relay Control

29

0.3 BN/BK

28

Horn Relay Control

30

--

--

Not Used

31

0.5 OG

2268

Windshield Washer Relay Control

32

0.3 PK

1439

Ignition 1 Voltage

33-37

--

--

Not Used

38

0.3 WH

2282

Headlamp Washer Relay Control

39

0.3 BN

185

Low Washer Fluid Indicator Signal

40

0.5 D-BU/WH

1315

Right Front Turn Signal Lamp Supply Voltage

41

0.75 L-GN

24

Backup Lamp Supply Voltage

42

--

--

Not Used

43

0.5 WH/BU

17

Stop Lamp Switch Signal

44

--

--

Not Used

45

0.3 D-BU

5985

Accessory Wakeup Serial Data

46-51

--

--

Not Used

52

0.5 L-BU/WH

1314

Left Front Turn Signal Lamp Supply Voltage

53

--

--

Not Used

54

0.3 PU/WH

5727

Communication Enable Relay Control

55

0.3 D-GN

646

Reverse Relay Control

56

0.3 GY

91

Windshield Wiper Switch Signal 2

57

--

--

Not Used

58

0.5 PK

1039

Ignition 1 Voltage

59

0.75 OG/GN

2240

Battery Positive Voltage

60

0.75 D-GN

1149

Content Theft Horn Control

61-64

--

--

Not Used

65

0.75 BN/WH

309

Right Park Lamp Supply Voltage

66-67

--

--

Not Used

68

0.5 PK/BU

1339

Ignition 1 Voltage

69

0.3 PU

5531

Hood Closed Switch Signal

70

0.3 PK/BK

109

Hood Ajar Switch Signal

71-73

--

--

Not Used

74

2 BN/WH

92

Windshield Wiper Motor High Speed

75-77

--

--

Not Used

78

2 RD/BU

2640

Battery Positive Voltage

79

--

--

Not Used

80

5 RD

242

Battery Positive Voltage

81-82

--

--

Not Used

83

2 D-GN

95

Windshield Wiper Motor Low Speed

84

--

--

Not Used

Fuse Block - Underhood X3


Object Number: 1989418  Size: CH

Connector Part Information

  • OEM: 7283-9458-30
  • Service: See Catalog
  • Description: 32-Way F YESC Kaizen Series (BK)

Terminal Part Information

  • Pins: 1, 4, 29, 32
  • Terminal/Tray: 7116-4122-02/10
  • Core/Insulation Crimp: A/B
  • Release Tool/Test Probe: 12094430/J-35616-42 (RD)
  • Pins: 6, 25
  • Terminal/Tray: 7116-4101-08/9
  • Core/Insulation Crimp: E/A
  • Release Tool/Test Probe: 12094430/J-35616-2A (GY)
  • Pins: 7-10, 14, 15, 18, 20-23
  • Terminal/Tray: 7116-4100-08/9
  • Core/Insulation Crimp: E/C
  • Release Tool/Test Probe: 12094430/J-35616-2A (GY)

Fuse Block - Underhood X3

Pin

Wire Color

Circuit No.

Function

1

3 WH

504

Cooling Fan Low Reference

2-3

--

--

Not Used

4

3 BK

250

Ground

5

--

--

Not Used

6

0.75 OG

228

Windshield Washer Pump Control

7

--

--

Not Used

8

0.5 D-GN/WH

711

Left Headlamp High Beam Supply Voltage

9

0.5 PK/BK

109

Hood Ajar Switch Signal

10

0.5 PU

709

Left Park Lamp Supply Voltage

11-13

--

--

Not Used

14

0.5 L-BU/WH

1314

Left Front Turn Signal Lamp Supply Voltage

15

0.5 D-BU/WH

1315

Right Front Turn Signal Lamp Supply Voltage

16

0.3 BN

 

Low Washer Fluid Indicator Signal

17

--

--

Not Used

18

0.5 BN/WH

309

Right Park Lamp Supply Voltage

19

--

--

Not Used

20

0.3 PU

5531

Hood Closed Switch Signal

21

0.5 BN/BK

312

Right Headlamp Low Beam Supply Voltage

22

0.5 YE

712

Left Headlamp Low Beam Supply Voltage

23

0.5 L-GN/BK

311

Right Headlamp High Beam Supply Voltage

24

--

--

Not Used

25

0.75 D-GN

1329

Horn Fuse Supply Voltage

26-28

--

--

Not Used

29

3 GY

532

Cooling Fan Motor Supply Voltage

30-31

--

--

Not Used

32

3 D-BU

409

Cooling Fan Motor Supply Voltage

Fuse Block - Underhood X4 (Battery Positive Cable)

Terminal Part Information

  • Harness: Battery Positive Cable
  • Terminal: 7003-2327-02
  • Core/Insulation Crimp: N/A
  • Description: Ring Terminal

Fuse Block - Underhood X4 (Battery Positive Cable)

Pin

Wire Color

Circuit No.

Function

+

19 RD

2

Battery Positive Voltage

Fuse Block - Instrument Panel


Object Number: 1963995  Size: LF

Fuse Block - Instrument Panel

No.

Device

Rating

Description

Circuit Breakers

B1

WINDOW BATTERY

20A

Not Used

B2

POWER WINDOWS

20A

Automatic Level Control (ALC) Compressor (G69), Electronic Suspension Control (ESC) Module (Z55)

B3

POWER SEATS

20A

Trailer Wiring, Auxiliary Body Control Module (XBCM) (Export)

B4

SPARE

Evaporative Emissions (EVAP) Canister Purge Solenoid Valve, Mass Air Flow (MAF)/Intake Air Temperature (IAT) Sensor, Valve Lifter Oil Manifold (VLOM) Assembly (DOD)

Fuses

1

SIR (SIR) Fuse

10A

SIR module (A65)

2

BOOT RELEASE Fuse

10A

Boot release relay (R5)

3

DOOR LOCKS Fuse

25A

Door lock relays R6, R2 & R3

4

INADVERT POWER/LED DIM Fuse

15A

BCM

5

COURTESY LIGHTS/RT FT TURN SIGNAL Fuse

15A

Courtesy light fuse (BCM)

6

TURN SIGNALS RIGHT-LAMPS Fuse

15A

RH turn signal (BCM)

7

INST/CNTR DISP/RFA/DLC Fuse

10A

Courtesy lamps, DLC, IPC, TPM, Sports gauges (if fitted)

8

TURN SIGNALS LEFT-LAMPS Fuse

15A

LH turn signal (BCM)

9

BCM LOGIC Fuse

10A

Body Control Module (BCM)

10

STOP LAMPS/PARK ASSIST Fuse

15A

Body Control Module (BCM)

11

CONSOLE LIGHTING Fuse

15A

Body Control Module (BCM)

12

IGN SW/THEFT Fuse

2A

Theft Deterrent Control Module (TDCM), IGN Switch (S149)

13

CIGAR LIGHTER Fuse

20A

12V/120W AUX power supply

14

FRONT APO Fuse

20A

AUX power outlet

15

EXTERIOR MIRRORS Fuse

2A

Exterior Mirrors Switch

16

PHONE/KEY LK/ISRVM/RAIN SENS Fuse

10A

Phone, key lock, electrochromatic mirror and rain sensor

17

SUNROOF Fuse

20A

Sunroof Control Module (A108)

18

SPARE Fuse

--

19

SPARE Fuse

--

20

SPARE Fuse

--

21

SPARE Fuse

--

22

SPARE Fuse

--

23

STEERING WHEEL ILLUM Fuse

2A

24

RAP CONTROL PWR WDO Fuse

10A

Window, Door lock & Window Switch (S169), Left & RIght Front Window Motor

R1

RAP-RETAIN ACCESSORY POWER Relay

--

A/C CMPRSR Fuse

R2

ALL DOORS LOCK Relay

--

AXH VLV Fuse

R3

PAS DOOR UNLCOK Relay

--

FOG LAMP Fuse

R4

SPARE Relay

--

R5

BOOT RELEASE Relay

--

FUEL PUMP Fuse

R6

DRIVERS DOOR UNLOCK Relay

--

LO HDLP - LT Fuse, LO HDLP - RT Fuse, DRL 2 Fuse

R7

SPARE Relay

--

R8

ACCESSORY POWER Relay

--

ECM/THROT CONT Fuse, ENG Fuse, INJ-A Fuse, INJ-B Fuse, O2-A SNSR Fuse, O2-B SNSR Fuse, FAN CNRTL PCB Relay, FAN HI PCB Relay, FAN LO PCB Relay

R9

BLOWER (LHD ONLY) Relay

--

REAR DEFOG Fuse

R10

SPARE Relay

--

R11

SPARE Relay

--

R12

FUEL PUMP Relay

--

Cooling Fan - Right

Fuse Block - I/P


Object Number: 1989407  Size: CH

Connector Part Information

  • OEM: 7154-5842-30
  • Service: See Catalog
  • Description: 117-Way (BK)

Terminal Part Information

  • Terminal/Tray: See Terminal Repair Kit
  • Core/Insulation Crimp: See Terminal Repair Kit
  • Release Tool/Test Probe: See Terminal Repair Kit

Fuse Block - I/P

Pin

Wire Color

Circuit No.

Function

B1-A

5 RD

--

Battery Positive Voltage

B1-B

2 OG/BU

--

Battery Positive Voltage

B2-A

5 D-GN

801

RAP Supply Voltage

B2-B

2 D-GN

1001

RAP Supply Voltage

B3-A

5 RD/BK

242

Battery Positive Voltage

B3-B

2 OG

1140

Battery Positive Voltage

F1-A

0.5 OG/YE

1340

Battery Positive Voltage

F1-B

--

242

Battery Positive Voltage

F2-A

5 RD/WH

242

Battery Positive Voltage

F2-B

0.5 OG

840

Battery Positive Voltage

F3-A

--

242

Battery Positive Voltage

F3-B

1.25 OG/RD

3240

Battery Positive Voltage

F4-A

--

242

Battery Positive Voltage

F4-B

0.85 OG/YE

1640

Battery Positive Voltage

F5-A

--

642

Battery Positive Voltage

F5-B

1.25 OG

240

Battery Positive Voltage

F6-A

5 RD

642

Battery Positive Voltage

F6-B

0.85 OG/GN

440

Battery Positive Voltage

B4-A

--

--

Not Used

B4-B

--

--

Not Used

F7-A

--

642

Battery Positive Voltage

F7-B

0.5 OG/WH

--

Battery Positive Voltage

F8-A

--

642

Battery Positive Voltage

F8-B

0.85 OG/RD

340

Battery Positive Voltage

F9-A

--

642

Battery Positive Voltage

F9-B

0.85 OG/RD

2740

Battery Positive Voltage

F10-A

5 RD/YE

642

Battery Positive Voltage

F10-B

0.85 OG/PU

2140

Battery Positive Voltage

F11-A

--

642

Battery Positive Voltage

F11-B

0.85 OG/BU

1240

Battery Positive Voltage

F12-A

--

642

Battery Positive Voltage

F12-B

0.3 OG/BK

1040

Battery Positive Voltage

F13-A

--

--

Not Used

F13-B

1.25 BN/YE

9101

Accessory Voltage

F14-A

5 YE

9801

Accessory Voltage

F14-B

0.5 BN/WH

9301

Accessory Voltage

F15-A

--

643

Not Used

F15-B

0.5 BN/BU

343

Accessory Voltage

F16-A

--

643

Accessory Voltage

F16-B

0.5 BN

443

Accessory Voltage

F17-A

5 RD

242

Battery Positive Voltage

F17-B

1.25 OG/BU

3040

Battery Positive Voltage

F23-A

0.3 YE

6817

Interior Lights Dimming Switch

F23-B

0.3 PU/WH

7005

I/P Dimming Control

F24-A

5 D-GN

801

RAP Fuse Supply Voltage

F24-B

0.5 D-GN

1301

RAP Fuse Supply Voltage

R1-30

5 RD/WH

242

Battery Positive Voltage

R1-85

0.3 BN/YE

707

RAP Relay Control

R1-86

1.25 BK

1450

Ground

R1-87

5 D-GN

801

RAP Fuse Supply Voltage

R2-30

1.25 D-GN/WH

295

Door Lock Actuator Lock Control

R2-85

1.25 BK

1450

Ground

R2-86

0.3 L-BU

195

Door Lock Relay Control

R2-87

1.25 OG/RD

3240

Battery Positive Voltage

R2-87A

1.25 BK

1450

Ground

R3-30

1.25 BN/RD

294

Door Lock Actuator Unlock Control

R3-85

0.3 WH

194

Door Unlock Control

R3-86

1.25 OG/RD

3240

Battery Positive Voltage

R3-87

1.25 OG/RD

3240

Battery Positive Voltage

R3-87A

1.25 BK

1450

Ground

R5-30

0.5 OG

840

Battery Positive Voltage

R5-85

0.5 OG

840

Battery Positive Voltage

R5-86

0.3 BN

253

Trunk Release Relay Control

R5-87

0.85 BN/WH

56

Rear Compartment Lid Release Actuator

R6-30

1.25 BN/RD

9351

Driver Door Lock Actuator Unlock Control

R6-85

0.3 L-BU

5921

Door Unlock Supply Voltage

R6-86

1.25 OG/RD

3240

Battery Positive Voltage

R6-87

1.25 OG/RD

3240

Battery Positive Voltage

R6-87A

1.25 BK

1450

Ground

R8-30

5 RD/BK

642

Battery Positive Voltage

R8-85

0.3 YE

43

Accessory Voltage

R8-86

1.25 BK

1450

Ground

R8-87

5 YE

643

Accessory Voltage

R12-30

3 GY

120

Fuel Pump Supply Voltage

R12-85

0.3 D-GN/WH

465

Fuel Pump Relay Control [- Primary]

R12-86

1.25 BK

1450

Fuel Pump Control

R12-87

3 OG/GN

2840

Battery Positive Voltage

Fuse Block - Battery Cable X1

Terminal Part Information

  • Terminal: 7003-1669-02
  • Core/Insulation Crimp: N/A
  • Description: Battery Terminal

Fuse Block - Battery Cable X1

Pin

Wire Color

Circuit No.

Function

+

19 RD

1

Battery Positive Voltage

Fuse Block - Battery Cable X2

Terminal Part Information

  • Terminal: 7009-1846
  • Core/Insulation Crimp: N/A
  • Description: Battery Terminal

Fuse Block - Battery Cable X2

Pin

Wire Color

Circuit No.

Function

+

5 RD/BK

1242

Battery Positive Voltage

Fuse Block - Battery Cable X3

Terminal Part Information

  • Terminal: 7009-1813-02
  • Core/Insulation Crimp: N/A
  • Description: Battery Terminal

Fuse Block - Battery Cable X3

Pin

Wire Color

Circuit No.

Function

+

8 RD/BK

1042

Battery Positive Voltage

Junction Block - Battery Cable - Engine X1

Terminal Part Information

  • Harness: Battery Positive Cable
  • Terminal: 7003-2639-02
  • Core/Insulation Crimp: N/A
  • Description: Ring Terminal

Junction Block - Battery Cable - Engine X1

Pin

Wire Color

Circuit No.

Function

+

50 RD

1

Battery Positive Voltage

Junction Block - Battery Cable - Engine X3

Terminal Part Information

  • Harness: Battery Positive Cable
  • Terminal: 7003-2071-02
  • Core/Insulation Crimp: N/A
  • Description: Ring Terminal

Junction Block - Battery Cable - Engine X3

Pin

Wire Color

Circuit No.

Function

+

19 RD

2

Battery Positive Voltage

Junction Block - Battery Cable - I/P

Terminal Part Information

  • Harness: Battery Positive Cable
  • Terminal: 7003-1200-02
  • Core/Insulation Crimp: N/A
  • Description: Ring Terminal

Junction Block - Battery Cable - I/P

Pin

Wire Color

Circuit No.

Function

+

50 RD

1

Battery Positive Voltage

Fuse Block - Rear


Object Number: 1963996  Size: LF

Fuse Block - Rear, Device Usage

No.

Device

Rating

Description

1

REAR SEAT ENTERTAINMENT Fuse

10A

Video Splitter Box (VSB)

2

AMPLIFIER Fuse

30A

Amplifier (N6)

3

NAVIGATION/TELEMATICS/PHONE Fuse

10A

Navigation module, Telematics module and Bluetooth module

4

RADIO & INFOTAINMENT Fuse

15A

Audio unit (A133)

5

SPARE Fuse

--

6

REAR APO Fuse

20A

12V/120W AUX power outlet

7

TRAILER Fuse

30A

8

SPARE Fuse

--

9

SPARE Fuse

--

10

ECM BATT Fuse

15A

ECM power supply

11

RVC SENSE Fuse

7.5A

Body Control Module (BCM)

12

FUEL PUMP Fuse

20A

Fuel pump relay (R12)

--

SPARE Relay

--

--

SPARE Relay

--

Electrical Center Identification Views VXR8

Connector 1: Fuse Block - Underhood
Connector 2: Fuse Block - Underhood X1
Connector 3: Fuse Block - Underhood X2
Connector 4: Fuse Block - Underhood X3
Connector 5: Fuse Block - Underhood X4 (Battery Positive Cable)
Connector 6: Fuse Block - Instrument Panel
Connector 7: Fuse Block - I/P
Connector 8: Fuse Block - Battery Cable X1
Connector 9: Fuse Block - Battery Cable X2
Connector 10: Fuse Block - Battery Cable X3
Connector 11: Junction Block - Battery Cable - Engine X1
Connector 12: Junction Block - Battery Cable - Engine X3
Connector 13: Junction Block - Battery Cable - I/P
Connector 14: Fuse Block - Rear

Fuse Block - Underhood


Object Number: 1963994  Size: LF

Fuse Block - Underhood, Device Usage

No.

Device

Rating

Description

Primary Fuses

FU1

BATT MAIN 4 Fuse

50A

Supply to Instrument Panel Fuse Box and BCM.

FU2

REAR DEFOG Fuse

40A

Rear Defog Relay R8

FU3

ABS MOTOR Fuse

40A

Retained Accessory Power (RAP) Relay, SIR, Door Lock Fuses and ABS Module.

FU4

BATT MAIN 3 Fuse

50A

Evaporative Emissions (EVAP) Canister Purge Solenoid Valve, Mass Air Flow (MAF)/Intake Air Temperature (IAT) Sensor, Valve Lifter Oil Manifold (VLOM) Assembly (DOD)

FU5

BATT MAIN 1 Fuse

50A

Supply voltage to instrument panel fuse box

FU6

SPARE Fuse

Trailer Wiring, Auxiliary Body Control Module (XBCM) (Export)

FU7

BATT MAIN 2 Fuse

50A

Accessory Power Feed Relay (R8) and Power Seat Circuit Breaker

FU8

STARTER Fuse

40A

Starter Relay R12

FU9

HVAC BLOWER MOTOR Fuse

40A

HVAC Module

FU10

FAN 1 ENGINE COOLING (RIGHT) Fuse

30A

Engine Cooling Fan Relay R17

FU11

SPARE Fuse

FU12

FAN 2 ENGINE COOLING (LEFT) Fuse

30A

Engine Cooling Fan R20

Secondary Fuses

F1

COMM ENABLE Fuse

10A

F2

A/C CONTROL-HVAC CONTROL MODULE Fuse

10A

HVAC

F3

BACK UP LAMP Fuse

15A

Backup Lamp - Left, Backup Lamp - Right

F4

FOG LAMPS (FRONT) Fuse

15A

Foglamp Relay R5

F5

ABS VALVES Fuse

25A

ABS module

F6

SPARE Fuse

F7

HEADLAMP WASHER Fuse

30A

Headlamp Wash Relay R7

F8

HORN MAIN Fuse

15A

Horn

F9

TCM Fuse

15A

TCM

F10

LEFT LOW BEAM (BASE/HID) Fuse

10/20A

Left Hand Low Beam

F11

SPARE Fuse

F12

RIGHT LOW BEAM (BASE/HID) Fuse

10/20A

Right Hand Low Beam

F13

SPARE Fuse

F14

SPARE Fuse

F15

FRONT WIPER Fuse

30A

Wiper Relays

F16

SPARE Fuse

F17

HORN THEFT Fuse

10A

Alarm System

F18

SPARE Fuse

F19

RIGHT HIGH BEAM Fuse

10A

Right Hand High Beam

F20

SPARE Fuse

F21

FRONT WASHER (WSW) Fuse

15A

Windscreen Washers

F22

SPARE Fuse

F23

LEFT HI BEAM Fuse

10A

Left Hand High Beam

F24

SPARE Fuse

F25

REVERSE LOCKOUT Fuse

15A

Reverse Lockout Solenoid (Y144)

F26

REAL TIME DAMPING Fuse

25A

Active Suspension, Electronic Suspension Control (ESC) Module

F27

SPARE Fuse

F28

ECM 1 Fuse

15A

Engine Control Module (ECM A43)

F29

EVEN COILS/INJECTORS Fuse

20A

Ignition Coils and Fuel Injectors

F30

SPARE Fuse

F31

SPARE Fuse

F32

EMISSION DEV 2 Fuse

15A

Oxygen Sensors

F33

EMISSION DEV 1 Fuse

15A

Heated Oxygen Sensors, EVAP, IMRC, CMP Solenoids

F34

SPARE Fuse

F35

ODD COILS/INJECTORS Fuse

20A

Ignition Coils and Fuel Injectors

F36

SPARE Fuse

F37

HVAC--IGN (LHD ONLY) Fuse

10A

F38

PHONE CRUISE Fuse

10A

CPP Switch, Telematics Module, Bluetooth connector & Headlamp/Dimmer Switch

F39

IGNITION ENGINE Fuse

10A

MAF, IAT, ECM (A43) &TCM

F40

AIRBAGS Fuse

10A

SIR Module

F41

SPARE Fuse

--

F42

RIGHT PARK LAMP Fuse

10A

Right Park Lamps

F43

LEFT PARK LAMP Fuse

10A

Left Park Lamps

Relays

R1

SPARE Relay

--

R2

COMMS ENABLE Relay

--

AXH VLV Fuse

R3

SPARE Relay

--

R4

BACK UP LAMPS Relay

--

FOG LAMP Fuse

R5

FOG LAMP-FRONT Relay

--

FUEL PUMP Fuse

R6

HEADLAMP-LO BEAM Relay/(HID)

--

LO HDLP - LT Fuse, LO HDLP - RT Fuse, DRL 2 Fuse

R7

HEADLAMP WASHER Relay

--

LT PRK Fuse, RT PRK Fuse, TRLR PRK Fuse

R8

RR-DEFOG Relay

--

ECM/THROT CONT Fuse, ENG Fuse, INJ-A Fuse, INJ-B Fuse, O2-A SNSR Fuse, O2-B SNSR Fuse, FAN CNRTL PCB Relay, FAN HI PCB Relay, FAN LO PCB Relay

R9

FRONT WIPER HIGH Relay

--

REAR DEFOG Fuse

R10

FRONT WIPER LOW Relay

--

AIRBAG Fuse, AUX HVAC-IGN Fuse, IGN Fuse, ECM-IGN Fuse, MISC IGN Fuse, SEO/ALC Fuse, TRANS IGN 1 Fuse

R11

HEADLAMP-HI BEAM Relay/(HID)

--

STRTR Fuse

R12

CRANK Relay

--

VEH BCK/UP Fuse, TRLR BCK/UP Fuse

R13

POWER TRAIN Relay

--

DRL Fuse

R14

IGNITION MAIN Relay

--

Adjustable Pedals Assembly (JF4 Except AN3)

R15

WSW PUMP FRT Relay

--

Cooling Fan - Right

R16

HORN Relay

--

Cooling Fan - Right, FAN CNTRL Relay

R17

FAN 1 Relay (ENGINE COOLING)

--

Cooling Fan - Left

R18

PARK LAMPS Relay

--

FRT WASH Fuse

R19

FAN 2 Relay (ENGINE COOLING)

--

HI HEADLAMP - LT Fuse, HI HEADLAMP - RT Fuse

R20

FAN 3 Relay (ENGINE COOLING)

--

HORN Fuse

Fuse Block - Underhood X1


Object Number: 1989411  Size: CH

Connector Part Information

  • OEM: 7283-9457-3W
  • Service: See Catalog
  • Description: 54-Way F YESC Kaizen Series (BK)

Terminal Part Information

  • Pins: 3, 5, 7, 23, 34, 36, 49
  • Terminal/Tray: 7116-4101-08/9
  • Core/Insulation Crimp: E/C
  • Release Tool/Test Probe: 12094430/J-35616-2A (GY)
  • Pins: 1, 11, 25, 31, 32, 41, 45-47, 51
  • Terminal/Tray: 7116-4101-08/9
  • Core/Insulation Crimp: E/A
  • Release Tool/Test Probe: 12094430/J-35616-2A (GY)
  • Pins: 8, 9
  • Terminal/Tray: 7116-4122-02/10
  • Core/Insulation Crimp: A/B
  • Release Tool/Test Probe: 12094430/J-35616-42 (RD)
  • Pins: 20
  • Terminal/Tray: 7116-4112-02/9
  • Core/Insulation Crimp: C/D
  • Release Tool/Test Probe: 12094430/J-35616-35 (VT)

Fuse Block - Underhood X1

Pin

Wire Color

Circuit No.

Function

1

0.75 PK/BU

5294

Ignition 1 Voltage

2

--

--

Not Used

3

0.5 D-GN

335

Low Speed Cooling Fan Relay Control

4

--

--

Not Used

5

0.5 PK

439

Ignition 1 Voltage

6

--

--

Not Used

7

0.5 YE

447

Starter Relay Coil Control

8

3 RD/BK

142

Battery Positive Voltage

9

3 PU

6

Starter Solenoid Crank Voltage

10-19

--

--

Not Used

20

2 OG

3540

Battery Positive Voltage

21-22

--

--

Not Used

23

0.5 D-BU/BK

473

High Speed Cooling Fan Relay Control

24

--

--

Not Used

25

0.75 PK/BU

5293

Ignition 1 Voltage

26-30

--

--

Not Used

31

0.75 OG/YE

3640

Battery Positive Voltage

32

1.25 BK

350

Ground

33

--

--

Not Used

34

0.5 WH/BU

17

Stop Lamp Switch Signal

35

--

--

Not Used

36

0.5 D-BU

5985

Accessory Wakeup Serial Data

37-40

--

--

Not Used

41

0.75 PK/BU

5290

Ignition 1 Voltage

42

0.75 PK/BK

5705

Ignition 1 Voltage

43-44

--

--

Not Used

45

1.25 BK

350

Ground

46

1.25 BK

350

Ground

47

1.25 PK

5292

Ignition 1 Voltage

48

--

--

Not Used

49

0.5 BN

5069

Main Relay Control

50

--

--

Not Used

51

1.25 PK/BU

5291

Ignition 1 Voltage

52-54

--

--

Not Used

Fuse Block - Underhood X2


Object Number: 1989414  Size: CH

Connector Part Information

  • OEM: 7283-9464-3W
  • Service: See Catalog
  • Description: 84-Way F YESC Kaizen Series (BK)

Terminal Part Information

  • Pins: 5-7, 80
  • Terminal/Tray: 7116-4122-02/10
  • Core/Insulation Crimp: D/G
  • Release Tool/Test Probe: 12094430/J-35616-42 (RD)
  • Pin: 13
  • Terminal/Tray: 7116-4111-02/9
  • Core/Insulation Crimp: E/A
  • Release Tool/Test Probe: 12094430/J-35616-4A (PU)
  • Pin: 8
  • Terminal/Tray: 7116-4122-02/10
  • Core/Insulation Crimp: A/B
  • Release Tool/Test Probe: 12094430/J-35616-42 (RD)
  • Pins: 15, 17, 24-32, 40, 43, 45, 52, 54-56, 58, 68-70
  • Terminal/Tray: 7116-4100-08/9
  • Core/Insulation Crimp: E/C
  • Release Tool/Test Probe: 12094430/J-35616-2A (GY)
  • Pins: 18, 23, 41, 59, 60, 65
  • Terminal/Tray: 7116-4101-08/9
  • Core/Insulation Crimp: E/A
  • Release Tool/Test Probe: 12094430/J-35616-2A (GY)
  • Pins: 74, 83
  • Terminal/Tray: 7116-4112-02/9
  • Core/Insulation Crimp: C/D
  • Release Tool/Test Probe: 12094430/J-35616-35 (VT)

Fuse Block - Underhood X2

Pin

Wire Color

Circuit No.

Function

1-4

--

--

Not Used

5

5 RD/GN

442

Battery Positive Voltage

6

5 RD/BK

642

Battery Positive Voltage

7

5 RD/WH

842

Battery Positive Voltage

8

3 PU

293

Rear Defog Element Supply Voltage

9

5 RD/YE

 

Battery Positive Voltage

10-12

--

--

Not Used

13

0.75 L-BU

5986

Communication Enable Relay Supply Voltage

14

2 BN/WH

6724

Washer Pump Relay Supply Voltage

15

0.3 WH/YE

1080

Park Lamp Relay Control

16

--

--

Not Used

17

0.5 PK/BU

339

Ignition 1 Voltage

18

0.75 PU

34

Roof Off-Road Lamps Supply Voltage 2

19-22

--

--

Not Used

23

0.75 PU

709

Left Park Lamp Supply Voltage

24

0.3 WH/BU

193

Rear Defog Relay Control

25

0.3 PK/WH

1970

Headlamp Low Beam Relay Control

26

0.3 BN/RD

860

Front Windshield Wiper Switch High Signal

27

0.3 D-GN/WH

1317

Fog Lamps Relay Control

28

0.3 BN/YE

1969

Headlamp High Beam Relay Control

29

0.3 BN/BK

28

Horn Relay Control

30

--

--

Not Used

31

0.5 OG

2268

Windshield Washer Relay Control

32

0.3 PK

1439

Ignition 1 Voltage

33-37

--

--

Not Used

38

0.3 WH

2282

Headlamp Washer Relay Control

39

0.3 BN

185

Low Washer Fluid Indicator Signal

40

0.5 D-BU/WH

1315

Right Front Turn Signal Lamp Supply Voltage

41

0.75 L-GN

24

Backup Lamp Supply Voltage

42

--

--

Not Used

43

0.5 WH/BU

17

Stop Lamp Switch Signal

44

--

--

Not Used

45

0.3 D-BU

5985

Accessory Wakeup Serial Data

46-51

--

--

Not Used

52

0.5 L-BU/WH

1314

Left Front Turn Signal Lamp Supply Voltage

53

--

--

Not Used

54

0.3 PU/WH

5727

Communication Enable Relay Control

55

0.3 D-GN

646

Reverse Relay Control

56

0.3 GY

91

Windshield Wiper Switch Signal 2

57

--

--

Not Used

58

0.5 PK

1039

Ignition 1 Voltage

59

0.75 OG/GN

2240

Battery Positive Voltage

60

0.75 D-GN

1149

Content Theft Horn Control

61-64

--

--

Not Used

65

0.75 BN/WH

309

Right Park Lamp Supply Voltage

66-67

--

--

Not Used

68

0.5 PK/BU

1339

Ignition 1 Voltage

69

0.3 PU

5531

Hood Closed Switch Signal

70

0.3 PK/BK

109

Hood Ajar Switch Signal

71-73

--

--

Not Used

74

2 BN/WH

92

Windshield Wiper Motor High Speed

75-77

--

--

Not Used

78

2 RD/BU

2640

Battery Positive Voltage

79

--

--

Not Used

80

5 RD

242

Battery Positive Voltage

81-82

--

--

Not Used

83

2 D-GN

95

Windshield Wiper Motor Low Speed

84

--

--

Not Used

Fuse Block - Underhood X3


Object Number: 1989418  Size: CH

Connector Part Information

  • OEM: 7283-9458-30
  • Service: See Catalog
  • Description: 32-Way F YESC Kaizen Series (BK)

Terminal Part Information

  • Pins: 1, 4, 29, 32
  • Terminal/Tray: 7116-4122-02/10
  • Core/Insulation Crimp: A/B
  • Release Tool/Test Probe: 12094430/J-35616-42 (RD)
  • Pins: 6, 25
  • Terminal/Tray: 7116-4101-08/9
  • Core/Insulation Crimp: E/A
  • Release Tool/Test Probe: 12094430/J-35616-2A (GY)
  • Pins: 7-10, 14, 15, 18, 20-23
  • Terminal/Tray: 7116-4100-08/9
  • Core/Insulation Crimp: E/C
  • Release Tool/Test Probe: 12094430/J-35616-2A (GY)

Fuse Block - Underhood X3

Pin

Wire Color

Circuit No.

Function

1

3 WH

504

Cooling Fan Low Reference

2-3

--

--

Not Used

4

3 BK

250

Ground

5

--

--

Not Used

6

0.75 OG

228

Windshield Washer Pump Control

7

--

--

Not Used

8

0.5 D-GN/WH

711

Left Headlamp High Beam Supply Voltage

9

0.5 PK/BK

109

Hood Ajar Switch Signal

10

0.5 PU

709

Left Park Lamp Supply Voltage

11-13

--

--

Not Used

14

0.5 L-BU/WH

1314

Left Front Turn Signal Lamp Supply Voltage

15

0.5 D-BU/WH

1315

Right Front Turn Signal Lamp Supply Voltage

16

0.3 BN

 

Low Washer Fluid Indicator Signal

17

--

--

Not Used

18

0.5 BN/WH

309

Right Park Lamp Supply Voltage

19

--

--

Not Used

20

0.3 PU

5531

Hood Closed Switch Signal

21

0.5 BN/BK

312

Right Headlamp Low Beam Supply Voltage

22

0.5 YE

712

Left Headlamp Low Beam Supply Voltage

23

0.5 L-GN/BK

311

Right Headlamp High Beam Supply Voltage

24

--

--

Not Used

25

0.75 D-GN

1329

Horn Fuse Supply Voltage

26-28

--

--

Not Used

29

3 GY

532

Cooling Fan Motor Supply Voltage

30-31

--

--

Not Used

32

3 D-BU

409

Cooling Fan Motor Supply Voltage

Fuse Block - Underhood X4 (Battery Positive Cable)

Terminal Part Information

  • Harness: Battery Positive Cable
  • Terminal: 7003-2327-02
  • Core/Insulation Crimp: N/A
  • Description: Ring Terminal

Fuse Block - Underhood X4 (Battery Positive Cable)

Pin

Wire Color

Circuit No.

Function

+

19 RD

2

Battery Positive Voltage

Fuse Block - Instrument Panel


Object Number: 1963995  Size: LF

Fuse Block - Instrument Panel

No.

Device

Rating

Description

Circuit Breakers

1

WINDOW BATTERY

20A

Not Used

2

POWER WINDOWS

20A

Automatic Level Control (ALC) Compressor (G69), Electronic Suspension Control (ESC) Module (Z55)

3

POWER SEATS

20A

Trailer Wiring, Auxiliary Body Control Module (XBCM) (Export)

4

SPARE

Evaporative Emissions (EVAP) Canister Purge Solenoid Valve, Mass Air Flow (MAF)/Intake Air Temperature (IAT) Sensor, Valve Lifter Oil Manifold (VLOM) Assembly (DOD)

Fuses

1

SIR (SIR) Fuse

10A

SIR Module (A65)

2

BOOT RELEASE Fuse

10A

Boot Release Relay (R5), Rear Fog Lamp Relay (R11)

3

DOOR LOCKS Fuse

25A

Door Lock Relays R6, R2 & R3

4

INADVERT POWER/LED DIM Fuse

15A

BCM

5

COURTESY LIGHTS/RT FT TURN SIGNAL Fuse

15A

Courtesy Light Fuse (BCM)

6

TURN SIGNALS RIGHT-LAMPS Fuse

15A

RH Turn Signal (BCM)

7

INST/CNTR DISP/RFA/DLC Fuse

10A

Courtesy Lamps, DLC, IPC, TPM, Sports Gauges (if fitted)

8

TURN SIGNALS LEFT-LAMPS Fuse

15A

LH Turn Signal (BCM)

9

BCM LOGIC Fuse

10A

Body Control Module (BCM)

10

STOP LAMPS/PARK ASSIST Fuse

15A

Body Control Module (BCM)

11

CONSOLE LIGHTING Fuse

15A

Body Control Module (BCM)

12

IGN SW/THEFT Fuse

2A

Theft Deterrent Control Module (TDCM), IGN Switch (S149)

13

CIGAR LIGHTER Fuse

20A

12V/120W AUX Power Supply

14

FRONT APO Fuse

20A

AUX Power Outlet

15

EXTERIOR MIRRORS Fuse

2A

Exterior Mirrors Switch

16

PHONE/KEY LK/ISRVM/RAIN SENS Fuse

10A

Phone, Key Lock, Electrochromatic Mirror and Rain Sensor

17

SUNROOF Fuse

20A

Sunroof Control Module (A108)

18

SPARE Fuse

--

19

SPARE Fuse

--

20

SPARE Fuse

--

21

SPARE Fuse

--

22

SPARE Fuse

--

23

STEERING WHEEL ILLUM Fuse

2A

24

RAP CONTROL PWR WDO Fuse

10A

Window, Door lock & Window Switch (S169), Left & RIght Front Window Motor

Relays

R1

RAP-RETAIN ACCESSORY POWER Relay

--

A/C CMPRSR Fuse

R2

ALL DOORS LOCK Relay

--

AXH VLV Fuse

R3

PAS DOOR UNLCOK Relay

--

FOG LAMP Fuse

R4

SPARE Relay

--

R5

BOOT RELEASE Relay

--

FUEL PUMP Fuse

R6

DRIVERS DOOR UNLOCK Relay

--

LO HDLP - LT Fuse, LO HDLP - RT Fuse, DRL 2 Fuse

R7

SPARE Relay

--

R8

ACCESSORY POWER Relay

--

ECM/THROT CONT Fuse, ENG Fuse, INJ-A Fuse, INJ-B Fuse, O2-A SNSR Fuse, O2-B SNSR Fuse, FAN CNRTL PCB Relay, FAN HI PCB Relay, FAN LO PCB Relay

R9

BLOWER (LHD ONLY) Relay

--

REAR DEFOG Fuse

R10

SPARE Relay

--

R11

REAR FOG LAMP Relay

--

Rear Fog Lamp

R12

FUEL PUMP Relay

--

Cooling Fan - Right

Fuse Block - I/P


Object Number: 1989407  Size: CH

Connector Part Information

  • OEM: 7154-5842-30
  • Service: See Catalog
  • Description: 117-Way (BK)

Terminal Part Information

  • Terminal/Tray: See Terminal Repair Kit
  • Core/Insulation Crimp: See Terminal Repair Kit
  • Release Tool/Test Probe: See Terminal Repair Kit

Fuse Block - I/P

Pin

Wire Color

Circuit No.

Function

B1-A

5 RD

--

Battery Positive Voltage

B1-B

2 OG/BU

--

Battery Positive Voltage

B2-A

5 D-GN

801

RAP Supply Voltage

B2-B

2 D-GN

1001

RAP Supply Voltage

B3-A

5 RD/BK

242

Battery Positive Voltage

B3-B

2 OG

1140

Battery Positive Voltage

F1-A

0.5 OG/YE

1340

Battery Positive Voltage

F1-B

--

242

Battery Positive Voltage

F2-A

5 RD/WH

242

Battery Positive Voltage

F2-B

0.5 OG

840

Battery Positive Voltage

F3-A

--

242

Battery Positive Voltage

F3-B

1.25 OG/RD

3240

Battery Positive Voltage

F4-A

--

242

Battery Positive Voltage

F4-B

0.85 OG/YE

1640

Battery Positive Voltage

F5-A

--

642

Battery Positive Voltage

F5-B

1.25 OG

240

Battery Positive Voltage

F6-A

5 RD

642

Battery Positive Voltage

F6-B

0.85 OG/GN

440

Battery Positive Voltage

B4-A

--

--

Not Used

B4-B

--

--

Not Used

F7-A

--

642

Battery Positive Voltage

F7-B

0.5 OG/WH

--

Battery Positive Voltage

F8-A

--

642

Battery Positive Voltage

F8-B

0.85 OG/RD

340

Battery Positive Voltage

F9-A

--

642

Battery Positive Voltage

F9-B

0.85 OG/RD

2740

Battery Positive Voltage

F10-A

5 RD/YE

642

Battery Positive Voltage

F10-B

0.85 OG/PU

2140

Battery Positive Voltage

F11-A

--

642

Battery Positive Voltage

F11-B

0.85 OG/BU

1240

Battery Positive Voltage

F12-A

--

642

Battery Positive Voltage

F12-B

0.3 OG/BK

1040

Battery Positive Voltage

F13-A

--

--

Not Used

F13-B

1.25 BN/YE

9101

Accessory Voltage

F14-A

5 YE

9801

Accessory Voltage

F14-B

0.5 BN/WH

9301

Accessory Voltage

F15-A

--

643

Not Used

F15-B

0.5 BN/BU

343

Accessory Voltage

F16-A

--

643

Accessory Voltage

F16-B

0.5 BN

443

Accessory Voltage

F17-A

5 RD

242

Battery Positive Voltage

F17-B

1.25 OG/BU

3040

Battery Positive Voltage

F23-A

0.3 YE

6817

Interior Lights Dimming Switch

F23-B

0.3 PU/WH

7005

I/P Dimming Control

F24-A

5 D-GN

801

RAP Fuse Supply Voltage

F24-B

0.5 D-GN

1301

RAP Fuse Supply Voltage

R1-30

5 RD/WH

242

Battery Positive Voltage

R1-85

0.3 BN/YE

707

RAP Relay Control

R1-86

1.25 BK

1450

Ground

R1-87

5 D-GN

801

RAP Fuse Supply Voltage

R2-30

1.25 D-GN/WH

295

Door Lock Actuator Lock Control

R2-85

1.25 BK

1450

Ground

R2-86

0.3 L-BU

195

Door Lock Relay Control

R2-87

1.25 OG/RD

3240

Battery Positive Voltage

R2-87A

1.25 BK

1450

Ground

R3-30

1.25 BN/RD

294

Door Lock Actuator Unlock Control

R3-85

0.3 WH

194

Door Unlock Control

R3-86

1.25 OG/RD

3240

Battery Positive Voltage

R3-87

1.25 OG/RD

3240

Battery Positive Voltage

R3-87A

1.25 BK

1450

Ground

R5-30

0.5 OG

840

Battery Positive Voltage

R5-85

0.5 OG

840

Battery Positive Voltage

R5-86

0.3 BN

253

Trunk Release Relay Control

R5-87

0.85 BN/WH

56

Rear Compartment Lid Release Actuator

R6-30

1.25 BN/RD

9351

Driver Door Lock Actuator Unlock Control

R6-85

0.3 L-BU

5921

Door Unlock Supply Voltage

R6-86

1.25 OG/RD

3240

Battery Positive Voltage

R6-87

1.25 OG/RD

3240

Battery Positive Voltage

R6-87A

1.25 BK

1450

Ground

R8-30

5 RD/BK

642

Battery Positive Voltage

R8-85

0.3 YE

43

Accessory Voltage

R8-86

1.25 BK

1450

Ground

R8-87

5 YE

643

Accessory Voltage

R12-30

3 GY

120

Fuel Pump Supply Voltage

R12-85

0.3 D-GN/WH

465

Fuel Pump Relay Control [- Primary]

R12-86

1.25 BK

1450

Fuel Pump Control

R12-87

3 OG/GN

2840

Battery Positive Voltage

Fuse Block - Battery Cable X1

Terminal Part Information

  • Terminal: 7003-1669-02
  • Core/Insulation Crimp: N/A
  • Description: Battery Terminal

Fuse Block - Battery Cable X1

Pin

Wire Color

Circuit No.

Function

+

19 RD

1

Battery Positive Voltage

Fuse Block - Battery Cable X2

Terminal Part Information

  • Terminal: 7009-1846
  • Core/Insulation Crimp: N/A
  • Description: Battery Terminal

Fuse Block - Battery Cable X2

Pin

Wire Color

Circuit No.

Function

+

5 RD/BK

1242

Battery Positive Voltage

Fuse Block - Battery Cable X3

Terminal Part Information

  • Terminal: 7009-1813-02
  • Core/Insulation Crimp: N/A
  • Description: Battery Terminal

Fuse Block - Battery Cable X3

Pin

Wire Color

Circuit No.

Function

+

8 RD/BK

1042

Battery Positive Voltage

Junction Block - Battery Cable - Engine X1

Terminal Part Information

  • Harness: Battery Positive Cable
  • Terminal: 7003-2639-02
  • Core/Insulation Crimp: N/A
  • Description: Ring Terminal

Junction Block - Battery Cable - Engine X1

Pin

Wire Color

Circuit No.

Function

+

50 RD

1

Battery Positive Voltage

Junction Block - Battery Cable - Engine X3

Terminal Part Information

  • Harness: Battery Positive Cable
  • Terminal: 7003-2071-02
  • Core/Insulation Crimp: N/A
  • Description: Ring Terminal

Junction Block - Battery Cable - Engine X3

Pin

Wire Color

Circuit No.

Function

+

19 RD

2

Battery Positive Voltage

Junction Block - Battery Cable - I/P

Terminal Part Information

  • Harness: Battery Positive Cable
  • Terminal: 7003-1200-02
  • Core/Insulation Crimp: N/A
  • Description: Ring Terminal

Junction Block - Battery Cable - I/P

Pin

Wire Color

Circuit No.

Function

+

50 RD

1

Battery Positive Voltage

Fuse Block - Rear


Object Number: 1963996  Size: LF

Fuse Block - Rear, Device Usage

No.

Device

Rating

Description

1

REAR SEAT ENTERTAINMENT Fuse

10A

Video Splitter Box (VSB)

2

AMPLIFIER Fuse

30A

Amplifier (N6)

3

NAVIGATION/TELEMATICS/PHONE Fuse

10A

Navigation module, Telematics module and Bluetooth module

4

RADIO & INFOTAINMENT Fuse

15A

Audio unit (A133)

5

SPARE Fuse

--

6

REAR APO Fuse

20A

12V/120W AUX power outlet

7

TRAILER Fuse

30A

8

SPARE Fuse

--

9

SPARE Fuse

--

10

ECM BATT Fuse

15A

ECM power supply

11

RVC SENSE Fuse

7.5A

Body Control Module (BCM)

12

FUEL PUMP Fuse

20A

Fuel pump relay (R12)

Relays

--

SPARE Relay

--

--

SPARE Relay

--