| Table 1: | Steering Angle Sensor |
| Table 2: | Electronic Suspension Control (ESC) Module |
| Table 3: | Suspension Position Sensor -- FL |
| Table 4: | Suspension Position Sensor -- FR |
| Table 5: | Suspension Position Sensor -- RL |
| Table 6: | Suspension Position Sensor -- RR |
| Table 7: | Electronic Suspension Control (ESC) Switch |
| Table 8: | Suspension Damper Actuator -- LF |
| Table 9: | Suspension Damper Actuator -- RF |
| Table 10: | Suspension Damper Actuator -- LR |
| Table 11: | Suspension Damper Actuator -- RR |
| Table 12: | X236 |
| Table 13: | X236 |
| Table 14: | X237 |
| Table 15: | X237 |
| Table 16: | X238 |
| Table 17: | X238 |
| Table 18: | X413 |
| Table 19: | X413 |
| Table 20: | X415 |
| Table 21: | X415 |
| Table 22: | X416 |
| Table 23: | X416 |
| |||
|---|---|---|---|
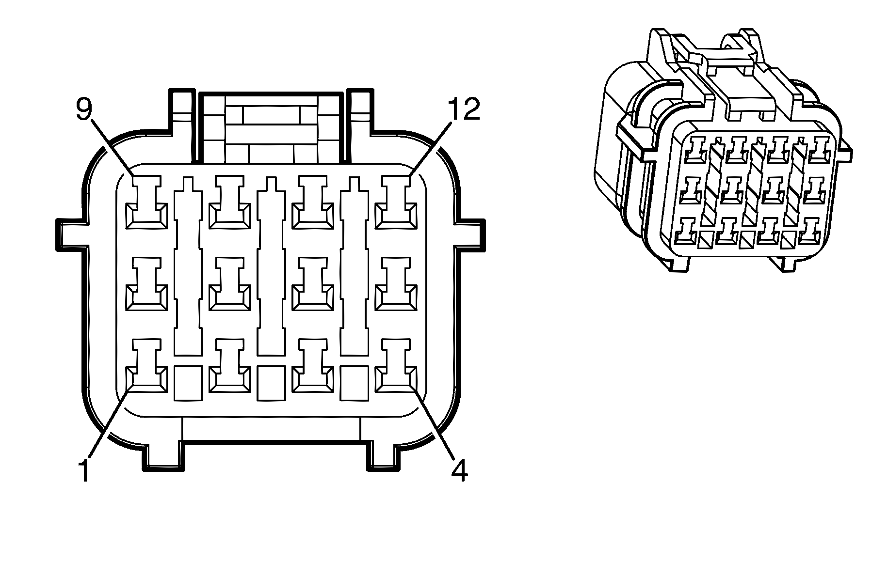
Connector Part Information | Female | ||
Pin | Wire Colour | Wire Size | Function |
1 | BN | 0.35 | High Speed GMLAN Serial Data Bus- |
2 | BN | 0.35 | High Speed GMLAN Serial Data Bus- |
3 | BN/BK | 0.35 | High Speed GMLAN Serial Data Bus+ |
4 | BN/BK | 0.35 | High Speed GMLAN Serial Data Bus+ |
5 | L-BU | 0.5 | Communication Enable Relay Supply Voltage |
6 | BK/BU | 0.5 | Steering Wheel Position Sensor Low Reference |
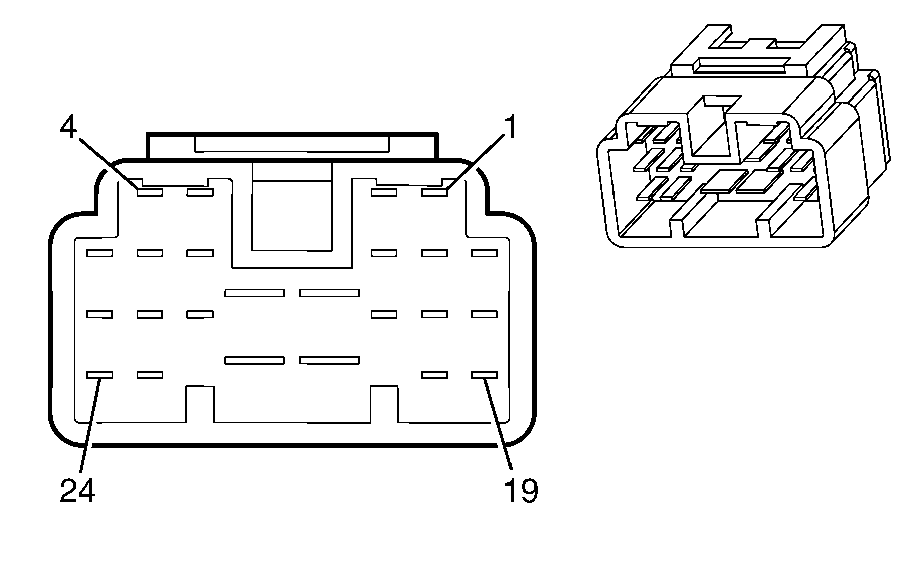
| |||
|---|---|---|---|
Connector Part Information | Female | ||
Pin | Wire Colour | Wire Size | Function |
1 | -- | -- | -- |
2 | BU/WH | 0.3 | Left Front Suspension Position Sensor Voltage Reference |
3 | GN/WH | 0.3 | Right Front Suspension Position Sensor Voltage Reference |
4 | GY/WH | 0.3 | Left Rear Suspension Position Sensor Voltage Reference |
5 | BN/WH | 0.3 | Right Rear Suspension Position Sensor Voltage Reference |
6 | -- | -- | -- |
7 | -- | -- | -- |
8 | YE/BK | 0.3 | Module Signal Error |
9 | YE/GN | 0.3 | Firm LED Supply Voltage |
10 | -- | -- | -- |
11 | BN/BK | 0.3 | Right Rear Suspension Position Sensor Low Reference |
12 | -- | -- | -- |
13 | -- | -- | -- |
14 | -- | -- | -- |
15 | -- | -- | -- |
16 | -- | -- | -- |
17 | BU | 0.3 | Left Front Suspension Position Sensor Signal |
18 | GN | 0.3 | Right Front Suspension Position Sensor Signal |
19 | BN | 0.3 | Right Rear Suspension Position Sensor Signal |
20 | -- | -- | -- |
21 | YE/RD | 0.35 | Electronic Suspension Control Switch Signal |
22 | -- | -- | -- |
23 | -- | -- | -- |
24 | BN | 0.3 | High Speed GMLAN Serial Data Bus- |
25 | BN/BK | 0.3 | High Speed GMLAN Serial Data Bus+ |
26 | GN/BK | 0.3 | Right Front Suspension Position Sensor Low Reference |
27 | GY/BK | 0.3 | Left Rear Suspension Position Sensor Low Reference |
28 | WH/BK | 0.85 | Left Rear Damper Low Reference |
29 | PU/WH | 0.85 | Right Front Damper Low Reference |
30 | PK/BK | 0.85 | Left Front Damper Low Reference |
31 | L-BU | 0.5 | Communication Enable Relay Supply Voltage |
32 | RD/BU | 2.0 | Battery Positive Voltage |
33 | GY | 0.3 | Left Rear Suspension Position Sensor Signal |
34 | -- | -- | -- |
35 | -- | -- | -- |
36 | -- | -- | -- |
37 | -- | -- | -- |
38 | -- | -- | -- |
39 | BN | 0.3 | High Speed GMLAN Serial Data Bus- |
40 | BN/BK | 0.3 | High Speed GMLAN Serial Data Bus+ |
41 | BU/BK | 0.3 | Left Front Suspension Position Sensor Low Reference |
42 | L-GN/RD | 0.85 | Right Rear Damper Control |
43 | WH/RD | 0.85 | Left Rear Damper Control |
44 | L-GN/BK | 0.85 | Right Rear Damper Low Reference |
45 | PU | 0.85 | Right Front Damper Control |
46 | PK | 0.85 | Left Front Damper Control |
47 | BK | 2.0 | Ground |
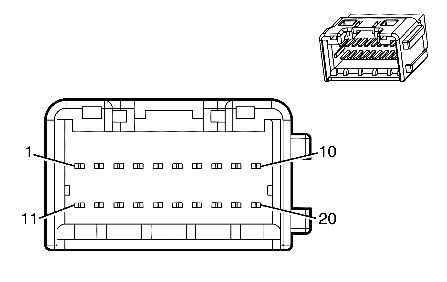
| |||
|---|---|---|---|
Connector Part Information | Male | ||
Pin | Wire Colour | Wire Size | Function |
A | BU/WH | 0.35 | Left Front Suspension Position Sensor Voltage Reference |
B | BU | 0.35 | Left Front Suspension Position Sensor Signal |
C | BU/BK | 0.35 | Left Front Suspension Position Sensor Low Reference |
| |||
|---|---|---|---|
Connector Part Information | Male | ||
Pin | Wire Colour | Wire Size | Function |
A | GN/WH | 0.35 | Right Front Suspension Position Sensor Voltage Reference |
B | GN | 0.35 | Right Front Suspension Position Sensor Signal |
C | GN/BK | 0.35 | Right Front Suspension Position Sensor Low Reference |
| |||
|---|---|---|---|
Connector Part Information | Male | ||
Pin | Wire Colour | Wire Size | Function |
A | GY/WH | 0.35 | Left Rear Suspension Position Sensor Voltage Reference |
B | GY | 0.35 | Left Rear Suspension Position Sensor Signal |
C | GY/BK | 0.35 | Left Rear Suspension Position Sensor Low Reference |
| |||
|---|---|---|---|
Connector Part Information | Female | ||
Pin | Wire Colour | Wire Size | Function |
A | BN/WH | 0.35 | Right Rear Suspension Position Sensor Voltage Reference |
B | BN | 0.35 | Right Rear Suspension Position Sensor Signal |
C | BN/BK | 0.35 | Right Rear Suspension Position Sensor Low Reference |
| |||
|---|---|---|---|
Connector Part Information | Female | ||
Pin | Wire Colour | Wire Size | Function |
1 | L-BU | 0.35 | Communication Enable Relay Supply Voltage |
2 | BK | 0.35 | Ground |
3 | YE/GN | 0.35 | Firm LED Supply Voltage |
4 | BK | 0.35 | Ground |
5 | YE/RD | 0.35 | Electronic Suspension Control Switch Signal |
6 | BK | 0.35 | Ground |
| |||
|---|---|---|---|
Connector Part Information | Female | ||
Pin | Wire Colour | Wire Size | Function |
A | PK | 0.35 | Left Front Damper Control |
B | PK/BK | 0.35 | Left Front Damper Low Reference |
| |||
|---|---|---|---|
Connector Part Information | Female | ||
Pin | Wire Colour | Wire Size | Function |
A | PU | 0.35 | Right Front Damper Control |
B | PU/WH | 0.35 | Right Front Damper Low Reference |
| |||
|---|---|---|---|
Connector Part Information | Female | ||
Pin | Wire Colour | Wire Size | Function |
A | WH/RD | 0.35 | Left Rear Damper Control |
B | WH/BK | 0.35 | Left Rear Damper Low Reference |
| |||
|---|---|---|---|
Connector Part Information | Female | ||
Pin | Wire Colour | Wire Size | Function |
A | WH/RD | 0.35 | Right Rear Damper Control |
B | WH/BK | 0.35 | Right Rear Damper Low Reference |
| |||
|---|---|---|---|
Connector Part Information | Male | ||
Pin | Wire Colour | Wire Size | Function |
1 | GY/WH | 0.35 | Left Rear Suspension Position Sensor Voltage Reference |
2 | GY | 0.35 | Left Rear Suspension Position Sensor Signal |
3 | GY/BK | 0.35 | Left Rear Suspension Position Sensor Low Reference |
4 | WH/BK | 0.85 | Left Rear Damper Low Reference |
5 | WH/RD | 0.85 | Left Rear Damper Control |
6 | BN/WH | 0.35 | Right Rear Suspension Position Sensor Voltage Reference |
7 | BN | 0.35 | Right Rear Suspension Position Sensor Signal |
8 | BN/BK | 0.35 | Right Rear Suspension Position Sensor Low Reference |
9 | L-GN/BK | 0.85 | Right Rear Damper Low Reference |
10 | L-GN | 0.85 | Right Rear Damper Control |
11 | -- | -- | -- |
12 | -- | -- | -- |
| |||
|---|---|---|---|
Connector Part Information | Female | ||
Pin | Wire Colour | Wire Size | Function |
1 | GY/WH | 0.35 | Left Rear Suspension Position Sensor Voltage Reference |
2 | GY | 0.35 | Left Rear Suspension Position Sensor Signal |
3 | GY/BK | 0.35 | Left Rear Suspension Position Sensor Low Reference |
4 | WH/BK | 0.85 | Left Rear Damper Low Reference |
5 | WH/RD | 0.85 | Left Rear Damper Control |
6 | BN/WH | 0.35 | Right Rear Suspension Position Sensor Voltage Reference |
7 | BN | 0.35 | Right Rear Suspension Position Sensor Signal |
8 | BN/BK | 0.35 | Right Rear Suspension Position Sensor Low Reference |
9 | L-GN/BK | 0.85 | Right Rear Damper Low Reference |
10 | L-GN | 0.85 | Right Rear Damper Control |
11 | -- | -- | -- |
12 | -- | -- | -- |
| |||
|---|---|---|---|
Connector Part Information | Male | ||
Pin | Wire Colour | Wire Size | Function |
1 | L-BU | 0.5 | Communication Enable Relay Supply Voltage |
2 | BN | 0.5 | High Speed GMLAN Serial Data Bus- |
3 | BN/BK | 0.5 | High Speed GMLAN Serial Data Bus+ |
4 | YE/RD | 0.5 | Electronic Suspension Control Switch Signal |
5 | -- | -- | -- |
6 | -- | -- | -- |
7 | BN | 0.5 | High Speed GMLAN Serial Data Bus- |
8 | BN/BK | 0.5 | High Speed GMLAN Serial Data Bus+ |
9 | YE/BK | 0.5 | Module Signal Error |
10 | YE/GN | 0.5 | Firm LED Supply Voltage |
11 | GN/BK | 0.3 | Right Front Suspension Position Sensor Low Reference |
12 | GN | 0.3 | Right Front Suspension Position Sensor Signal |
13 | GN/WH | 0.3 | Right Front Suspension Position Sensor Voltage Reference |
14 | RD/BU | 2.0 | Battery Positive Voltage |
15 | BK | 2.0 | Ground |
16 | BU/BK | 0.3 | Left Front Suspension Position Sensor Low Reference |
17 | BU | 0.3 | Left Front Suspension Position Sensor Signal |
18 | BU/WH | 0.3 | Left Front Suspension Position Sensor Voltage Reference |
19 | PU | 0.75 | Right Front Damper Control |
20 | PU/WH | 0.75 | Right Front Damper Low Reference |
21 | -- | -- | -- |
22 | -- | -- | -- |
23 | PK | 0.75 | Left Front Damper Control |
24 | PK/BK | 0.75 | Left Front Damper Low Reference |
| |||
|---|---|---|---|
Connector Part Information | Female | ||
Pin | Wire Colour | Wire Size | Function |
1 | L-BU | 0.5 | Communication Enable Relay Supply Voltage |
2 | BN | 0.5 | High Speed GMLAN Serial Data Bus- |
3 | BN/BK | 0.5 | High Speed GMLAN Serial Data Bus+ |
4 | YE/RD | 0.5 | Electronic Suspension Control Switch Signal |
5 | -- | -- | -- |
6 | -- | -- | -- |
7 | BN | 0.5 | High Speed GMLAN Serial Data Bus- |
8 | BN/BK | 0.5 | High Speed GMLAN Serial Data Bus+ |
9 | YE/BK | 0.5 | Module Signal Error |
10 | YE/GN | 0.5 | Firm LED Supply Voltage |
11 | GN/BK | 0.3 | Right Front Suspension Position Sensor Low Reference |
12 | GN | 0.3 | Right Front Suspension Position Sensor Signal |
13 | GN/WH | 0.3 | Right Front Suspension Position Sensor Voltage Reference |
14 | RD/BU | 2.0 | Battery Positive Voltage |
15 | BK | 2.0 | Ground |
16 | BU/BK | 0.3 | Left Front Suspension Position Sensor Low Reference |
17 | BU | 0.3 | Left Front Suspension Position Sensor Signal |
18 | BU/WH | 0.3 | Left Front Suspension Position Sensor Voltage Reference |
19 | PU | 0.75 | Right Front Damper Control |
20 | PU/WH | 0.75 | Right Front Damper Low Reference |
21 | -- | -- | -- |
22 | -- | -- | -- |
23 | PK | 0.75 | Left Front Damper Control |
24 | PK/BK | 0.75 | Left Front Damper Low Reference |
| |||
|---|---|---|---|
Connector Part Information | Male | ||
Pin | Wire Colour | Wire Size | Function |
1 | YE | 0.3 | Ground |
2 | L-BU | 0.5 | Ground |
3 | YE/RD | 0.5 | Electronic Suspension Control Switch Signal |
4 | BK | 0.5 | Ground |
5 | -- | -- | -- |
6 | -- | -- | -- |
7 | YE/BK | 0.5 | Module Signal Error |
8 | YE/GN | 0.85 | Firm LED Supply Voltage |
9 | BK | 0.5 | Ground |
10 | BK | 0.5 | Ground |
| |||
|---|---|---|---|
Connector Part Information | Female | ||
Pin | Wire Colour | Wire Size | Function |
1 | YE | 0.3 | Ground |
2 | L-BU | 0.5 | Ground |
3 | YE/RD | 0.5 | Electronic Suspension Control Switch Signal |
4 | BK | 0.5 | Ground |
5 | -- | -- | -- |
6 | -- | -- | -- |
7 | YE/BK | 0.5 | Module Signal Error |
8 | YE/GN | 0.85 | Firm LED Supply Voltage |
9 | BK | 0.5 | Ground |
10 | BK | 0.5 | Ground |
| |||
|---|---|---|---|
Connector Part Information | Male | ||
Pin | Wire Colour | Wire Size | Function |
1 | GY/BU | 0.35 | Left Rear Suspension Position Sensor Voltage Reference |
2 | GY | 0.35 | Left Rear Suspension Position Sensor Signal |
3 | GY/BK | 0.35 | Left Rear Suspension Position Sensor Low Reference |
4 | WH/BK | 0.75 | Left Rear Damper Low Reference |
5 | WH/RD | 0.75 | Left Rear Damper Control |
6 | BN/WH | 0.35 | Right Rear Suspension Position Sensor Voltage Reference |
7 | BN | 0.35 | Right Rear Suspension Position Sensor Signal |
8 | BN/BK | 0.35 | Right Rear Suspension Position Sensor Low Reference |
9 | L-GN/BK | 0.75 | Right Rear Damper Low Reference |
10 | L-GN/RD | 0.75 | Right Rear Damper Control |
| |||
|---|---|---|---|
Connector Part Information | Female | ||
Pin | Wire Colour | Wire Size | Function |
1 | GY/BU | 0.35 | Left Rear Suspension Position Sensor Voltage Reference |
2 | GY | 0.35 | Left Rear Suspension Position Sensor Signal |
3 | GY/BK | 0.35 | Left Rear Suspension Position Sensor Low Reference |
4 | WH/BK | 0.75 | Left Rear Damper Low Reference |
5 | WH/RD | 0.75 | Left Rear Damper Control |
6 | BN/WH | 0.35 | Right Rear Suspension Position Sensor Voltage Reference |
7 | BN | 0.35 | Right Rear Suspension Position Sensor Signal |
8 | BN/BK | 0.35 | Right Rear Suspension Position Sensor Low Reference |
9 | L-GN/BK | 0.75 | Right Rear Damper Low Reference |
10 | L-GN/RD | 0.75 | Right Rear Damper Control |
| |||
|---|---|---|---|
Connector Part Information | Male | ||
Pin | Wire Colour | Wire Size | Function |
A | L-GN/RD | 0.75 | Right Rear Damper Control |
B | L-GN/BK | 0.75 | Right Rear Damper Low Reference |
| |||
|---|---|---|---|
Connector Part Information | Female | ||
Pin | Wire Colour | Wire Size | Function |
A | WH/RD | 0.75 | Right Rear Damper Control |
B | WH/BK | 0.75 | Right Rear Damper Low Reference |
| |||
|---|---|---|---|
Connector Part Information | Male | ||
Pin | Wire Colour | Wire Size | Function |
A | WH/RD | 0.75 | Left Rear Damper Control |
B | WH/BK | 0.75 | Left Rear Damper Low Reference |
| |||
|---|---|---|---|
Connector Part Information | Female | ||
Pin | Wire Colour | Wire Size | Function |
A | WH/RD | 0.75 | Left Rear Damper Control |
B | WH/BK | 0.75 | Left Rear Damper Low Reference |
| Table 1: | Steering Angle Sensor |
| Table 2: | Electronic Suspension Control (ESC) Module |
| Table 3: | Suspension Position Sensor -- FL |
| Table 4: | Suspension Position Sensor -- FR |
| Table 5: | Suspension Position Sensor -- RL |
| Table 6: | Suspension Position Sensor -- RR |
| Table 7: | Electronic Suspension Control (ESC) Switch |
| Table 8: | Suspension Damper Actuator -- LF |
| Table 9: | Suspension Damper Actuator -- RF |
| Table 10: | Suspension Damper Actuator -- LR |
| Table 11: | Suspension Damper Actuator -- RR |
| Table 12: | X236 |
| Table 13: | X236 |
| Table 14: | X237 |
| Table 15: | X237 |
| Table 16: | X238 |
| Table 17: | X238 |
| Table 18: | X413 |
| Table 19: | X413 |
| Table 20: | X415 |
| Table 21: | X415 |
| Table 22: | X416 |
| Table 23: | X416 |
| |||
|---|---|---|---|
Connector Part Information | Female | ||
Pin | Wire Colour | Wire Size | Function |
1 | BN | 0.35 | High Speed GMLAN Serial Data Bus- |
2 | BN | 0.35 | High Speed GMLAN Serial Data Bus- |
3 | BN/BK | 0.35 | High Speed GMLAN Serial Data Bus+ |
4 | BN/BK | 0.35 | High Speed GMLAN Serial Data Bus+ |
5 | L-BU | 0.5 | Communication Enable Relay Supply Voltage |
6 | BK/BU | 0.5 | Steering Wheel Position Sensor Low Reference |
| |||
|---|---|---|---|
Connector Part Information | Female | ||
Pin | Wire Colour | Wire Size | Function |
1 | -- | -- | -- |
2 | BU/WH | 0.3 | Left Front Suspension Position Sensor Voltage Reference |
3 | GN/WH | 0.3 | Right Front Suspension Position Sensor Voltage Reference |
4 | GY/WH | 0.3 | Left Rear Suspension Position Sensor Voltage Reference |
5 | BN/WH | 0.3 | Right Rear Suspension Position Sensor Voltage Reference |
6 | -- | -- | -- |
7 | -- | -- | -- |
8 | YE/BK | 0.3 | Module Signal Error |
9 | YE/GN | 0.3 | Firm LED Supply Voltage |
10 | -- | -- | -- |
11 | BN/BK | 0.3 | Right Rear Suspension Position Sensor Low Reference |
12 | -- | -- | -- |
13 | -- | -- | -- |
14 | -- | -- | -- |
15 | -- | -- | -- |
16 | -- | -- | -- |
17 | BU | 0.3 | Left Front Suspension Position Sensor Signal |
18 | GN | 0.3 | Right Front Suspension Position Sensor Signal |
19 | BN | 0.3 | Right Rear Suspension Position Sensor Signal |
20 | -- | -- | -- |
21 | YE/RD | 0.35 | Electronic Suspension Control Switch Signal |
22 | -- | -- | -- |
23 | -- | -- | -- |
24 | BN | 0.3 | High Speed GMLAN Serial Data Bus- |
25 | BN/BK | 0.3 | High Speed GMLAN Serial Data Bus+ |
26 | GN/BK | 0.3 | Right Front Suspension Position Sensor Low Reference |
27 | GY/BK | 0.3 | Left Rear Suspension Position Sensor Low Reference |
28 | WH/BK | 0.85 | Left Rear Damper Low Reference |
29 | PU/WH | 0.85 | Right Front Damper Low Reference |
30 | PK/BK | 0.85 | Left Front Damper Low Reference |
31 | L-BU | 0.5 | Communication Enable Relay Supply Voltage |
32 | RD/BU | 2.0 | Battery Positive Voltage |
33 | GY | 0.3 | Left Rear Suspension Position Sensor Signal |
34 | -- | -- | -- |
35 | -- | -- | -- |
36 | -- | -- | -- |
37 | -- | -- | -- |
38 | -- | -- | -- |
39 | BN | 0.3 | High Speed GMLAN Serial Data Bus- |
40 | BN/BK | 0.3 | High Speed GMLAN Serial Data Bus+ |
41 | BU/BK | 0.3 | Left Front Suspension Position Sensor Low Reference |
42 | L-GN/RD | 0.85 | Right Rear Damper Control |
43 | WH/RD | 0.85 | Left Rear Damper Control |
44 | L-GN/BK | 0.85 | Right Rear Damper Low Reference |
45 | PU | 0.85 | Right Front Damper Control |
46 | PK | 0.85 | Left Front Damper Control |
47 | BK | 2.0 | Ground |
| |||
|---|---|---|---|
Connector Part Information | Male | ||
Pin | Wire Colour | Wire Size | Function |
A | BU/WH | 0.35 | Left Front Suspension Position Sensor Voltage Reference |
B | BU | 0.35 | Left Front Suspension Position Sensor Signal |
C | BU/BK | 0.35 | Left Front Suspension Position Sensor Low Reference |
| |||
|---|---|---|---|
Connector Part Information | Male | ||
Pin | Wire Colour | Wire Size | Function |
A | GN/WH | 0.35 | Right Front Suspension Position Sensor Voltage Reference |
B | GN | 0.35 | Right Front Suspension Position Sensor Signal |
C | GN/BK | 0.35 | Right Front Suspension Position Sensor Low Reference |
| |||
|---|---|---|---|
Connector Part Information | Male | ||
Pin | Wire Colour | Wire Size | Function |
A | GY/WH | 0.35 | Left Rear Suspension Position Sensor Voltage Reference |
B | GY | 0.35 | Left Rear Suspension Position Sensor Signal |
C | GY/BK | 0.35 | Left Rear Suspension Position Sensor Low Reference |
| |||
|---|---|---|---|
Connector Part Information | Female | ||
Pin | Wire Colour | Wire Size | Function |
A | BN/WH | 0.35 | Right Rear Suspension Position Sensor Voltage Reference |
B | BN | 0.35 | Right Rear Suspension Position Sensor Signal |
C | BN/BK | 0.35 | Right Rear Suspension Position Sensor Low Reference |
| |||
|---|---|---|---|
Connector Part Information | Female | ||
Pin | Wire Colour | Wire Size | Function |
1 | L-BU | 0.35 | Communication Enable Relay Supply Voltage |
2 | BK | 0.35 | Ground |
3 | YE/GN | 0.35 | Firm LED Supply Voltage |
4 | BK | 0.35 | Ground |
5 | YE/RD | 0.35 | Electronic Suspension Control Switch Signal |
6 | BK | 0.35 | Ground |
| |||
|---|---|---|---|
Connector Part Information | Female | ||
Pin | Wire Colour | Wire Size | Function |
A | PK | 0.35 | Left Front Damper Control |
B | PK/BK | 0.35 | Left Front Damper Low Reference |
| |||
|---|---|---|---|
Connector Part Information | Female | ||
Pin | Wire Colour | Wire Size | Function |
A | PU | 0.35 | Right Front Damper Control |
B | PU/WH | 0.35 | Right Front Damper Low Reference |
| |||
|---|---|---|---|
Connector Part Information | Female | ||
Pin | Wire Colour | Wire Size | Function |
A | WH/RD | 0.35 | Left Rear Damper Control |
B | WH/BK | 0.35 | Left Rear Damper Low Reference |
| |||
|---|---|---|---|
Connector Part Information | Female | ||
Pin | Wire Colour | Wire Size | Function |
A | WH/RD | 0.35 | Right Rear Damper Control |
B | WH/BK | 0.35 | Right Rear Damper Low Reference |
| |||
|---|---|---|---|
Connector Part Information | Male | ||
Pin | Wire Colour | Wire Size | Function |
1 | GY/WH | 0.35 | Left Rear Suspension Position Sensor Voltage Reference |
2 | GY | 0.35 | Left Rear Suspension Position Sensor Signal |
3 | GY/BK | 0.35 | Left Rear Suspension Position Sensor Low Reference |
4 | WH/BK | 0.85 | Left Rear Damper Low Reference |
5 | WH/RD | 0.85 | Left Rear Damper Control |
6 | BN/WH | 0.35 | Right Rear Suspension Position Sensor Voltage Reference |
7 | BN | 0.35 | Right Rear Suspension Position Sensor Signal |
8 | BN/BK | 0.35 | Right Rear Suspension Position Sensor Low Reference |
9 | L-GN/BK | 0.85 | Right Rear Damper Low Reference |
10 | L-GN | 0.85 | Right Rear Damper Control |
11 | -- | -- | -- |
12 | -- | -- | -- |
| |||
|---|---|---|---|
Connector Part Information | Female | ||
Pin | Wire Colour | Wire Size | Function |
1 | GY/WH | 0.35 | Left Rear Suspension Position Sensor Voltage Reference |
2 | GY | 0.35 | Left Rear Suspension Position Sensor Signal |
3 | GY/BK | 0.35 | Left Rear Suspension Position Sensor Low Reference |
4 | WH/BK | 0.85 | Left Rear Damper Low Reference |
5 | WH/RD | 0.85 | Left Rear Damper Control |
6 | BN/WH | 0.35 | Right Rear Suspension Position Sensor Voltage Reference |
7 | BN | 0.35 | Right Rear Suspension Position Sensor Signal |
8 | BN/BK | 0.35 | Right Rear Suspension Position Sensor Low Reference |
9 | L-GN/BK | 0.85 | Right Rear Damper Low Reference |
10 | L-GN | 0.85 | Right Rear Damper Control |
11 | -- | -- | -- |
12 | -- | -- | -- |
| |||
|---|---|---|---|
Connector Part Information | Male | ||
Pin | Wire Colour | Wire Size | Function |
1 | L-BU | 0.5 | Communication Enable Relay Supply Voltage |
2 | BN | 0.5 | High Speed GMLAN Serial Data Bus- |
3 | BN/BK | 0.5 | High Speed GMLAN Serial Data Bus+ |
4 | YE/RD | 0.5 | Electronic Suspension Control Switch Signal |
5 | -- | -- | -- |
6 | -- | -- | -- |
7 | BN | 0.5 | High Speed GMLAN Serial Data Bus- |
8 | BN/BK | 0.5 | High Speed GMLAN Serial Data Bus+ |
9 | YE/BK | 0.5 | Module Signal Error |
10 | YE/GN | 0.5 | Firm LED Supply Voltage |
11 | GN/BK | 0.3 | Right Front Suspension Position Sensor Low Reference |
12 | GN | 0.3 | Right Front Suspension Position Sensor Signal |
13 | GN/WH | 0.3 | Right Front Suspension Position Sensor Voltage Reference |
14 | RD/BU | 2.0 | Battery Positive Voltage |
15 | BK | 2.0 | Ground |
16 | BU/BK | 0.3 | Left Front Suspension Position Sensor Low Reference |
17 | BU | 0.3 | Left Front Suspension Position Sensor Signal |
18 | BU/WH | 0.3 | Left Front Suspension Position Sensor Voltage Reference |
19 | PU | 0.75 | Right Front Damper Control |
20 | PU/WH | 0.75 | Right Front Damper Low Reference |
21 | -- | -- | -- |
22 | -- | -- | -- |
23 | PK | 0.75 | Left Front Damper Control |
24 | PK/BK | 0.75 | Left Front Damper Low Reference |
| |||
|---|---|---|---|
Connector Part Information | Female | ||
Pin | Wire Colour | Wire Size | Function |
1 | L-BU | 0.5 | Communication Enable Relay Supply Voltage |
2 | BN | 0.5 | High Speed GMLAN Serial Data Bus- |
3 | BN/BK | 0.5 | High Speed GMLAN Serial Data Bus+ |
4 | YE/RD | 0.5 | Electronic Suspension Control Switch Signal |
5 | -- | -- | -- |
6 | -- | -- | -- |
7 | BN | 0.5 | High Speed GMLAN Serial Data Bus- |
8 | BN/BK | 0.5 | High Speed GMLAN Serial Data Bus+ |
9 | YE/BK | 0.5 | Module Signal Error |
10 | YE/GN | 0.5 | Firm LED Supply Voltage |
11 | GN/BK | 0.3 | Right Front Suspension Position Sensor Low Reference |
12 | GN | 0.3 | Right Front Suspension Position Sensor Signal |
13 | GN/WH | 0.3 | Right Front Suspension Position Sensor Voltage Reference |
14 | RD/BU | 2.0 | Battery Positive Voltage |
15 | BK | 2.0 | Ground |
16 | BU/BK | 0.3 | Left Front Suspension Position Sensor Low Reference |
17 | BU | 0.3 | Left Front Suspension Position Sensor Signal |
18 | BU/WH | 0.3 | Left Front Suspension Position Sensor Voltage Reference |
19 | PU | 0.75 | Right Front Damper Control |
20 | PU/WH | 0.75 | Right Front Damper Low Reference |
21 | -- | -- | -- |
22 | -- | -- | -- |
23 | PK | 0.75 | Left Front Damper Control |
24 | PK/BK | 0.75 | Left Front Damper Low Reference |
| |||
|---|---|---|---|
Connector Part Information | Male | ||
Pin | Wire Colour | Wire Size | Function |
1 | YE | 0.3 | Ground |
2 | L-BU | 0.5 | Ground |
3 | YE/RD | 0.5 | Electronic Suspension Control Switch Signal |
4 | BK | 0.5 | Ground |
5 | -- | -- | -- |
6 | -- | -- | -- |
7 | YE/BK | 0.5 | Module Signal Error |
8 | YE/GN | 0.85 | Firm LED Supply Voltage |
9 | BK | 0.5 | Ground |
10 | BK | 0.5 | Ground |
| |||
|---|---|---|---|
Connector Part Information | Female | ||
Pin | Wire Colour | Wire Size | Function |
1 | YE | 0.3 | Ground |
2 | L-BU | 0.5 | Ground |
3 | YE/RD | 0.5 | Electronic Suspension Control Switch Signal |
4 | BK | 0.5 | Ground |
5 | -- | -- | -- |
6 | -- | -- | -- |
7 | YE/BK | 0.5 | Module Signal Error |
8 | YE/GN | 0.85 | Firm LED Supply Voltage |
9 | BK | 0.5 | Ground |
10 | BK | 0.5 | Ground |
| |||
|---|---|---|---|
Connector Part Information | Male | ||
Pin | Wire Colour | Wire Size | Function |
1 | GY/BU | 0.35 | Left Rear Suspension Position Sensor Voltage Reference |
2 | GY | 0.35 | Left Rear Suspension Position Sensor Signal |
3 | GY/BK | 0.35 | Left Rear Suspension Position Sensor Low Reference |
4 | WH/BK | 0.75 | Left Rear Damper Low Reference |
5 | WH/RD | 0.75 | Left Rear Damper Control |
6 | BN/WH | 0.35 | Right Rear Suspension Position Sensor Voltage Reference |
7 | BN | 0.35 | Right Rear Suspension Position Sensor Signal |
8 | BN/BK | 0.35 | Right Rear Suspension Position Sensor Low Reference |
9 | L-GN/BK | 0.75 | Right Rear Damper Low Reference |
10 | L-GN/RD | 0.75 | Right Rear Damper Control |
| |||
|---|---|---|---|
Connector Part Information | Female | ||
Pin | Wire Colour | Wire Size | Function |
1 | GY/BU | 0.35 | Left Rear Suspension Position Sensor Voltage Reference |
2 | GY | 0.35 | Left Rear Suspension Position Sensor Signal |
3 | GY/BK | 0.35 | Left Rear Suspension Position Sensor Low Reference |
4 | WH/BK | 0.75 | Left Rear Damper Low Reference |
5 | WH/RD | 0.75 | Left Rear Damper Control |
6 | BN/WH | 0.35 | Right Rear Suspension Position Sensor Voltage Reference |
7 | BN | 0.35 | Right Rear Suspension Position Sensor Signal |
8 | BN/BK | 0.35 | Right Rear Suspension Position Sensor Low Reference |
9 | L-GN/BK | 0.75 | Right Rear Damper Low Reference |
10 | L-GN/RD | 0.75 | Right Rear Damper Control |
| |||
|---|---|---|---|
Connector Part Information | Male | ||
Pin | Wire Colour | Wire Size | Function |
A | L-GN/RD | 0.75 | Right Rear Damper Control |
B | L-GN/BK | 0.75 | Right Rear Damper Low Reference |
| |||
|---|---|---|---|
Connector Part Information | Female | ||
Pin | Wire Colour | Wire Size | Function |
A | WH/RD | 0.75 | Right Rear Damper Control |
B | WH/BK | 0.75 | Right Rear Damper Low Reference |
| |||
|---|---|---|---|
Connector Part Information | Male | ||
Pin | Wire Colour | Wire Size | Function |
A | WH/RD | 0.75 | Left Rear Damper Control |
B | WH/BK | 0.75 | Left Rear Damper Low Reference |
| |||
|---|---|---|---|
Connector Part Information | Female | ||
Pin | Wire Colour | Wire Size | Function |
A | WH/RD | 0.75 | Left Rear Damper Control |
B | WH/BK | 0.75 | Left Rear Damper Low Reference |