GM Service Manual Online
For 1990-2009 cars only

Tools Required

    • J-36020 Stationary Glass Removal Tool
    • Glass Sealant Remover (Cold Knife)
    • Urethane Adhesive Kit or Equivalent
    • Isopropyl Alcohol, Prepsol or Equivalent
    • Cartridge-type Caulking Gun
    • Commercial-type Utility Knife
    • Razor Blade Scraper
    • Suction Cups

Removal Procedure

    Caution: When working with any type of glass or sheet metal with exposed or rough edges, wear approved safety glasses and gloves in order to reduce the chance of personal injury.

    Caution: If a window is cracked but still intact, crisscross the window with masking tape in order to reduce the risk of damage or personal injury.

  1. Cover the seats and carpeting to protect them from broken glass.
  2. Remove rear window upper garnish mould. Refer to Quarter Upper Trim Panel Replacement .
  3. Remove the high level stop light. Refer to High Mount Stop Lamp Replacement .

  4. Object Number: 1939926  Size: SH
  5. Disconnect the rear window electrical connectors (2) from the rear window (1).

  6. Object Number: 1939922  Size: SH

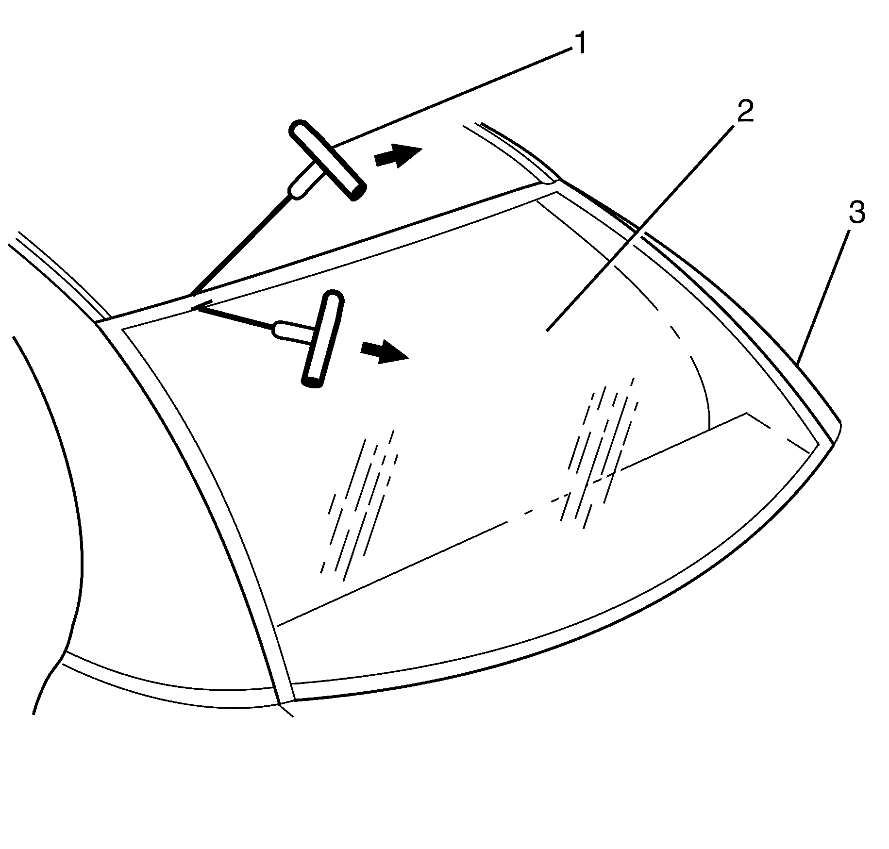
    Important: Before cutting out a stationary window, apply a double layer of masking tape around the perimeter of the painted surfaces and the interior trim.

    Important:  Use a suitable tool to install the piano wire from J-36020 (2) through the urethane at a upper corner of the rear window (1).

  7. Install J-36020 (2) to the vehicle (3).
  8. Connect the end of the piano wire to the other handle of J-36020 (2).

  9. Object Number: 1939918  Size: SH

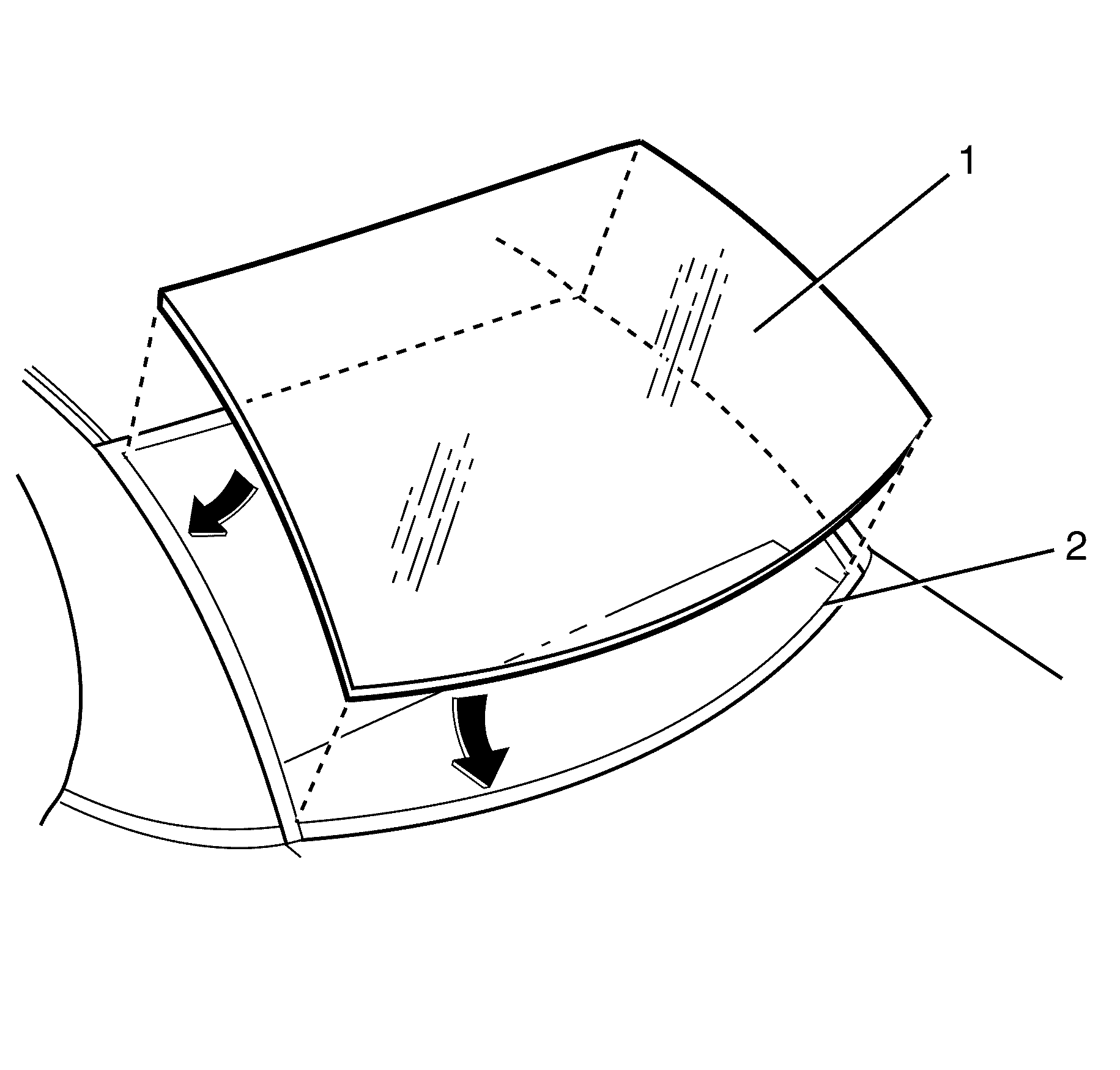
    Important: Keep the inside handle of J-36020 (1) against the rear window (2) and cycle the full length of the piano wire to prevent heat build up.

  10. With the aid of an assistant cut through the urethane bead around the rear window (2) to the vehicle (3).

  11. Object Number: 1939920  Size: SH

    Important: The use of suction cups will aid in the rear window (1) removal.

  12. With the aid of an assistant remove the rear window (1) from the vehicle (2).

Installation Procedure

    Caution: Failure to prep the area prior to the application of primer may cause insufficient bonding of urethane adhesive. Insufficient bonding of urethane adhesive may allow unrestrained occupants to be ejected from the vehicle resulting in personal injury.

    Important: Use a lint free cloth and suitable oil free cleaning agent to make sure adhesion of the urethane.

  1. Clean surface and edges of rear window where urethane is to be applied.

  2. Object Number: 1939928  Size: SH

    Important: The clear glass primer dries almost instantly and may stain the viewing area of the rear window if not applied evenly. Wipe off the clear glass primer with a lint free cloth immediately after application.

    Important: Apply the clear glass primer with a suitable applicator.

  3. Apply a 50mm wide layer of clear glass primer to the inner surface of the rear window perimeter.

  4. Object Number: 1939930  Size: SH

    Important: Agitate the black glass primer for 1 minute to mix thoroughly.

    Important: Apply a 20mm wide layer of black glass primer with the applicator to the rear window (1) perimeter.

  5. Apply the black glass primer to the rear window (1).
  6. Caution: Refer to Window Retention Caution in the Preface section.


    Object Number: 1939930  Size: SH

    Important: Apply a 7mm wide and 14mm deep layer of urethane GMW3041 or equivalent 20mm inside the perimeter of the rear window (1).

  7. Apply the urethane GMW3041 or equivalent to the rear window (1).

  8. Object Number: 1939924  Size: SH

    Important: The rear window (1) is aligned by two datum pins located at the top of the rear window and 8mm foam spacers one at the top and two at the bottom of the rear window (1).

  9. With the aid of an assistant install the rear window (1) to the vehicle (2).
  10. Press the rear window (1) firmly into position.

  11. Object Number: 2008633  Size: SH
  12. Check the clearance between the rear window (2) and the deck lid (1).

  13. Object Number: 1939926  Size: SH
  14. Connect the rear window electrical connectors (2) to the rear window (1).
  15. Remove the double layer of masking tape from around the perimeter of the painted surfaces and the interior trim.
  16. Install the rear window upper garnish mould. Refer to Quarter Upper Trim Panel Replacement .
  17. Install the high level stop light. Refer to High Mount Stop Lamp Replacement .