GM Service Manual Online
For 1990-2009 cars only

Removal Procedure

    Caution: Refer to Battery Disconnect Caution in the Preface section.

  1. Disconnect the battery ground cable. Refer to Battery Negative Cable Disconnection and Connection.
  2. Remove the insulator panel. Refer to Instrument Panel Insulator Panel Replacement - Left Side.
  3. Remove the instrument panel outer trim cover. Refer to Instrument Panel Outer Trim Cover Replacement.
  4. Remove the instrument panel compartment. Refer to Instrument Panel Compartment Replacement.

  5. Object Number: 1957178  Size: SH
  6. Disconnect the bluetooth module electrical connector (1).
  7. Important: Push the bluetooth module assembly (3) towards the front of the vehicle and pull downward to disengage the bluetooth module assembly retaining clips from the I/P carrier (2).

  8. Remove the bluetooth module assembly (3) from the I/P carrier (2).

Disassembly Procedure


Object Number: 1957181  Size: SH

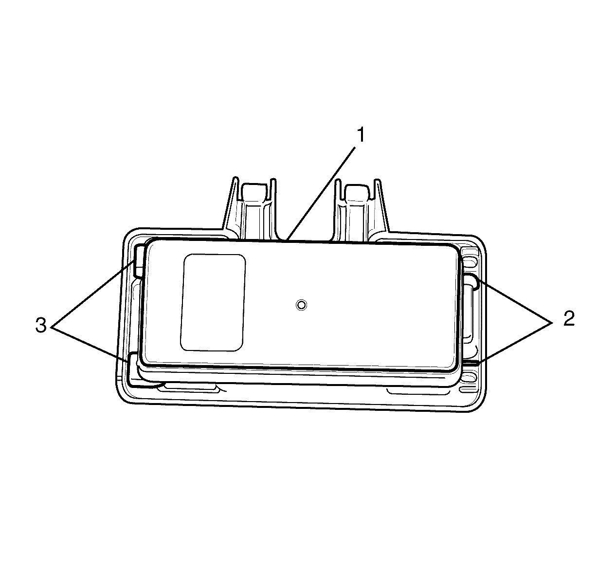
Important: To remove the bluetooth module bracket (1) from the bluetooth module (3), grasp the outside of the bluetooth module bracket with your fingers and disengage the bluetooth module bracket retaining tangs (2) with your thumbs.

Remove the bluetooth module (3) from the bluetooth module bracket (1).

Assembly Procedure


Object Number: 1957183  Size: SH

Important: Guide the bluetooth module (1) into the bluetooth module bracket (2), make sure retaining clips (3) engage.

Install the bluetooth module (1) to the bluetooth module bracket (2 and 3).

Installation Procedure


    Object Number: 1957178  Size: SH

    Important: Push the bluetooth module assembly (1) toward the rear of the vehicle, making sure to engage the bluetooth module assembly retaining clips to the I/P carrier (2).

  1. Install the bluetooth module assembly (1) to the I/P carrier (2).
  2. Connect the bluetooth module electrical connector (1).
  3. Install the Instrument Panel Outer Trim Cover. Refer to Instrument Panel Outer Trim Cover Replacement.
  4. Install the insulator panel. Refer to Instrument Panel Insulator Panel Replacement - Left Side.
  5. Install the instrument panel compartment. Refer to Instrument Panel Compartment Replacement.
  6. Connect the battery ground cable. Refer to Battery Negative Cable Disconnection and Connection.
  7. If re-programming is required. Refer to Control Module References.