GM Service Manual Online
For 1990-2009 cars only

Video Disc Player Control Replacement SWB

Removal Procedure


    Object Number: 1957794  Size: SH
  1. Remove the RSE assembly. Refer to Video Disc Player Bracket Replacement .
  2. Remove the audio control to RSE assembly bracket screws (1).

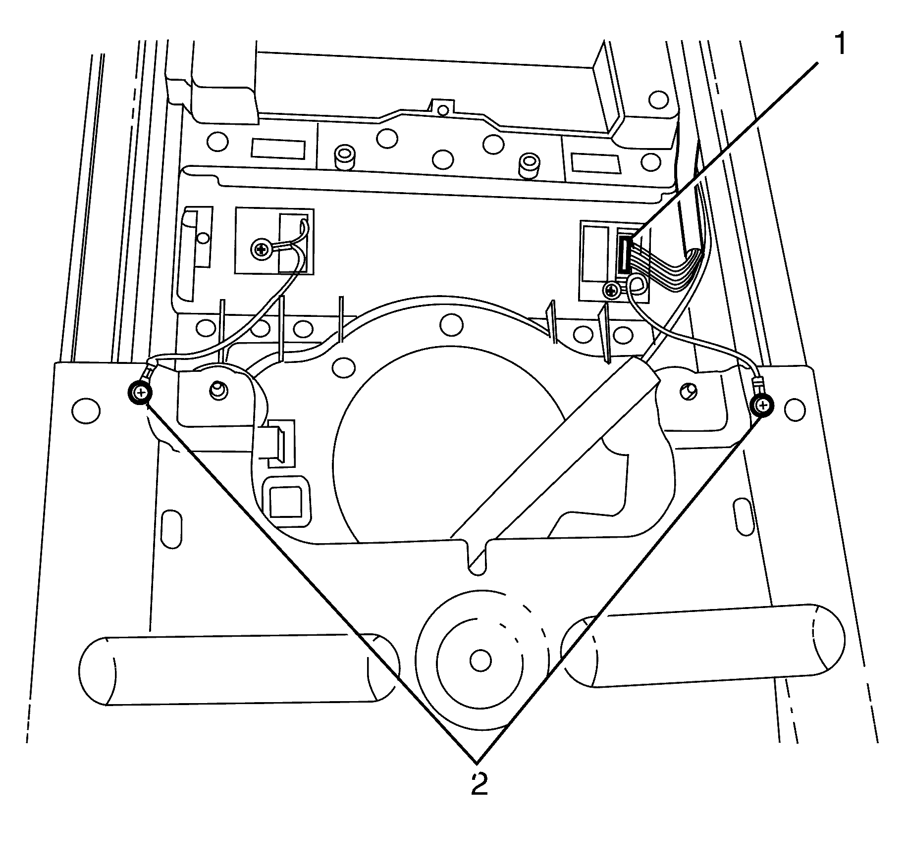
  3. Object Number: 1957795  Size: SH
  4. Disconnect the headliner audio control connectors (1).
  5. Remove the grounding point to RSE assembly bracket screws (2).
  6. Remove the headliner audio controls from the RSE assembly bracket.

Installation Procedure


    Object Number: 1957795  Size: SH
  1. Install the headliner audio controls to the headliner.
  2. Connect the headliner audio controls electrical connectors (1).
  3. Notice: Refer to Fastener Notice in the Preface section.

  4. Install the grounding point to RSE assembly bracket retaining screws (2).
  5. Tighten
    Tighten the screws to 1 N·m (9 lb in).

    Notice: Refer to Fastener Notice in the Preface section.


    Object Number: 1957794  Size: SH
  6. Install the headliner audio controls to RSE assembly bracket retaining screws (1).
  7. Tighten
    Tighten the screws to 1 N·m (9 lb in).

  8. Install the rear seat entertainment assembly. Refer to Video Disc Player Bracket Replacement .

Video Disc Player Control Replacement LWB

Removal Procedure


    Object Number: 1957799  Size: SH
  1. Remove the rear seat entertainment assembly (RSE). Refer to Video Disc Player Bracket Replacement .
  2. Remove the audio control to RSE assembly bracket screws (1).

  3. Object Number: 1957797  Size: SH
  4. Disconnect the headliner audio control connector (1).
  5. Remove the grounding point to RSE assembly bracket screws (2).
  6. Remove the headliner audio controls from the RSE assembly bracket.

Installation Procedure


    Object Number: 1957797  Size: SH
  1. Install the headliner audio controls to the headliner.
  2. Connect the headliner audio controls electrical connector (1).
  3. Notice: Refer to Fastener Notice in the Preface section.

  4. Install the grounding point to RSE assembly bracket retaining screws (2).
  5. Tighten
    Tighten the screws to 1 N·m (9 lb in).

    Notice: Refer to Fastener Notice in the Preface section.


    Object Number: 1957799  Size: SH
  6. Install the headliner audio controls to RSE assembly bracket retaining screws (1).
  7. Tighten
    Tighten the screws to 1 N·m (9 lb in).

  8. Install the RSE assembly. Refer to Video Disc Player Bracket Replacement .