GM Service Manual Online
For 1990-2009 cars only

Brake Pipe Replacement LHD

Master Cylinder to BPMV Removal Procedure

Tools Required

J 23738-A Mityvac

    Caution: Refer to Safety Glasses Caution in the Preface section.

    Caution: Refer to Brake Fluid Caution in the Preface section.

    Caution: Refer to Brake Fluid Irritant Caution in the Preface section.

    Notice: Refer to Adding Fluid to the Brake System Notice in the Preface section.

    Notice: Refer to Brake Fluid Effects on Paint and Electrical Components Notice in the Preface section.

  1. Remove the engine. Refer to Engine Replacement for 3.6L or Engine Replacement for 6.0L.
  2. Remove the sound proofing trim from the bulkhead.
  3. Clean the master cylinder, especially around the brake lines and reservoir cap.
  4. Place a clean suitable container under the Brake Pressure Modulator Valve (BPMV).
  5. Remove the master cylinder reservoir cap.

  6. Object Number: 1943726  Size: SH
  7. Siphon the brake fluid out of the master cylinder reservoir (1) using a hand vacuum pump (2).

  8. Object Number: 1946067  Size: SH
  9. Remove the brake pipes (2) from the master cylinder (1).

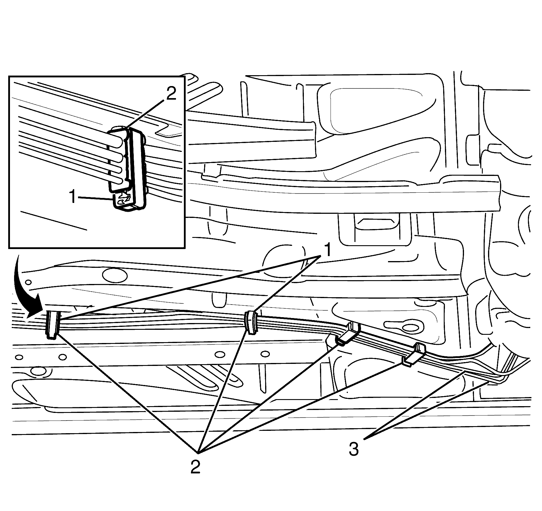
  10. Object Number: 1946070  Size: SH
  11. Detach the brake pipes (1) from the retaining clips (2 and 3)

  12. Object Number: 1946069  Size: SH

    Important: Record the location of all brake pipes to the BPMV assembly for use as an aid during installation.

  13. Remove the brake pipes (2) from the BPMV (1).
  14. Detach the brake pipes (2) from the retaining clips (3).

Master Cylinder to BPMV Installation Procedure


    Object Number: 1946069  Size: SH
  1. Install the brake pipes (2) to the BPMV (1) using the locations recorded during the removal procedure.
  2. Tighten
    Tighten the brake pipes to 15 Nm (11 lb ft).

  3. Attach the brake pipes (2) from the retaining clips (3).

  4. Object Number: 1946190  Size: SH
  5. Attach the brake pipe (1) to the locating clip (3).
  6. Install the locating clip to bulkhead retaining nut (2).

  7. Object Number: 1946070  Size: SH
  8. Attach the brake pipes (1) to the retaining clips (2 and 3)

  9. Object Number: 1946067  Size: SH
  10. Install the brake pipes (2) to the master cylinder (1).
  11. Tighten
    Tighten the pipe fittings to 15 Nm (11 lb ft).

  12. Install the sound proofing trim to the bulkhead.
  13. Install the engine. Refer to Engine Replacement for 3.6L or Engine Replacement for 6.0L.
  14. Bleed the hydraulic brake system. Refer to Hydraulic Brake System Bleeding .

Front Brake Pipe Removal Procedure - Right

    Caution: Refer to Brake Dust Caution in the Preface section.

    Caution: Refer to Brake Fluid Caution in the Preface section.

    Caution: Refer to Brake Fluid Irritant Caution in the Preface section.

    Notice: Refer to Adding Fluid to the Brake System Notice in the Preface section.

    Notice: Refer to Brake Fluid Effects on Paint and Electrical Components Notice in the Preface section.

  1. Clean the master cylinder, especially around the brake lines and reservoir cap.
  2. Place a clean suitable container under the Brake Pressure Modulator Valve (BPMV).
  3. Remove the master cylinder reservoir cap.

  4. Object Number: 1943726  Size: SH
  5. Siphon the brake fluid out of the master cylinder reservoir (1) using a hand vacuum pump (2).

  6. Object Number: 1946103  Size: SH
  7. Disconnect the brake pipe (1) from the BPMV (2).
  8. Important:  Install a rubber cap or plug to the BPMV (2) in order to prevent fluid loss and contamination.

  9. Plug the BPMV (2).

  10. Object Number: 1946107  Size: SH
  11. Detach the brake pipe (1) from the locating clip (2).
  12. Caution: Refer to Safety Glasses Caution in the Preface section.

    Caution: Refer to Vehicle Lifting Caution in the Preface section.

  13. Raise and support the vehicle. Refer to Lifting and Jacking the Vehicle.
  14. Clean all dirt and foreign material from the brake hose and the brake pipe fittings.

  15. Object Number: 1945979  Size: SH

    Important: Hold the brake hose (3) with a spanner whilst disconnecting the brake pipe fitting (2) to prevent damage to the brake pipe (1).

  16. Disconnect the brake pipe fitting (2) from the brake hose (3).
  17. Important: Install a rubber cap or plug to the exposed brake hose fitting end in order to prevent brake fluid loss and contamination.

  18. Plug the brake hose (3).
  19. Remove the brake pipe (1).

Front Brake Pipe Installation Procedure - Right

    Notice: Refer to Adding Fluid to the Brake System Notice in the Preface section.

    Notice: Refer to Brake Fluid Effects on Paint and Electrical Components Notice in the Preface section.


    Object Number: 1945979  Size: SH
  1. Install the brake pipe (1).
  2. Remove the rubber cap or plug from the brake hose (3).
  3. Notice: Refer to Fastener Notice in the Preface section.

    Important: Hold the brake hose (3) with a spanner whilst connecting the brake pipe fitting (2) to prevent damage to the brake pipe (1).

  4. Connect the brake pipe fitting (2) to the brake hose (3).
  5. Tighten
    Tighten the brake pipe fitting to 15 Nm (11 lb ft).

  6. Lower the vehicle.

  7. Object Number: 1946107  Size: SH
  8. Attach the brake pipe (1) to the locating clip (2).

  9. Object Number: 1946103  Size: SH
  10. Remove the rubber cap or plug from the BPMV (2).
  11. Install the brake pipe (1) to the BPMV (2).
  12. Tighten
    Tighten the brake pipe fitting to 15 Nm (11 lb ft).

  13. Bleed the hydraulic brake system. Refer to Hydraulic Brake System Bleeding .

Front Brake Pipe Removal Procedure - Left

    Caution: Refer to Brake Dust Caution in the Preface section.

    Caution: Refer to Brake Fluid Caution in the Preface section.

    Caution: Refer to Brake Fluid Irritant Caution in the Preface section.

    Notice: Refer to Adding Fluid to the Brake System Notice in the Preface section.

    Notice: Refer to Brake Fluid Effects on Paint and Electrical Components Notice in the Preface section.

  1. Clean the master cylinder, brake lines and reservoir cap.
  2. Place a clean suitable container under the Brake Pressure Modulator Valve (BPMV).
  3. Remove the master cylinder reservoir cap.

  4. Object Number: 1943726  Size: SH
  5. Siphon the brake fluid out of the master cylinder reservoir (1) using a hand vacuum pump (2).

  6. Object Number: 1946110  Size: SH
  7. Disconnect the brake pipe (1) from the BPMV (2).
  8. Important:  Install a rubber cap or plug to the BPMV (2) in order to prevent fluid loss and contamination.

  9. Plug the BPMV (2).
  10. Caution: Refer to Safety Glasses Caution in the Preface section.

    Caution: Refer to Vehicle Lifting Caution in the Preface section.

  11. Raise and support the vehicle. Refer to Lifting and Jacking the Vehicle.
  12. Remove the engine. Refer to Engine Replacement for 3.6L or Engine Replacement for 6.0L.
  13. Remove the sound proofing trim from the bulkhead.

  14. Object Number: 1946190  Size: SH
  15. Remove the locating clip to bulkhead retaining nut (2).
  16. Detach the brake pipe (1) from the locating clip (3).

  17. Object Number: 1946133  Size: SH
  18. Detach the brake pipe (1) from the locating clip (2).

  19. Object Number: 1946172  Size: SH
  20. Detach the brake pipe (2) from the locating clips (1).

  21. Object Number: 1946186  Size: SH
  22. Detach the brake pipe (1) from the locating clips (2).
  23. Clean all dirt and foreign material from the brake hose and the brake pipe fittings.

  24. Object Number: 1945987  Size: SH

    Important: Hold the brake hose (1) with a spanner whilst disconnecting the brake pipe fitting (3) to prevent damage to the brake pipe (2).

  25. Disconnect the brake pipe fitting (3) from the brake hose (1).
  26. Important: Install a rubber cap or plug to the exposed brake hose (1) in order to prevent brake fluid loss and contamination.

  27. Plug the brake hose (1).
  28. Remove the brake pipe (2).

Front Brake Pipe Installation Procedure - Left

    Notice: Refer to Adding Fluid to the Brake System Notice in the Preface section.

    Notice: Refer to Brake Fluid Effects on Paint and Electrical Components Notice in the Preface section.


    Object Number: 1945987  Size: SH
  1. Install the brake pipe (2).
  2. Remove the rubber cap or plug from the brake hose (1).
  3. Notice: Refer to Fastener Notice in the Preface section.

    Important: Hold the brake hose (1) with a spanner whilst disconnecting the brake pipe fitting (3) to prevent damage to the brake pipe (2).

  4. Connect the brake pipe (2) to the brake hose (1).
  5. Tighten
    Tighten the brake pipe fitting to 15 Nm (11 lb ft).

  6. Lower the vehicle.

  7. Object Number: 1946133  Size: SH
  8. Attach the brake pipe (1) to the locating clip (2).

  9. Object Number: 1946172  Size: SH
  10. Attach the brake pipe (1) to the locating clip (2).

  11. Object Number: 1946190  Size: SH
  12. Attach the brake pipe (1) to the locating clip (3).
  13. Install the locating clip to bulkhead retaining nut (2).

  14. Object Number: 1946186  Size: SH
  15. Attach the brake pipe (1) to the locating clips (2).

  16. Object Number: 1946110  Size: SH
  17. Remove the rubber cap or plug from the BPMV (2).
  18. Install the brake pipe (1) to the BPMV (2).
  19. Tighten
    Tighten the brake pipe fitting to 15 Nm (11 lb ft).

  20. Install the sound proofing trim to the bulkhead.
  21. Install the engine. Refer to Engine Replacement for 3.6L or Engine Replacement for 6.0L.
  22. Bleed the hydraulic brake system. Refer to Hydraulic Brake System Bleeding .

Intermediate Brake Pipe Removal Procedure

    Caution: Refer to Brake Dust Caution in the Preface section.

    Caution: Refer to Brake Fluid Caution in the Preface section.

    Caution: Refer to Brake Fluid Irritant Caution in the Preface section.

    Notice: Refer to Adding Fluid to the Brake System Notice in the Preface section.

    Notice: Refer to Brake Fluid Effects on Paint and Electrical Components Notice in the Preface section.

  1. Clean the master cylinder, brake lines and reservoir cap.
  2. Place a clean suitable container under the Brake Pressure Modulator Valve (BPMV).
  3. Remove the master cylinder reservoir cap.

  4. Object Number: 1943734  Size: SH
  5. Siphon the brake fluid out of the master cylinder reservoir (2) using a hand vacuum pump (1).

  6. Object Number: 1946157  Size: SH
  7. Disconnect the brake pipe (1) from the BPMV (2).
  8. Important: Install a rubber cap or plug to the BPMV (2) in order to prevent fluid loss and contamination.

  9. Plug the BPMV (2).

  10. Object Number: 1946216  Size: SH
  11. Detach the brake pipe (1) to the locating clip (2).
  12. Caution: Refer to Safety Glasses Caution in the Preface section.

    Caution: Refer to Vehicle Lifting Caution in the Preface section.

  13. Raise and support the vehicle. Refer to Lifting and Jacking the Vehicle.

  14. Object Number: 1946038  Size: SH
  15. Remove the brake and fuel pipe splash shield to chassis retaining nuts (1).
  16. Remove the brake and fuel pipe splash shield (2).
  17. Remove the front heat shield. Refer to Exhaust Front Heat Shield Replacement.
  18. Remove the engine. Refer to Engine Replacement for 3.6L or Engine Replacement for 6.0L.

  19. Object Number: 1946239  Size: SH

    Important: The brake and fuel pipe protector shield (4) is retained by rivets (3). These rivets (2) must be drilled out during removal and replaced as per the installation procedure.

  20. Remove the brake and fuel pipe protector shield to bulkhead retaining rivets (2).
  21. Remove the brake and fuel pipe protector shield to bulkhead retaining bolt (3).
  22. Detach the brake and fuel pipe protector shield clips (1).
  23. Remove the brake and fuel pipe protector shield (2).
  24. Remove the rear subframe. Refer to Rear Frame Replacement.

  25. Object Number: 1946005  Size: SH

    Important: Hold the brake pipe union (1) with a spanner whilst disconnecting the brake pipe fitting (2) to prevent damage to the intermediate brake pipe (3).

  26. Disconnect the intermediate brake pipe (3) from the brake pipe union (1).
  27. Important: Install a rubber cap or plug to the brake pipe union (1) in order to prevent brake fluid loss and/or contamination.

  28. Plug the brake pipe union (1).

  29. Object Number: 1946054  Size: SH

    Important: The brake and fuel pipe retaining brackets (2) are retained by rivets (3). These rivets (3) must be drilled out during removal and replaced as per the installation procedure.

  30. Remove the brake and fuel pipe retaining bracket to chassis retaining rivets (3).
  31. Remove the brake and fuel pipe retaining brackets (2).
  32. Remove the brake pipe (4) from the brake and fuel pipe retaining bracket rubber insulators (1).

  33. Object Number: 1946061  Size: SH

    Important: Use a small flat blade tool to open the brake and fuel pipe retaining brackets (2) by detaching the brake and fuel pipe retaining bracket (2) clip.

  34. Open the brake and fuel pipe retaining brackets (2).
  35. Remove the brake pipe (1) from the brake and fuel pipe retaining bracket rubber insulators (3).

Intermediate Brake Pipe Installation Procedure

    Notice: Refer to Adding Fluid to the Brake System Notice in the Preface section.

    Notice: Refer to Brake Fluid Effects on Paint and Electrical Components Notice in the Preface section.


    Object Number: 1946061  Size: SH
  1. Install the brake pipe (1) to the brake and fuel pipe retaining bracket rubber insulators (3).
  2. Close the brake and fuel pipe retaining brackets (2).

  3. Object Number: 1946054  Size: SH
  4. Install the brake pipe (4) to the two brake and fuel pipe retaining bracket rubber insulators (1).
  5. Install the two brake and fuel pipe retaining brackets (2).
  6. Install the two brake and fuel pipe retaining bracket to chassis retaining rivets (3).
  7. Remove the rubber cap or plug from the brake pipe union.
  8. Notice: Refer to Fastener Notice in the Preface section.


    Object Number: 1946005  Size: SH

    Important: Hold the brake pipe union (1) with a spanner whilst connecting the brake pipe fitting (2) to prevent damage to the brake pipe (3).

  9. Connect the brake pipe (1) to the brake pipe union (2).
  10. Tighten
    Tighten the brake pipe fitting to 16 N·m (12 lb ft).

  11. Install the rear subframe. Refer to Rear Frame Replacement.

  12. Object Number: 1946038  Size: SH
  13. Install the brake and fuel pipe splash shield (2) to the underbody.
  14. Install the brake and fuel pipe splash shield to chassis retaining nuts (1).
  15. Install the engine. Refer to Engine Replacement for 3.6L or Engine Replacement for 6.0L.
  16. Install the front heat shield. Refer to Exhaust Front Heat Shield Replacement .
  17. Lower the vehicle.

  18. Object Number: 1946239  Size: SH
  19. Install the brake and fuel pipe protector shield (4)
  20. Attach the brake and fuel pipe protector shield clips (1).
  21. Install NEW brake and fuel pipe protector shield to bulkhead retaining rivets (2).
  22. Install the brake and fuel pipe protector shield to bulkhead retaining bolt (3).

  23. Object Number: 1946216  Size: SH
  24. Attach the brake pipe (1) to the locating clip (2).

  25. Object Number: 1946157  Size: SH
  26. Remove the rubber cap or plug from the BPMV  (2).
  27. Install the brake pipe (1) to the BPMV (2).
  28. Tighten
    Tighten the brake pipe fitting to 16 N·m (12 lb ft).

  29. Bleed the hydraulic brake system. Refer to Hydraulic Brake System Bleeding .

Rear Brake Pipe Removal Procedure - Right

    Caution: Refer to Brake Dust Caution in the Preface section.

    Caution: Refer to Brake Fluid Caution in the Preface section.

    Caution: Refer to Brake Fluid Irritant Caution in the Preface section.

    Notice: Refer to Adding Fluid to the Brake System Notice in the Preface section.

    Notice: Refer to Brake Fluid Effects on Paint and Electrical Components Notice in the Preface section.

  1. Clean the master cylinder, brake lines and reservoir cap.
  2. Remove the master cylinder reservoir cap.

  3. Object Number: 1943726  Size: SH
  4. Siphon the brake fluid out of the master cylinder reservoir (1) using a hand vacuum pump (2).

  5. Object Number: 1946168  Size: SH
  6. Disconnect the brake pipe (1) from the BPMV (2).
  7. Important: Install a rubber cap or plug to the BPMV (2) in order to prevent fluid loss and contamination.

  8. Plug the BPMV (2).

  9. Object Number: 1946244  Size: SH
  10. Detach the brake pipe (1) from the locating clip (2).
  11. Caution: Refer to Safety Glasses Caution in the Preface section.

    Caution: Refer to Vehicle Lifting Caution in the Preface section.

  12. Raise and support the vehicle. Refer to Lifting and Jacking the Vehicle.

  13. Object Number: 1946038  Size: SH
  14. Remove the brake and fuel pipe splash shield to chassis retaining nuts (1).
  15. Remove the brake and fuel pipe splash shield (2).
  16. Remove the front heat shield. Refer to Exhaust Front Heat Shield Replacement t.
  17. Remove the engine. Refer to Engine Replacement for 3.6L or Engine Replacement for 6.0L.

  18. Object Number: 1946239  Size: SH

    Important: The brake and fuel pipe protector shield (4) is retained by rivets (3). These rivets (2) must be drilled out during removal and replaced as per the installation procedure.

  19. Remove the brake and fuel pipe protector shield to bulkhead retaining rivets (2).
  20. Remove the brake and fuel pipe protector shield to bulkhead retaining bolt (3).
  21. Detach the brake and fuel pipe protector shield clips (1).
  22. Remove the brake and fuel pipe protector shield (2).

  23. Object Number: 1945989  Size: SH

    Important: Hold the brake hose (3) with a spanner whilst disconnecting the brake pipe fitting (1) to prevent damage to the brake pipe (2).

  24. Disconnect the brake pipe fitting (1) from the brake hose (3).
  25. Important: Install a rubber cap or plug to the brake hose (3) in order to prevent brake fluid loss and contamination.

  26. Plug the brake hose (3).
  27. Remove the brake pipe (2).

  28. Object Number: 1946054  Size: SH

    Important: The brake and fuel pipe retaining brackets (2) are retained by rivets (3). These rivets (3) must be drilled out during removal and replaced as per the installation procedure.

  29. Remove the brake and fuel pipe retaining bracket to chassis retaining rivets (3).
  30. Remove the brake and fuel pipe retaining brackets (2).
  31. Remove the brake pipe (4) from the brake and fuel pipe retaining bracket rubber insulators (1).

  32. Object Number: 1946061  Size: SH

    Important: Use a small flat blade tool to open the brake and fuel pipe retaining brackets (1) by detaching the brake and fuel pipe retaining bracket (1) clip.

  33. Open the brake and fuel pipe retaining brackets (1).
  34. Remove the brake pipes (3) from the brake and fuel pipe retaining bracket rubber insulators (2).

Rear Brake Pipe Installation Procedure - Right


    Object Number: 1946061  Size: SH
  1. Install the brake pipes (3) to the brake and fuel pipe retaining bracket rubber insulators (2).
  2. Close the brake and fuel pipe retaining brackets (1).

  3. Object Number: 1946054  Size: SH
  4. Install the brake pipes (4) to the two brake and fuel pipe retaining bracket rubber insulators (1).
  5. Install the two brake and fuel pipe retaining brackets (2).
  6. Install the two brake and fuel pipe retaining bracket to chassis retaining rivets (3).

  7. Object Number: 1945989  Size: SH
  8. Remove the rubber cap or plug from the brake hose (3).
  9. Notice: Refer to Fastener Notice in the Preface section.

    Important: Hold the brake hose (3) with a spanner whilst connecting the brake pipe fitting (1) to prevent damage to the brake pipe (2).

  10. Connect the brake pipe fitting (1) to the brake hose (3).
  11. Tighten
    Tighten the brake pipe fitting to 15 Nm (11 lb ft).


    Object Number: 1946038  Size: SH
  12. Install the brake and fuel pipe splash shield (2) to the underbody.
  13. Install the brake and fuel pipe splash shield to chassis retaining nuts (1).
  14. Install the engine. Refer to Engine Replacement for 3.6L or Engine Replacement for 6.0L.
  15. Install the front heat shield. Refer to Exhaust Front Heat Shield Replacement .
  16. Lower the vehicle.

  17. Object Number: 1946239  Size: SH
  18. Install the brake and fuel pipe protector shield (4)
  19. Attach the brake and fuel pipe protector shield clips (1).
  20. Install NEW brake and fuel pipe protector shield to bulkhead retaining rivets (2).
  21. Install the brake and fuel pipe protector shield to bulkhead retaining bolt (3).

  22. Object Number: 1946244  Size: SH
  23. Attach the brake pipe (1) to the locating clip (2).

  24. Object Number: 1946168  Size: SH
  25. Remove the rubber cap or plug from the BPMV  (2).
  26. Install the brake pipe (1) to the BPMV (2).
  27. Tighten
    Tighten the brake pipe fitting to 15 Nm (11 lb ft).

  28. Bleed the hydraulic brake system. Refer to Hydraulic Brake System Bleeding .

Rear Brake Pipe Removal Procedure - Left

    Caution: Refer to Brake Dust Caution in the Preface section.

    Caution: Refer to Brake Fluid Caution in the Preface section.

    Caution: Refer to Brake Fluid Irritant Caution in the Preface section.

    Notice: Refer to Adding Fluid to the Brake System Notice in the Preface section.

    Notice: Refer to Brake Fluid Effects on Paint and Electrical Components Notice in the Preface section.

  1. Clean the master cylinder, brake lines and reservoir cap.
  2. Remove the master cylinder reservoir cap.

  3. Object Number: 1943726  Size: SH
  4. Siphon the brake fluid out of the master cylinder reservoir (1) using a hand vacuum pump (2).
  5. Remove the rear suspension sub frame assembly. Refer to Rear Frame Replacement .

  6. Object Number: 1946057  Size: SH

    Important: Hold the brake pipe union (3) with a spanner whilst disconnecting the brake pipe fitting (2) to prevent damage to the brake pipe (1).

  7. Disconnect the intermediate brake pipe (1) from the brake pipe union (3).
  8. Important: Install a rubber cap or plug to the brake pipe union (3) in order to prevent brake fluid loss and/or contamination.

  9. Plug the brake pipe union (3).

  10. Object Number: 1945992  Size: SH

    Important: Hold the brake hose (2) with a spanner whilst disconnecting the brake pipe fitting (1) to prevent damage to the brake pipe (3).

  11. Disconnect the brake pipe fitting (1) from the brake hose (2).
  12. Important: Install a rubber cap or plug to the brake hose fitting end in order to prevent brake fluid loss and contamination.

  13. Plug the brake hose (2).

  14. Object Number: 1946064  Size: SH
  15. Remove the brake pipe (1) from the brake pipe retaining clips (2).

Rear Brake Pipe Installation Procedure - Left

    Notice: Refer to Adding Fluid to the Brake System Notice in the Preface section.

    Notice: Refer to Brake Fluid Effects on Paint and Electrical Components Notice in the Preface section.


    Object Number: 1946064  Size: SH
  1. Install the brake pipe (1) to the brake pipe retaining clips (2).
  2. Remove the rubber cap or plug from the brake hose.
  3. Notice: Refer to Fastener Notice in the Preface section.


    Object Number: 1945992  Size: SH

    Important: Hold the brake hose (2) with a spanner whilst connecting the brake pipe fitting (1) to prevent damage to the brake pipe (3).

  4. Connect the brake pipe fitting (1) to the brake hose (3).
  5. Tighten
    Tighten the brake pipe fitting to 15 Nm (11 lb ft).

  6. Remove the rubber cap or plug from the brake pipe union.
  7. Notice: Refer to Fastener Notice in the Preface section.


    Object Number: 1946057  Size: SH

    Important: Hold the brake pipe union (2) with a spanner whilst connecting the brake pipe fitting (3) to prevent damage to the brake pipe (2).

  8. Connect the brake pipe (1) to the brake pipe union (2).
  9. Tighten
    Tighten the brake pipe fitting to 15 Nm (11 lb ft).

  10. Install the rear suspension sub frame assembly. Refer to Rear Frame Replacement .
  11. Bleed the hydraulic brake system. Refer to Hydraulic Brake System Bleeding .

Brake Pipe Replacement RHD

Tools Required

J 23738-A Mityvac

Master Cylinder to Brake Pressure Modulator Valve (BPMV) Removal Procedure

    Caution: Refer to Safety Glasses Caution in the Preface section.

    Caution: Refer to Brake Fluid Caution in the Preface section.

    Caution: Refer to Brake Fluid Irritant Caution in the Preface section.

    Notice: Refer to Adding Fluid to the Brake System Notice in the Preface section.

    Notice: Refer to Brake Fluid Effects on Paint and Electrical Components Notice in the Preface section.

  1. Clean the master cylinder, especially around the brake lines and reservoir cap.
  2. Place a clean suitable container under the BPMV and master cylinder.
  3. Remove the master cylinder reservoir cap.

  4. Object Number: 1943734  Size: SH
  5. Siphon the brake fluid out of the master cylinder reservoir (2) using the J 23738-A (1)

  6. Object Number: 1946368  Size: SH
  7. Remove the brake pipes (2) from the master cylinder (1).

  8. Object Number: 1946371  Size: SH

    Important: Record the location of all brake pipes to the BPMV assembly for use as an aid during installation.

  9. Remove the master cylinder brake pipes (2) from the BPMV (1).

Master Cylinder to Brake Pressure Modulator Valve (BPMV) Installation Procedure


    Object Number: 1946371  Size: SH
  1. Install the wheel brake pipes (2) to the BPMV (1) using the locations recorded during the removal procedure.
  2. Tighten
    Tighten the wheel brake pipes to 15 Nm (11 lb ft).


    Object Number: 1946368  Size: SH
  3. Install the brake pipes (2) to the master cylinder (1).
  4. Tighten
    Tighten the pipe fittings to 15 Nm (11 lb ft).

  5. Bleed the hydraulic brake system. Refer to Hydraulic Brake System Bleeding

Front Brake Pipe Removal Procedure - Right

    Caution: Refer to Safety Glasses Caution in the Preface section.

    Caution: Refer to Vehicle Lifting Caution in the Preface section.

    Caution: Refer to Brake Dust Caution in the Preface section.

    Caution: Refer to Brake Fluid Caution in the Preface section.

    Caution: Refer to Brake Fluid Irritant Caution in the Preface section.

    Notice: Refer to Adding Fluid to the Brake System Notice in the Preface section.

    Notice: Refer to Brake Fluid Effects on Paint and Electrical Components Notice in the Preface section.

  1. Clean the master cylinder, especially around the brake lines and reservoir cap.
  2. Place a clean suitable container under the BPMV.
  3. Remove the master cylinder reservoir cap.

  4. Object Number: 1943734  Size: SH
  5. Siphon the brake fluid out of the master cylinder reservoir (2) using the J 23738-A (1)

  6. Object Number: 1946249  Size: SH
  7. Disconnect the brake pipe (1) from the BPMV (2).
  8. Important:  Install a rubber cap or plug to the BPMV (2) in order to prevent fluid loss and contamination.

  9. Plug the BPMV (2).

  10. Object Number: 1946327  Size: SH
  11. Detach the brake pipe (1) from the locating clip (2).
  12. Raise and support the vehicle. Refer to Lifting and Jacking the Vehicle
  13. Remove the right front wheel. Refer to Tire and Wheel Removal and Installation
  14. Remove the right splash guard. Refer to Wheelhouse Splash Shield Replacement

  15. Object Number: 1945979  Size: SH
  16. Clean all dirt and foreign material from the brake hose and the brake pipe fittings (2 and 3).
  17. Important: Hold the brake hose (3) with a suitable tool whilst disconnecting the brake pipe fitting (2) to prevent damage to the brake pipe (1).

  18. Disconnect the brake pipe fitting (2) from the brake hose (3).
  19. Important: Install a rubber cap or plug to the exposed brake hose fitting end in order to prevent brake fluid loss and contamination.

  20. Plug the brake hose (3).
  21. Remove the brake pipe (1).

Front Brake Pipe Installation Procedure - Right

    Caution: Refer to Safety Glasses Caution in the Preface section.

    Caution: Refer to Vehicle Lifting Caution in the Preface section.

    Caution: Refer to Brake Dust Caution in the Preface section.

    Caution: Refer to Brake Fluid Caution in the Preface section.

    Caution: Refer to Brake Fluid Irritant Caution in the Preface section.

    Notice: Refer to Adding Fluid to the Brake System Notice in the Preface section.

    Notice: Refer to Brake Fluid Effects on Paint and Electrical Components Notice in the Preface section.


    Object Number: 1945979  Size: SH
  1. Install the brake pipe (1) to the vehicle.
  2. Remove the rubber cap or plug from the brake hose (3).
  3. Connect the brake pipe fitting (2) to the brake hose (3).
  4. Do not fully tighten at this stage.

  5. Lower the vehicle.

  6. Object Number: 1946327  Size: SH
  7. Attach the brake pipe (1) to the locating clip (2).

  8. Object Number: 1946249  Size: SH
  9. Remove the rubber cap or plug from the BPMV (2).
  10. Install the brake pipe (1) to the BPMV (2).
  11. Do not fully tighten at this stage.

    Notice: Refer to Fastener Notice in the Preface section.


    Object Number: 1945979  Size: SH

    Important: Hold the brake hose (3) with a suitable tool whilst connecting the brake pipe fitting (2) to prevent damage to the brake pipe (1).

  12. Tighten the brake pipe fitting (2) to the brake hose (3)
  13. Tighten
    Tighten the brake pipe fitting to 15 Nm (11 lb ft).


    Object Number: 1946249  Size: SH
  14. Tighten the brake pipe fitting (1) to the BPMV (2).
  15. Tighten
    Tighten the brake pipe fitting to 15 Nm (11 lb ft).

  16. Install the right splash guard. Refer to Wheelhouse Splash Shield Replacement
  17. Bleed the hydraulic brake system. Refer to Hydraulic Brake System Bleeding

Front Brake Pipe Removal Procedure - Left

    Caution: Refer to Safety Glasses Caution in the Preface section.

    Caution: Refer to Vehicle Lifting Caution in the Preface section.

    Caution: Refer to Brake Dust Caution in the Preface section.

    Caution: Refer to Brake Fluid Caution in the Preface section.

    Caution: Refer to Brake Fluid Irritant Caution in the Preface section.

    Notice: Refer to Adding Fluid to the Brake System Notice in the Preface section.

    Notice: Refer to Brake Fluid Effects on Paint and Electrical Components Notice in the Preface section.

  1. Clean the master cylinder, brake lines and reservoir cap.
  2. Place a clean suitable container under the Brake Pressure Modulator Valve (BPMV).
  3. Remove the master cylinder reservoir cap.

  4. Object Number: 1943734  Size: SH
  5. Siphon the brake fluid out of the master cylinder reservoir (2) using the J 23738-A (1)

  6. Object Number: 1946254  Size: SH
  7. Disconnect the brake pipe (1) from the BPMV (2).
  8. Important:  Install a rubber cap or plug to the BPMV (2) in order to prevent fluid loss and contamination.

  9. Plug the BPMV (2).
  10. Raise and support the vehicle. Refer to Lifting and Jacking the Vehicle
  11. Remove the engine. Refer to Engine Replacement for 3.6L or Engine Replacement for 6.0L.
  12. Remove the heat shields in the engine bay.
  13. Remove the sound proofing trim from the bulkhead.

  14. Object Number: 1946291  Size: SH
  15. Detach the brake pipe (1) from the locating clip (2).

  16. Object Number: 1946339  Size: SH
  17. Detach the brake pipe (1) from the locating clip (2).

  18. Object Number: 1946279  Size: SH
  19. Detach the brake pipe (1) from the locating clips (2).

  20. Object Number: 1945987  Size: SH
  21. Clean all dirt and foreign material from the brake hose and the brake pipe fittings (1 and 3).
  22. Important: Hold the brake hose (1) with a suitable tool whilst disconnecting the brake pipe fitting (3) to prevent damage to the brake pipe (2).

  23. Disconnect the brake pipe fitting (3) from the brake hose (1).
  24. Important: Install a rubber cap or plug to the exposed brake hose (1) in order to prevent brake fluid loss and contamination.

  25. Plug the brake hose (1).
  26. Remove the left splash guard. Refer to Wheelhouse Splash Shield Replacement
  27. Remove the brake pipe (2) from the vehicle.

Front Brake Pipe Installation Procedure - Left

    Caution: Refer to Safety Glasses Caution in the Preface section.

    Caution: Refer to Vehicle Lifting Caution in the Preface section.

    Caution: Refer to Brake Dust Caution in the Preface section.

    Caution: Refer to Brake Fluid Caution in the Preface section.

    Caution: Refer to Brake Fluid Irritant Caution in the Preface section.

    Notice: Refer to Adding Fluid to the Brake System Notice in the Preface section.

    Notice: Refer to Brake Fluid Effects on Paint and Electrical Components Notice in the Preface section.


    Object Number: 1945987  Size: SH
  1. Install the brake pipe (2) to the vehicle.
  2. Remove the rubber cap or plug from the brake hose (1).
  3. Connect the brake pipe (2) to the brake hose (1).
  4. Lower the vehicle.

  5. Object Number: 1946291  Size: SH
  6. Attach the brake pipe (1) to the locating clip (2).

  7. Object Number: 1946339  Size: SH
  8. Attach the brake pipe (1) to the locating clip (2).

  9. Object Number: 1946279  Size: SH
  10. Attach the brake pipe (1) to the locating clips (2).

  11. Object Number: 1946254  Size: SH
  12. Remove the rubber cap or plug from the BPMV (2).
  13. Install the brake pipe (1) to the BPMV (2).
  14. Do not fully tighten at this stage.

    Notice: Refer to Fastener Notice in the Preface section.


    Object Number: 1945987  Size: SH

    Important: Hold the brake hose (1) with a suitable tool whilst connecting the brake pipe fitting (3) to prevent damage to the brake pipe (2).

  15. Tighten the brake pipe fitting (3) to the brake hose (1)
  16. Tighten
    Tighten the brake pipe fitting to 15 Nm (11 lb ft).


    Object Number: 1946254  Size: SH
  17. Tighten the brake pipe fitting (1) to the BPMV (2)
  18. Tighten
    Tighten the brake pipe fitting to 15 Nm (11 lb ft).

  19. Install the sound proofing trim to the bulkhead.
  20. Install the heat shields to the engine bay.
  21. Install the engine. Refer to Engine Replacement for 3.6L or Engine Replacement for 6.0L.
  22. Install the left splash guard. Refer to Wheelhouse Splash Shield Replacement
  23. Bleed the hydraulic brake system. Refer to Hydraulic Brake System Bleeding

Intermediate Brake Pipe Removal Procedure

    Caution: Refer to Safety Glasses Caution in the Preface section.

    Caution: Refer to Vehicle Lifting Caution in the Preface section.

    Caution: Refer to Brake Dust Caution in the Preface section.

    Caution: Refer to Brake Fluid Caution in the Preface section.

    Caution: Refer to Brake Fluid Irritant Caution in the Preface section.

    Notice: Refer to Adding Fluid to the Brake System Notice in the Preface section.

    Notice: Refer to Brake Fluid Effects on Paint and Electrical Components Notice in the Preface section.

  1. Clean the master cylinder, brake lines and reservoir cap.
  2. Place a clean suitable container under the Brake Pressure Modulator Valve (BPMV).
  3. Remove the master cylinder reservoir cap.

  4. Object Number: 1943734  Size: SH
  5. Siphon the brake fluid out of the master cylinder reservoir (2) using the J 23738-A (1)

  6. Object Number: 1946257  Size: SH
  7. Disconnect the brake pipe (1) from the BPMV (2).
  8. Important: Install a rubber cap or plug to the BPMV (2) in order to prevent fluid loss and contamination.

  9. Plug the BPMV (2).

  10. Object Number: 1946346  Size: SH
  11. Detach the brake pipe (1) to the locating clip (2).
  12. Raise and support the vehicle. Refer to Lifting and Jacking the Vehicle

  13. Object Number: 1946038  Size: SH
  14. Remove the brake and fuel pipe splash shield to chassis retaining nuts (1).
  15. Remove the brake and fuel pipe splash shield (2).
  16. Remove the front heat shield. Refer to Exhaust Front Heat Shield Replacement
  17. Remove the engine. Refer to Engine Replacement for 3.6L or Engine Replacement for 6.0L.

  18. Object Number: 1946261  Size: SH

    Important: The brake and fuel pipe protector shield (3) is retained by rivets (2). These rivets (2) must be drilled out during removal and replaced as per the installation procedure.

  19. Remove the brake and fuel pipe heat shield to bulkhead retaining rivets (2).
  20. Remove the brake and fuel pipe heat shield to bulkhead retaining bolt (4).
  21. Detach the brake and fuel pipe heat shield clips (1).
  22. Remove the brake and fuel pipe protector shield (2).
  23. Remove the rear subframe. Refer to Rear Frame Replacement

  24. Object Number: 1946005  Size: SH

    Important: Hold the brake pipe union (1) with a suitable tool whilst disconnecting the brake pipe fitting (2) to prevent damage to the intermediate brake pipe (3).

  25. Disconnect the intermediate brake pipe (3) from the brake pipe union (1).
  26. Important: Install a rubber cap or plug to the brake pipe union (1) in order to prevent brake fluid loss and/or contamination.

  27. Plug the brake pipe union (1).

  28. Object Number: 1946054  Size: SH

    Important: The brake and fuel pipe retaining brackets (2) are retained by rivets (3). These rivets (3) must be drilled out during removal and replaced as per the installation procedure.

  29. Remove the brake and fuel pipe retaining bracket to chassis retaining rivets (3).
  30. Remove the brake and fuel pipe retaining brackets (2).
  31. Remove the brake pipes (4) from the brake and fuel pipe retaining bracket rubber insulators (1).

  32. Object Number: 1946061  Size: SH

    Important: Use a suitable tool to open the brake and fuel pipe retaining brackets (2) by detaching the brake and fuel pipe retaining bracket (2) clip.

  33. Open the brake and fuel pipe retaining brackets (2).
  34. Remove the brake pipe (1) from the brake and fuel pipe retaining bracket rubber insulators (3).

Intermediate Brake Pipe Installation Procedure

    Caution: Refer to Safety Glasses Caution in the Preface section.

    Caution: Refer to Vehicle Lifting Caution in the Preface section.

    Caution: Refer to Brake Dust Caution in the Preface section.

    Caution: Refer to Brake Fluid Caution in the Preface section.

    Caution: Refer to Brake Fluid Irritant Caution in the Preface section.

    Notice: Refer to Adding Fluid to the Brake System Notice in the Preface section.

    Notice: Refer to Brake Fluid Effects on Paint and Electrical Components Notice in the Preface section.


    Object Number: 1946061  Size: SH
  1. Install the brake pipes (3) to the brake and fuel pipe retaining bracket rubber insulators (2).
  2. Close the brake and fuel pipe retaining brackets (1).

  3. Object Number: 1946054  Size: SH
  4. Install the brake pipes (4) to the two brake and fuel pipe retaining bracket rubber insulators (1).
  5. Install the two brake and fuel pipe retaining brackets (2).
  6. Install the NEW brake and fuel pipe retaining bracket to chassis retaining rivets (3).
  7. Remove the rubber cap or plug from the brake pipe union.

  8. Object Number: 1946005  Size: SH

    Important: Hold the brake pipe union (1) with a spanner whilst connecting the brake pipe fitting (2) to prevent damage to the brake pipe (3).

  9. Connect the brake pipe (1) to the brake pipe union (2).

  10. Object Number: 1946346  Size: SH
  11. Attach the brake pipe (1) to the locating clip (2).

  12. Object Number: 1946257  Size: SH
  13. Remove the rubber cap or plug from the BPMV (2).
  14. Install the brake pipe (1) to the BPMV (2).
  15. Notice: Refer to Fastener Notice in the Preface section.


    Object Number: 1946005  Size: SH

    Important: Hold the brake pipe union (1) with a suitable tool whilst connecting the brake pipe fitting (2) to prevent damage to the brake pipe (3).

  16. Tighten the brake pipe (1) to the brake pipe union (2).
  17. Tighten
    Tighten the brake pipe fitting to 15 N·m (11 lb ft).


    Object Number: 1946257  Size: SH
  18. Tighten the brake pipe (1) to the BPMV (2).
  19. Tighten
    Tighten the brake pipe fitting to 15 N·m (11 lb ft).

  20. Install the rear subframe. Refer to Rear Frame Replacement

  21. Object Number: 1946038  Size: SH
  22. Install the brake and fuel pipe splash shield (2) to the underbody.
  23. Install the brake and fuel pipe splash shield to chassis retaining nuts (1).
  24. Tighten
    Tighten the nuts to 5 N·m (43 lb in).

  25. Lower the vehicle.

  26. Object Number: 1946261  Size: SH
  27. Install the brake and fuel pipe heat shield (3).
  28. Attach the brake and fuel pipe heat shield clips (1).
  29. Install NEW brake and fuel pipe protector shield to bulkhead retaining rivets (2).
  30. Install the brake and fuel pipe protector shield to bulkhead retaining bolt (4).
  31. Install the engine. Refer to Engine Replacement for 3.6L or Engine Replacement for 6.0L.
  32. Install the front heat shield. Refer to Exhaust Front Heat Shield Replacement
  33. Bleed the hydraulic brake system. Refer to Hydraulic Brake System Bleeding

Rear Brake Pipe Removal Procedure - Right

    Caution: Refer to Safety Glasses Caution in the Preface section.

    Caution: Refer to Vehicle Lifting Caution in the Preface section.

    Caution: Refer to Brake Dust Caution in the Preface section.

    Caution: Refer to Brake Fluid Caution in the Preface section.

    Caution: Refer to Brake Fluid Irritant Caution in the Preface section.

    Notice: Refer to Adding Fluid to the Brake System Notice in the Preface section.

    Notice: Refer to Brake Fluid Effects on Paint and Electrical Components Notice in the Preface section.

  1. Clean the master cylinder, brake lines and reservoir cap.
  2. Place a clean suitable container under the BPMV and master cylinder.
  3. Remove the master cylinder reservoir cap.

  4. Object Number: 1943734  Size: SH
  5. Siphon the brake fluid out of the master cylinder reservoir (2) using the J 23738-A (1)

  6. Object Number: 1946358  Size: SH
  7. Disconnect the brake pipe (1) from the BPMV (2).
  8. Important: Install a rubber cap or plug to the BPMV (2) in order to prevent fluid loss and contamination.

  9. Plug the BPMV (2).

  10. Object Number: 1946352  Size: SH
  11. Detach the brake pipe (1) from the locating clip (2).
  12. Raise and support the vehicle. Refer to Lifting and Jacking the Vehicle

  13. Object Number: 1946038  Size: SH
  14. Remove the brake and fuel pipe splash shield to chassis retaining nuts (1).
  15. Remove the brake and fuel pipe splash shield (2).
  16. Remove the front heat shield. Refer to Exhaust Front Heat Shield Replacement
  17. Remove the engine. Refer to Engine Replacement for 3.6L or Engine Replacement for 6.0L.

  18. Object Number: 1946261  Size: SH

    Important: The brake and fuel pipe heat shield (3) is retained by rivets (2). These rivets (2) must be drilled out during removal and replaced as per the installation procedure.

  19. Remove the brake and fuel pipe heat shield to bulkhead retaining rivets (2).
  20. Remove the brake and fuel pipe heat shield to bulkhead retaining bolt (4).
  21. Detach the brake and fuel pipe heat shield clips (1).
  22. Remove the brake and fuel pipe heat shield (2).

  23. Object Number: 1945989  Size: SH

    Important: Hold the brake hose (3) with a suitable whilst disconnecting the brake pipe fitting (1) to prevent damage to the brake pipe (2).

  24. Disconnect the brake pipe fitting (1) from the brake hose (3).
  25. Important: Install a rubber cap or plug to the brake hose (3) in order to prevent brake fluid loss and contamination.

  26. Plug the brake hose (3).

  27. Object Number: 1946054  Size: SH

    Important: The brake and fuel pipe retaining brackets (2) are retained by rivets (3). These rivets (3) must be drilled out during removal and replaced as per the installation procedure.

  28. Remove the brake and fuel pipe retaining bracket to chassis retaining rivets (3).
  29. Remove the brake and fuel pipe retaining brackets (2).
  30. Remove the brake pipes (4) from the brake and fuel pipe retaining bracket rubber insulators (1).

  31. Object Number: 1946061  Size: SH

    Important: Use a suitable tool to open the brake and fuel pipe retaining brackets (1) by detaching the brake and fuel pipe retaining bracket (1) clip.

  32. Open the brake and fuel pipe retaining brackets (1).
  33. Remove the brake pipes (3) from the brake and fuel pipe retaining bracket rubber insulators (2).
  34. Remove the brake pipe from the vehicle.

Rear Brake Pipe Installation Procedure - Right


    Object Number: 1946061  Size: SH
  1. Install the brake pipes (3) to the brake and fuel pipe retaining bracket rubber insulators (2).
  2. Close the brake and fuel pipe retaining brackets (1).

  3. Object Number: 1946054  Size: SH
  4. Install the brake pipes (4) to the two brake and fuel pipe retaining bracket rubber insulators (1).
  5. Install the two brake and fuel pipe retaining brackets (2).
  6. Install the NEW brake and fuel pipe retaining bracket to chassis retaining rivets (3).

  7. Object Number: 1945989  Size: SH
  8. Remove the rubber cap or plug from the brake hose (3).
  9. Connect the brake pipe fitting (1) to the brake hose (3).
  10. Do not fully tighten at this stage.

  11. Lower the vehicle.

  12. Object Number: 1946352  Size: SH
  13. Attach the brake pipe (1) to the locating clip (2).

  14. Object Number: 1946358  Size: SH
  15. Remove the rubber cap or plug from the BPMV  (2).
  16. Install the brake pipe (1) to the BPMV (2).
  17. Do not fully tighten at this stage.

    Notice: Refer to Fastener Notice in the Preface section.


    Object Number: 1945989  Size: SH

    Important: Hold the brake hose (3) with a suitable tool whilst connecting the brake pipe fitting (1) to prevent damage to the brake pipe (2).

  18. Tighten the brake pipe fitting (1) to the brake hose (3).
  19. Tighten
    Tighten the brake pipe fitting to 15 Nm (11 lb ft).


    Object Number: 1946358  Size: SH
  20. Tighten the brake pipe (1) to the BPMV (2).
  21. Tighten
    Tighten the brake pipe fitting to 15 Nm (11 lb ft).

  22. Raise the vehicle.

  23. Object Number: 1946038  Size: SH
  24. Install the brake and fuel pipe splash shield (2) to the underbody.
  25. Install the brake and fuel pipe splash shield to chassis retaining nuts (1).
  26. Tighten
    Tighten the nuts to 5 Nm (43 lb in).


    Object Number: 1946261  Size: SH
  27. Install the brake and fuel pipe heat shield (3).
  28. Attach the brake and fuel pipe heat shield clips (1).
  29. Install NEW brake and fuel pipe heat shield to bulkhead retaining rivets (2).
  30. Install the brake and fuel pipe heat shield to bulkhead retaining bolt (4).
  31. Install the engine. Refer to Engine Replacement for 3.6L or Engine Replacement for 6.0L.
  32. Install the front heat shield. Refer to Exhaust Front Heat Shield Replacement
  33. Lower the vehicle.

  34. Object Number: 1946261  Size: SH
  35. Install the brake and fuel pipe heat shield (3).
  36. Attach the brake and fuel pipe heat shield clips (1).
  37. Install NEW brake and fuel pipe heat shield to bulkhead retaining rivets (2).
  38. Install the brake and fuel pipe heat shield to bulkhead retaining bolt (4).
  39. Bleed the hydraulic brake system. Refer to Hydraulic Brake System Bleeding

Rear Brake Pipe Removal Procedure - Left

    Caution: Refer to Safety Glasses Caution in the Preface section.

    Caution: Refer to Vehicle Lifting Caution in the Preface section.

    Caution: Refer to Brake Dust Caution in the Preface section.

    Caution: Refer to Brake Fluid Caution in the Preface section.

    Caution: Refer to Brake Fluid Irritant Caution in the Preface section.

    Notice: Refer to Adding Fluid to the Brake System Notice in the Preface section.

    Notice: Refer to Brake Fluid Effects on Paint and Electrical Components Notice in the Preface section.

  1. Clean the master cylinder, brake lines and reservoir cap.
  2. Remove the master cylinder reservoir cap.

  3. Object Number: 1943734  Size: SH
  4. Siphon the brake fluid out of the master cylinder reservoir (2) using the J 23738-A (1)
  5. Remove the rear suspension sub frame assembly. Refer to Rear Frame Replacement

  6. Object Number: 1946057  Size: SH
  7. Place a clean suitable container under the brake pipe union (3).
  8. Important: Hold the brake pipe union (3) with a suitable tool whilst disconnecting the brake pipe fitting (2) to prevent damage to the brake pipe (1).

  9. Disconnect the intermediate brake pipe (1) from the brake pipe union (3).
  10. Important: Install a rubber cap or plug to the brake pipe union (3) in order to prevent brake fluid loss and/or contamination.

  11. Plug the brake pipe union (3).

  12. Object Number: 1945992  Size: SH

    Important: Hold the brake hose (2) with a suitable tool whilst disconnecting the brake pipe fitting (1) to prevent damage to the brake pipe (3).

  13. Disconnect the brake pipe fitting (1) from the brake hose (2).
  14. Important: Install a rubber cap or plug to the brake hose fitting end in order to prevent brake fluid loss and contamination.

  15. Plug the brake hose (2).

  16. Object Number: 1946064  Size: SH
  17. Remove the brake pipe (1) from the brake pipe retaining clips (2).

Rear Brake Pipe Installation Procedure - Left

    Caution: Refer to Safety Glasses Caution in the Preface section.

    Caution: Refer to Vehicle Lifting Caution in the Preface section.

    Caution: Refer to Brake Dust Caution in the Preface section.

    Caution: Refer to Brake Fluid Caution in the Preface section.

    Caution: Refer to Brake Fluid Irritant Caution in the Preface section.

    Notice: Refer to Adding Fluid to the Brake System Notice in the Preface section.

    Notice: Refer to Brake Fluid Effects on Paint and Electrical Components Notice in the Preface section.


    Object Number: 1946064  Size: SH
  1. Install the brake pipe (1) to the brake pipe retaining clips (2).

  2. Object Number: 1945992  Size: SH
  3. Remove the rubber cap or plug from the brake hose (2).
  4. Connect the brake pipe fitting (1) to the brake hose (3).
  5. Do not fully tighten at this stage.


    Object Number: 1946057  Size: SH
  6. Remove the rubber cap or plug from the brake pipe union (2).
  7. Connect the brake pipe (1) to the brake pipe union (2).
  8. Do not fully tighten at this stage.

    Notice: Refer to Fastener Notice in the Preface section.


    Object Number: 1945992  Size: SH

    Important: Hold the brake hose (2) with a suitable tool whilst connecting the brake pipe fitting (1) to prevent damage to the brake pipe (3).

  9. Tighten the brake pipe fitting (1) to the brake hose (3).
  10. Tighten
    Tighten the brake pipe fitting to 15 Nm (11 lb ft).


    Object Number: 1946057  Size: SH

    Important: Hold the brake pipe union (2) with a suitable tool whilst connecting the brake pipe fitting (3) to prevent damage to the brake pipe (2).

  11. Tighten the brake pipe (1) to the brake pipe union (2).
  12. Tighten
    Tighten the brake pipe fitting to 15 Nm (11 lb ft).

  13. Install the rear suspension sub frame assembly. Refer to Rear Frame Replacement
  14. Bleed the hydraulic brake system. Refer to Hydraulic Brake System Bleeding