GM Service Manual Online
For 1990-2009 cars only

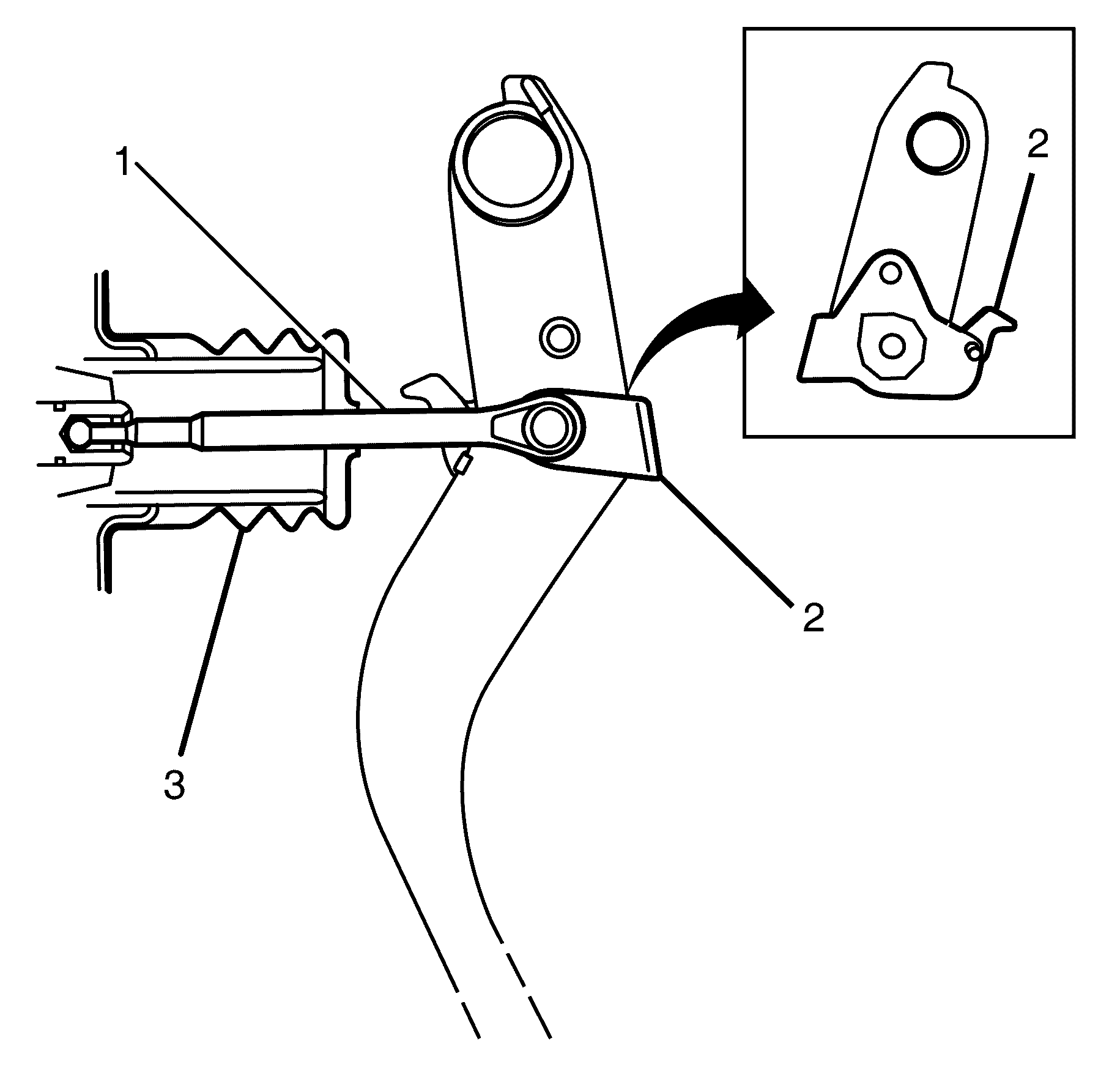
Brake Pedal Pushrod Inspection LHD


    Object Number: 1945959  Size: SH
  1. Disconnect the brake pedal pushrod (1) from the brake pedal. Refer to Brake Pedal Assembly Replacement.
  2. Inspect the brake pedal pushrod eyelet bushing (2), for cracks and/or greater than desired wear.
  3. Reposition the pedal pushrod boot (3) toward the front of the vehicle to expose as much of the pedal pushrod (1) as possible.
  4. Inspect the brake pedal pushrod (1) for straightness.
  5. If the brake pedal pushrod eyelet bushing (2) exhibited cracks and/or greater than desired wear, then the bushing requires replacement.
  6. If the brake pedal pushrod (1) is not straight, then the pushrod requires replacement.
  7. Return the pedal pushrod boot (3) to its original position on the pedal pushrod (1).
  8. Connect the brake pedal pushrod (1) to the brake pedal. Refer to Brake Pedal Assembly Replacement.

Brake Pedal Pushrod Inspection RHD


    Object Number: 1945959  Size: SH
  1. Disconnect the brake pedal pushrod (1) from the brake pedal. Refer to Brake Pedal Assembly Replacement.
  2. Inspect the brake pedal pushrod eyelet bushing (2), for cracks and/or greater than desired wear.
  3. Reposition the pedal pushrod boot (3) toward the front of the vehicle to expose as much of the pedal pushrod (1) as possible.
  4. Inspect the brake pedal pushrod (1) for straightness.
  5. If the brake pedal pushrod eyelet bushing (2) exhibited cracks and/or greater than desired wear, then the bushing requires replacement.
  6. If the brake pedal pushrod (1) is not straight, then the pushrod requires replacement.
  7. Return the pedal pushrod boot (3) to its original position on the pedal pushrod (1).
  8. Connect the brake pedal pushrod (1) to the brake pedal. Refer to Brake Pedal Assembly Replacement.