GM Service Manual Online
For 1990-2009 cars only

Extension Housing Removal

Tools Required

    • J 3289-20 Holding Fixture
    • J 44395 Transmission Holding Fixture

    Caution: Refer to Vehicle Lifting Caution in the Preface section.

    Caution: Refer to Safety Glasses Caution in the Preface section.

  1. Remove the transmission from the vehicle. Refer to Transmission Replacement .
  2. Remove the concentric actuator from the transmission. Refer to Clutch Concentric Actuator Cylinder Replacement .

  3. Object Number: 1955677  Size: SH
  4. Remove the clutch housing to transmission retaining bolts (1).
  5. Remove the clutch housing from the transmission.

  6. Object Number: 1956949  Size: SH
  7. Install the J 44395  (3).
  8. Install the J 44395 to transmission retaining bolts (2) and tighten until firm.
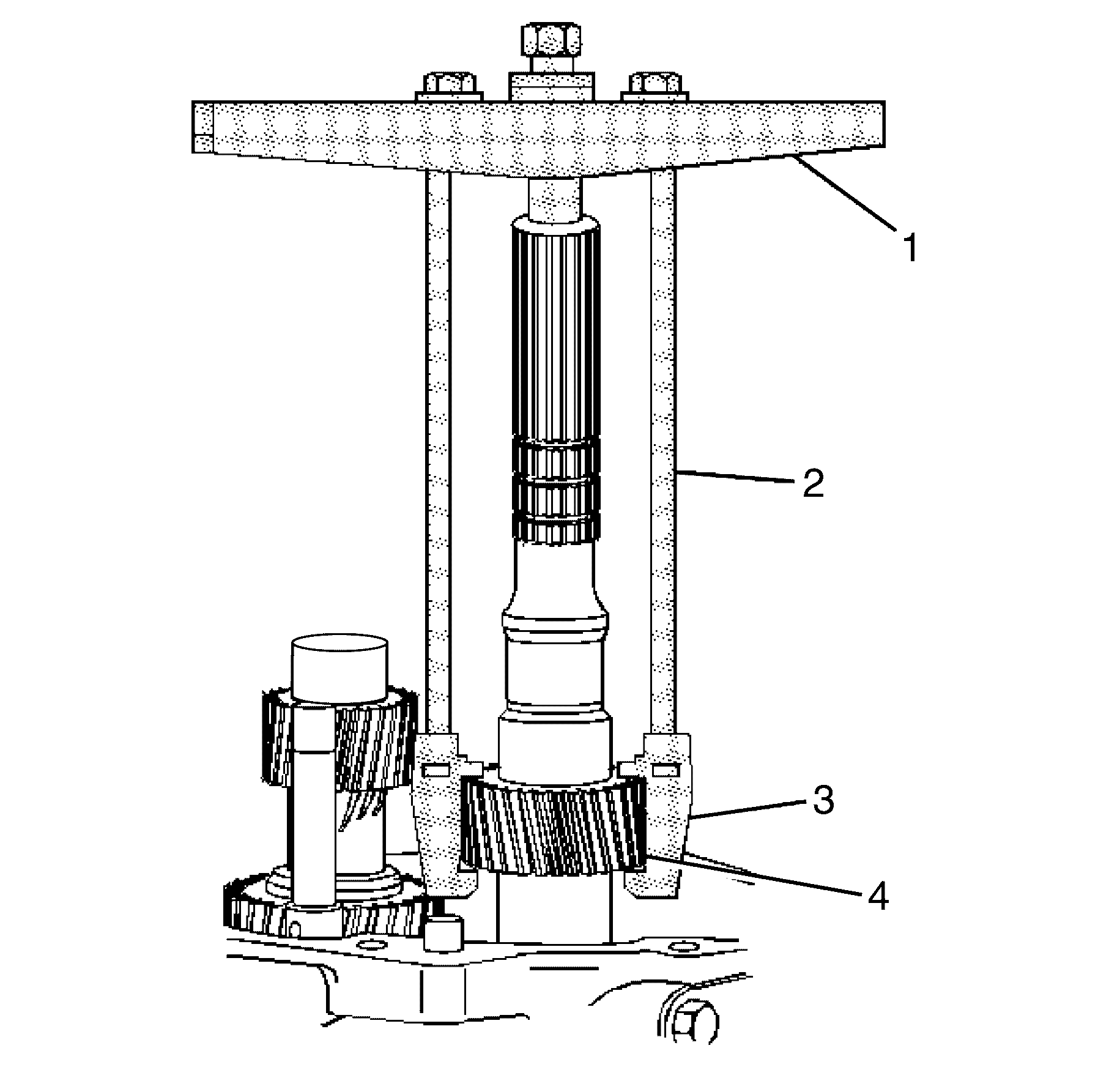
  9. Mount the transmission on a workbench using the J 3289-20  (1).
  10. Rotate the transmission into a horizontal position.
  11. Remove the transmission drain plug and drain the transmission fluid.
  12. Shift the transmission into NEUTRAL (N).

  13. Object Number: 1957014  Size: SH
  14. Remove the transmission vent tube to transmission case retaining bolt (1).
  15. Remove the transmission vent tube from the vent pipe.

  16. Object Number: 1957011  Size: SH
  17. Disconnect the reverse lockout solenoid electrical connector (3).
  18. Important: DO NOT damage the reverse lockout solenoid electrical connector (3).

  19. Remove the reverse lockout solenoid to transmission extension housing retaining screw (2).
  20. Remove the reverse lockout solenoid (1) from the transmission extension housing.

  21. Object Number: 1956950  Size: SH
  22. Remove the shifter cover plate to transmission retaining bolts (2).
  23. Remove the shifter cover plate (1) from the transmission (3).

  24. Object Number: 1955627  Size: SH
  25. Install the J 45012  (3) to the drive flange (2).
  26. Install the J 45012 to drive flange retaining bolts (4) and nuts (1) and tighten until firm.

  27. Object Number: 1956985  Size: SH
  28. While holding the J 45012  (5), remove the flange retaining nut (2) using the J 29873  (1) from the flange (4).
  29. Discard the nut.

  30. Remove the drive flange thrust washer (3).

  31. Object Number: 1955627  Size: SH
  32. Remove the J 45012 to drive flange retaining bolts (4) and nuts (1).
  33. Remove the J 45012  (3) from the drive flange (2).

  34. Object Number: 1956984  Size: SH
  35. Install the J 45019  (2) to the drive flange (4).
  36. Remove the drive flange (1) using the J 45019 J 45019 (2).

  37. Install the J 45019 to drive flange retaining bolts (1), spacers (3) and nuts (5) and tighten until firm.
  38. Remove the drive flange (4) using the J 45019 J 45019 (2).

  39. Object Number: 1956993  Size: SH
  40. Remove the rear extension housing to transmission case retaining bolts (1).
  41. Remove the rear extension housing (2).

Reverse Speed Gear Removal


    Object Number: 1956978  Size: SH
  1. Roll the shift guide rollpins (3).
  2. Remove the shift guide (2).
  3. Remove the shift shaft extension (1).

  4. Object Number: 1955678  Size: SH
  5. Remove the mainshaft snap ring (1) from the mainshaft (5).
  6. Remove the mainshaft spacer (2) from the mainshaft (5).
  7. Remove the mainshaft rear roller bearing (3) from the mainshaft (5).
  8. Remove the mainshaft spacer (4) from the mainshaft (5).

  9. Object Number: 1955679  Size: SH
  10. Remove the mainshaft snap ring (1) from the mainshaft (7).
  11. Remove the reverse gear thrust washer (2) from the mainshaft (7).
  12. Remove the reverse gear (3) from the mainshaft (7).
  13. Remove the reverse gear caged needle bearing (4) from the mainshaft (7).
  14. Remove the wave washer (5) from the mainshaft (7).
  15. Remove the reverse gear synchronizer blocking ring (6) from the mainshaft (7).

Reverse Shift Fork Removal


    Object Number: 1955680  Size: SH
  1. Remove the reverse synchronizer retainer ring (1).

  2. Object Number: 1955681  Size: SH
  3. Remove the reverse shift fork to shift rail snap ring (1) .

  4. Object Number: 1955683  Size: SH
  5. Scribe a mark on the synchronizer hub and on the sleeve. This will help you to reinstall the parts in the same position.

  6. Object Number: 1955699  Size: SH
  7. Remove the following parts in order:
  8. 4.1. The thrust washer (1)
    4.2. The reverse synchronizer assembly (2) and the shift fork (3)

5th/6th Speed Driven Gear Removal

Tools Required

    • J 8433 Universal Bridge Puller
    • J 39431 Gear Remover and Bolts

Object Number: 1955701  Size: SH

Remove the 5th/6th speed driven gear (4) from the mainshaft. Use the J 8433  (1), the J 39431  (2) and the J 39431  (3).

Countershaft Gear Removal

Tools Required

J 25031-A Three Jaw Puller


    Object Number: 1956951  Size: SH
  1. Remove the reverse shift shaft pin (1) and collar (2).

  2. Object Number: 1956952  Size: SH
  3. Remove the countershaft retainer clip (1).

  4. Object Number: 1956953  Size: SH
  5. Attach the J 8433  (2) , the J 39431  (3) and the J 39431-4 (1).

  6. Object Number: 1956954  Size: SH
  7. Remove the countershaft gear (1).

  8. Object Number: 1956955  Size: SH
  9. Remove the countershaft retainer (1) and spacer (2).

  10. Object Number: 1956956  Size: SH
  11. Remove the 5th gear (1) from the countershaft (2).

  12. Object Number: 1956957  Size: SH
  13. Remove the needle bearing (1) from the countershaft (2).

  14. Object Number: 1956958  Size: SH
  15. Remove the 5th/6th speed shift fork retainer ring (1).

  16. Object Number: 1956959  Size: SH
  17. Remove the spacer (1) from the countershaft (2).

  18. Object Number: 1956960  Size: SH
  19. Remove the retainer clip (1) from the countershaft (2).

  20. Object Number: 1956961  Size: SH
  21. Remove the 5th/6th shift fork (6), synchronizer sleeve (5), speed drive gear synchronizer blocking ring (4), speed drive gear friction cone (3), speed drive gear inner cone (2), speed drive gear thrust washer (1).

  22. Object Number: 1956962  Size: SH
  23. Install the J 25031-A  (1) to the synchronizer hub assembly (2).

  24. Object Number: 1956963  Size: SH
  25. Remove the synchronizer hub assembly (1).

  26. Object Number: 1956964  Size: SH
  27. Remove the 5th/6th speed drive gear synchronizer blocking ring (1), speed drive gear friction cone (2), speed drive gear inner cone (3) and speed drive gear thrust washer (4).

  28. Object Number: 1956965  Size: SH
  29. Remove the 6th drive gear (1), caged needle bearing (2), and spacer (3) from the countershaft (4).

Transmission Case Removal


    Object Number: 1955705  Size: SH
  1. Remove the shift detent assembly (1).

  2. Object Number: 1956966  Size: SH
  3. Remove the shift detent plug (1), spring (2) and ball (3).

  4. Object Number: 1956967  Size: SH
  5. Remove 9 of the 11 adapter plate to transmission case bolts (1).
  6. Rotate the transmission into the vertical position.

  7. Object Number: 1956968  Size: SH
  8. Remove the last 2 adapter plate to transmission case bolts (2).
  9. Remove the shift lever guide bolts (1).

  10. Object Number: 1956969  Size: SH
  11. Remove the magnets (1) from the transmission case (2).

  12. Object Number: 1955708  Size: SH
  13. Remove the transmission case and the offset lever together as follows:
  14. 8.1. Slide the transmission case (1) up and off of the gear clusters and the shift shaft components.
    8.2. Hold the offset lever against the guide plate in order to prevent the release of the detent ball and the spring.
    8.3. Remove the offset lever from the transmission case.

Guide Plate Removal


    Object Number: 1955710  Size: SH
  1. Remove the detent guide plate retaining bolts (1).
  2. Remove the detent guide plate (2).

Reverse Lockout Assembly Disassemble

    Caution: Refer to General Repair Instructions in the Preface section.


    Object Number: 1955713  Size: SH
  1. Remove the O-ring (1) from the body (8).
  2. Remove the retainer ring (2) from the body (8).
  3. Remove the reverse lockout inner spring (7).
  4. Compress the reverse lockout plunger (3) and the collar (5) in a vise and remove the retainer ring (6).
  5. Remove the reverse lockout plunger (3).
  6. Remove the reverse lockout outer spring (4).
  7. Remove the reverse lockout collar (5).

Shift Shaft Assemblies and Gear Cluster Removal


    Object Number: 1956970  Size: SH
  1. Rotate the 5th/6th and the reverse shift shaft levers off the shift interlock plate.
  2. Remove the 5th/6th and the reverse shift shaft assembly (1) from the adapter plate (2).

  3. Object Number: 1956971  Size: SH
  4. Remove the countershaft (1) from the adapter plate (3). Lift up the mainshaft (2) enough in order to remove the countershaft (1).

  5. Object Number: 1955715  Size: SH
  6. Remove the mainshaft and the shift shaft components as an assembly (1) from the adapter plate.
  7. Important: When removing the shift shaft be careful not to lose the dowel pin.

  8. Remove the shift shaft assembly from the mainshaft.

  9. Object Number: 1955724  Size: SH
  10. Remove the input shaft (1) from the adapter plate (2).