Instrument Cluster Trim Panel Replacement SWB
Removal Procedure
- Remove the upper instrument cluster trim panel to
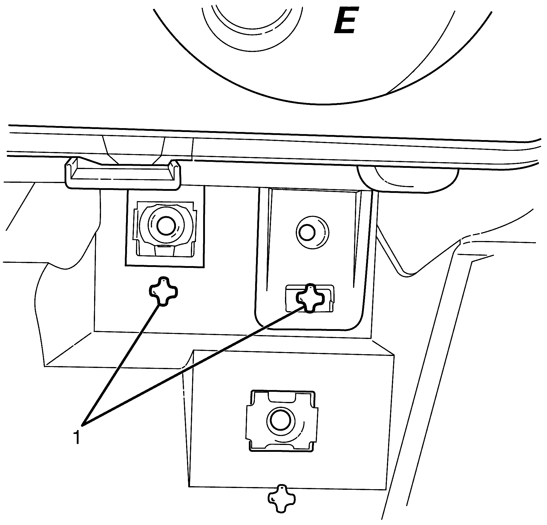
I/P trim pad retaining screws (1).
- Remove the lower instrument cluster to I/P pad retaining
screws (1), located on either side of the instrument cluster trim panel.
- Using a suitable tool, carefully remove the top of the trim panel toward
the steering wheel.
- Remove the instrument cluster trim panel.
Installation Procedure
- When installing the instrument cluster trim panel,
make sure the locating lugs (1) are correctly located.
- Install the instrument cluster trim panel.
Notice: Refer to Fastener Notice in the Preface section.
- Install the lower instrument cluster trim panel to I/P pad retaining screws
(1).
Tighten
Tighten the screws (1) to 2 N·m (18 lb in).
Notice: Refer to Fastener Notice in the Preface section.
- Install the upper instrument cluster trim panel to I/P trim pad retaining screws
(1).
Tighten
Tighten the screws (1) to 2 N·m (18 lb in).
Instrument Cluster Trim Panel Replacement LWB
Removal Procedure
Important: Note original position of the steering wheel
and column assembly with regards to steering wheel height and reach.
- Release the steering column tilt lever.
Fully lower the steering
wheel and column assembly.
- Remove the instrument cluster trim panel to instrument
panel retaining screws (1).
- Depress the top of the instrument cluster trim panel slightly and tilt
out of the instrument panel, disengaging the retaining clips (2) each side.
- Disengage the retaining lugs (3) from the instrument panel.
- Remove the instrument cluster trim panel.
Installation Procedure
- Install the instrument cluster trim panel.
- Engage the retaining lugs (3) into the instrument panel.
- Engage the instrument cluster trim panel retaining clips (2).
- Install the instrument cluster trim panel to instrument panel retaining
screws (1).